
Operating
Daily Operating Checklist
o Test safety systems.
o Check tire pressure.
o Check fuel level.
o Check engine oil level.
o Remove grass and debris from machine.
o Clean air intake screen.
o Check area below machine for leaks.
Avoid Damage to Plastic and Painted Surfaces
· Do not wipe plastic parts unless rinsed first.
· Insect repellent spray may damage plastic and painted surfaces. Do not spray insect repellent near machine.
· Be careful not to spill fuel on machine. Fuel may damage surface. Wipe up spilled fuel immediately.
· Prolonged exposure to sunlight will damage the hood surface.
Operator Station Controls
MX7697
A - Throttle/Choke Lever
B - Service Reminder/Hour Meter
C - Mechanical PTO Lever
D - Cruise Control Lever (On Automatic/Foot Control Models Only); Storage Retainer (On Gear Model Only)
E - Key Switch
F - Reverse Implement Option Switch
MX7694
A - Park Brake Lock Lever
B - Brake/Clutch Pedal
MX7696
Picture Note: Automatic/Foot Control Models Only
A - Forward Travel Pedal
B - Reverse Travel Pedal
MX10503
Picture Note: Gear Model Only
A - Transmission Shift Lever
MX7695
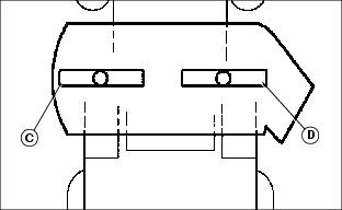
A - Attachment Lift Lever
B - Mower Deck Height Reminder Tab
MX7698
A - Seat Adjustment Lever
Miscellaneous Controls
MX10513
A - Mower Deck Leveling Bracket
MX7695
A - Fuel Level Window
MX7691
A - Free-Wheeling Lever (Automatic/Foot Control Models)
Miscellaneous Accessories
MX7692
A - Front and Rear CargO Mount System
MX10524
A - Glove Storage Pocket
Adjusting Seat
MX7698
1. Sit in seat.
2. Lift up on bracket (A).
3. Lean forward and slide seat forward or rearward to desired position. Do not lean back on seat to push rearward.
4. Release bracket to lock in position.
Adjusting Cutting Height
Cutting height can be adjusted from approximately 25-100 mm (1-4 in.). When mower deck is in transport position, cutting height is approximately 100 mm (4 in.).
Mower Setting
|
Approximate Cutting Height
|
1
|
25 mm (1 in.)
|
-
|
38 mm (1 1/2 in.)
|
2
|
50 mm (2 in.)
|
-
|
65 mm (2 1/2 in.)
|
3
|
75 mm (3 in.)
|
-
|
90 mm (3 1/2 in.)
|
4 (Transport)
|
100 mm (4 in.)
|
MX7695
1. Put attachment lift lever (A) into the slot adjacent to desired cutting height.
· Slide the height reminder tab (B) to the desired cutting height for the next time you mow.
2. Adjust mower deck wheels.
Adjusting Mower Deck Wheels
c CAUTION: Avoid injury! Rotating blades are dangerous. Before adjusting or servicing mower:
· Disconnect spark plug wire(s) to prevent engine from starting accidently.
· Always wear gloves when handling mower blades or working near blades.
|
IMPORTANT: Avoid damage! The mower deck can be damaged if mower wheels are adjusted wrong:
· Wheels must not ride on ground supporting mower weight.
· Check wheel adjustment each time cutting height is changed.
|
1. Park machine safely. (See Parking Safely in the SAFETY section.)
2. Inflate tires to the correct pressure.
3. Lower mower deck to the desired mowing position.
NOTE: Bottom of wheels should be approximately 3-13 mm (1/8-1/2 in.) from the ground.
MX10509
4. Check mower wheel position. Remove bolt (A), bushing (B), and nut (C) and move mower wheels to proper hole.
M92897 mif
A - 38 mm (1.5-In.)
B - 51 mm (2-In.)
C - 64 mm (2.5-In.)
D - 76 mm (3-In.) and above
5. Install bolts, bushings and nuts to lock wheels in position. Tighten nuts to 34 N·m (25 lb-ft).
Checking Mower Level
c CAUTION: Avoid injury! Rotating blades are dangerous. Before adjusting or servicing mower:
· Disconnect spark plug wire(s) to prevent engine from starting accidently.
· Always wear gloves when handling mower blades or working near blades.
|
NOTE: Mower wheels should not contact the ground when leveling the deck.
1. Park machine safely. (See Parking Safely in the SAFETY section.)
2. Inflate tires to the correct pressure.
3. Move mower lift handle to preferred cutting height.
4. Measure mower level (side-to-side).
MX4871
Picture Note: A convenient leveling gauge (A) (AM130907) is available from your John Deere dealer.
a. Position mower blades as follows and measure from each outside blade tip (B) to the level surface.
MX4896
Picture Note: 42 (3 in 1) shown.
b. Turn left blade (C) as shown. Hold drive belt and turn right blade (D) as shown. Take measurement for both blades.
The difference between blade measurements must not be more than 3 mm (1/8 in.).
c. Adjust mower level, if necessary.
5. Measure mower level (front-to-rear).
MX4896a
a. Turn right blade (E) so blade tip points straight forward.
b. Measure from blade tip to the surface. Take measurement for both blades.
The front blade tip must be 3-6 mm (1/8 -1/4 in.) lower than rear blade tip.
c. Adjust mower level, if necessary.
Adjusting Mower Level
c CAUTION: Avoid injury! Rotating blades are dangerous. Before adjusting or servicing mower:
· Disconnect spark plug wire(s) to prevent engine from starting accidently.
· Always wear gloves when handling mower blades or working near blades.
|
NOTE: Mower wheels should not contact the ground when leveling the deck.
1. Make sure machine is on a flat level surface.
2. Raise mower deck to highest position.
MX7674; MX7674b
Picture Note: 42 (3 in 1) used for illustration.
3. Place a straight 2x4 piece of wood (A) or a 38 mm (1.5 in.) thick block under the edge (B) of each side of mower deck.
· Shims can be added, on both sides, between block of wood and mower deck edge to obtain a specific deck height, if desired.
4. Put mower lift handle in the lowest position, bringing deck down onto blocks.
5. Check that blocks are positioned under each edge. Make sure blocks do not interfere with gage wheels.
6. Check that there is no tension on the front draft arm. If necessary, loosen adjusting nut (C) on front draft arm so front of deck rests on wood blocks.
7. Loosen leveling nut (D), one on each side, and make sure bolts and leveling brackets slide freely in slots.
8. Raise lift handle to highest position and then lower back down to 25 mm (1 in.) cutting height to position the deck and brackets.
9. Apply slight pressure on leveling brackets (E), one on each side, by pulling down to remove slack in linkage. Tighten nuts (D), one on each side, to 55 N·m (40 ft-lbs).
10. Turn adjusting nut (C) on front draft arm clockwise until deck begins to raise off wood blocks.
11. Set preferred cutting height.
12. Check front-to-rear mower level again and adjust if necessary.
MX10529
Picture Note: 42 (3 in 1) shown.
· Turn front adjusting nut (C) clockwise to raise front of mower deck or counterclockwise to lower front of mower deck.
Testing Safety Systems
c CAUTION: Avoid injury! Engine exhaust fumes contain carbon monoxide and can cause serious illness or death.
Move the vehicle to an outside area before running the engine.
Do not run an engine in an enclosed area without adequate ventilation.
· Connect a pipe extension to the engine exhaust pipe to direct the exhaust fumes out of the area.
· Allow fresh outside air into the work area to clear the exhaust fumes out.
|
Use the following checkout procedure to check for normal operation of machine.
If there is a malfunction during one of these procedures, Do not operate machine. See your John Deere dealer for service.
Perform these tests in a clear open area. Keep bystanders away.
Testing Park Brake Switch
1. Park machine safely. (See Parking Safely in the SAFETY Section.)
2. Sit on seat.
MX7694
3. Unlock the park brake (A).
4. Try to start engine.
Result: Engine must not start. If engine starts, there is a problem with your safety interlock circuit.
Testing Park Brake
1. Park machine safely. (See Parking Safely in the SAFETY Section.)
MX7694
2. Lock the park brake (A).
3. Put transmission in neutral. Engage free-wheeling lever on units with an automatic transmission.
4. Try to push machine manually.
Result: Park brake must prevent machine from moving. If machine moves, parking brake needs to be adjusted.
Testing PTO Switch
1. Park machine safely. (See Parking Safely in the SAFETY Section.)
2. Sit on seat.
MX7697
3. Lock the park brake (A).
4. Engage PTO lever (B).
5. Try to start engine.
Result: Engine must not start. If engine starts, there is a problem with your safety interlock circuit.
Testing Seat Switch
1. Park machine safely. (See Parking Safely in the SAFETY Section.)
2. First test:
a. Start engine.
MX7697
b. Move throttle lever (A) up to maximum engine speed.
c. Unlock park brake and release brake pedal (B).
d. Engage PTO (C).
e. Raise up off seat. Do not get off tractor.
Result: Engine and mower blades should begin to stop. If engine and mower blades do not begin to stop, there is a problem with your safety interlock circuit.
3. Second test:
MX7697
a. Disengage PTO (C).
b. Start engine.
c. Unlock park brake and release brake pedal (B).
d. Raise up off seat. Do not get off tractor.
Result: Engine should begin to stop. If engine does not begin to stop, there is a problem with your safety interlock circuit.
4. Third test:
MX7697
a. Disengage PTO (C).
b. Start engine.
c. Lock park brake.
d. Raise up off seat. Do not get off tractor.
Result: Engine should continue to run. If engine stops, there is a problem with your safety interlock circuit.
Testing Reverse Implement Option (RIO)
1. Park machine safely. (See Parking Safely in the SAFETY Section.)
2. Start engine.
3. Engage PTO to start attachment.
c CAUTION: Avoid injury! Rotating blades are dangerous. Children or bystanders may be injured by runover and rotating blades.
Before backing up, carefully check the area around the machine.
|
4. Look behind the vehicle to be sure there are no bystanders.
5. Begin reverse travel by depressing reverse foot pedal for Automatic transmission or moving gear shift lever to R (reverse) position for Gear transmission.
Result: Mower and engine should stop operation. If mower or engine continues to operate as tractor begins travel in reverse, do not continue to operate mower.
Using the Park Brake
c CAUTION: Avoid injury! Children or bystanders may attempt to move or operate an unattended machine.
Always lock the park brake and remove the key before leaving the machine unattended.
|
Locking park brake:
MX7694
1. Push and hold brake pedal (A) down.
2. Pull park brake lever (B) up to lock park brake.
3. Release brake pedal. Pedal should stay down and park brake lever should stay locked.
Unlocking park brake:
1. Push and hold brake pedal down.
2. Push park brake lever down to unlock park brake.
3. Release brake pedal.
Using Fuel Gauge
MX7695
Check fuel level at fuel window (A).
Using the Service Reminder
NOTE: Service hours will continue to run and service intervals will be wrong if key is not returned to STOP position.
MX7697
· The service reminder (A) shows the number of hours the engine has run and will indicate that service is necessary for the engine (B) or the mower (C). Follow the service timetable on the maintenance schedule located under the seat and the SERVICE INTERVALS section.
· Turn the key to STOP position when not using the machine. The hours will continue to increase if the key is left in the on or run position but, will automatically shut off after two hours.
Starting the Engine
c CAUTION: Avoid injury! Engine exhaust fumes contain carbon monoxide and can cause serious illness or death.
Move the vehicle to an outside area before running the engine.
Do not run an engine in an enclosed area without adequate ventilation.
· Connect a pipe extension to the engine exhaust pipe to direct the exhaust fumes out of the area.
· Allow fresh outside air into the work area to clear the exhaust fumes out.
|
1. Sit in seat.
2. Disengage mower blades.
3. Lock the park brake.
4. Put transmission in neutral.
5. Check starting conditions:
MX7697
· If engine is cold: Move throttle/choke lever (A) up to the choke position.
· If engine is warm: Move throttle lever to the half-speed position.
IMPORTANT: Avoid damage! Starter may be damaged if starter is operated for more than 20 seconds at a time:
· Wait two minutes before trying again if engine does not start.
|
M94336a
6. Turn key to start position (B) for no more than five seconds.
7. Release key to run position (C) when engine starts.
· If engine does not start, wait 10 seconds.
· Turn key to start position again for no longer than 5 seconds.
· Repeat procedure if necessary.
IMPORTANT: Avoid damage! Unnecessary engine idling may cause engine damage. Excessive idling can cause engine overheating, carbon build-up, and poor performance.
|
8. Let engine run at half-speed position for a couple of minutes to warm-up before operating machine.
Idling Engine
IMPORTANT: Avoid damage! Unnecessary engine idling may cause engine damage. Excessive idling can cause engine overheating, carbon build-up, and poor performance.
|
MX10526
Picture Note: Model 17.542 used for photo purposes.
Engine is air cooled and needs a large volume of air to keep cool. Keep air intake screen (A) on top of engine clean.
Stopping the Engine
MX7697
1. Move throttle lever (A) to slow position and let engine run at low throttle a few seconds.
M94336a
2. Turn key to STOP position (B). Engine will stop and headlights will turn off.
3. Remove key.
4. Lock the park brake.
Using Headlights
M94336a
A - STOP Position
B - Headlights On Position
C - Run Position
D - Start Position
Engine Off
NOTE: Headlights will drain the battery rapidly if key switch is left in headlights on position (B) with the engine off.
· To turn headlights on, turn key switch to headlights on position (B).
· To turn headlights off, turn key switch to STOP position (A).
Engine On
· To turn headlights on, start engine, then turn key switch from run position (C) to headlights on position (B).
· To turn headlights off, turn key switch from headlights on position (B) to run position (C).
Using Travel Controls on Gear Transmission
c CAUTION: Avoid injury! Children or bystanders may be injured by runover and rotating blades. Before traveling forward or rearward:
· Carefully check the area around the machine.
· Disengage the mower before backing up.
|
IMPORTANT: Avoid damage! Stop machine movement before shifting between reverse and forward to prevent transmission damage.
|
Travel Forward
MX7694
1. Push brake/clutch pedal (A) all the way down to stop machine.
MX10502
2. Move transmission shift lever (B) to desired travel speed.
3. Release brake/clutch pedal slowly.
Travel in Reverse
MX7697
1. Push brake/clutch pedal (A) all the way down.
NOTE: Any operating attachment and the engine will stop as the gear shift lever is moved to R (reverse) with attachment engaged.
2. Pull PTO lever (C) back to the off position to disengage attachment.
3. Look behind the machine to be sure there are no bystanders nearby.
MX10503
4. Move shift lever (B) to R (reverse) position.
5. Release brake/clutch pedal slowly.
Emergency Stopping
Push down brake/clutch pedal.
Using Travel Controls on Automatic Transmission
c CAUTION: Avoid injury! Children or bystanders may be injured by runover and rotating blades. Before traveling forward or rearward:
· Carefully check the area around the machine.
· Disengage the mower before backing up.
|
Travel Forward
MX7696
· Push down the forward travel pedal (A).
Travel in Reverse
NOTE: Any operating attachment and the engine will stop as the reverse foot pedal is depressed with attachment engaged.
MX7697
1. Pull PTO lever (B) back to the off position.
2. Look behind the machine to be sure there are no bystanders nearby.
MX10530
3. Touch the reverse travel pedal (C) with front of foot and slide foot over pedal from front to rear.
Emergency Stopping
· Push down brake pedal.
Using The Reverse Implement Option (RIO)
c CAUTION: Avoid injury! Rotating blades are dangerous. Children or bystanders may be injured by runover and rotating blades.
Before backing up, carefully check the area around the machine.
|
NOTE: Backing up while the mower is engaged is strongly discouraged. The Reverse Implement Option should be used only when operating another attachment or when the operator deems it necessary to reposition the machine with the mower engaged.
1. Stop forward travel.
2. Look behind the machine to be sure there are no bystanders.
MX7697
3. Push and hold in the reverse implement switch (A) while depressing reverse foot pedal slightly for Automatic Transmission or moving the gear shift lever to the R (reverse) position for Gear Transmission.
NOTE: If the engine and mower stop while repositioning the machine, return the PTO lever/switch to the off position. Start engine and engage mower. Begin again with Step 2.
4. Release the reverse implement switch and reposition the machine as the machine begins to move rearward.
5. Resume forward travel. The mower should continue operating.
6. Repeat procedure to position the machine again.
Using Cruise Control (On Models 1642 and 17.542 Only)
c CAUTION: Avoid injury! Do not use cruise control when going down hills. Machine speed will increase. Operate machine in a large, open area to learn how the cruise control works.
|
Use cruise control when you want to maintain travel speed without having to hold the forward travel pedal down. Cruise control operates only for forward travel.
Engage Cruise Control
MX7696
1. Push forward pedal down until you reach desired travel speed.
2. Pull lever (A) up and release forward pedal to lock the cruise control.
Disengage Cruise Control
· Depress brake pedal, tap on forward pedal or push cruise control lever down to the off position.
Using Mower Lift Lever
MX7695
Transporting or Getting On and Off Machine
· Pull lift lever (A) all the way back to transport position or 100 mm (4 in.) cutting height.
Mowing
· Push attachment lift lever (A) forward into the slot adjacent to the desired cutting height.
· Slide the mower deck height reminder tab (B) to the desired cutting height for the next time you mow.
Using Mower
c CAUTION: Avoid injury! Stay clear of rotating drivelines
:
· Entanglement in rotating driveline can cause serious injury or death.
· Wear close fitting clothing.
· Stop the engine and be sure PTO driveline is stopped before getting near it.
· Make sure that all shields are installed and used properly.
|
1. Start engine and run at half speed for a couple of minutes to warm up.
2. Lower mower to desired cutting height position.
MX7697
3. Push PTO lever (A) forward to engage mower.
4. Push throttle lever (B) up to the full throttle position.
NOTE: The mower and engine will stop as the reverse foot pedal is depressed for Automatic Transmission or when the gear shift lever is moved to the R (reverse) position for Gear Transmission with mower engaged.
5. Disengage mower blades before moving in reverse.
Pushing Machine
c CAUTION: Avoid injury! With the free-wheeling valve open, the machine will have unrestricted motion.
· The machine may free-wheel out of control if the free-wheeling valve is opened with the machine on an incline.
· Park the machine on a level surface before opening the free-wheeling valve.
|
IMPORTANT: Avoid damage! Transmission damage may occur if the machine is towed or moved incorrectly:
· Move unit by hand only.
· Do not use another vehicle to move unit.
· Do not tow unit.
|
1. Unlock the park brake.
2. Put transmission in N (neutral).
MX7691
3. On Automatic Models: Pull out on free-wheeling lever (A).
4. Push machine to desired location.
IMPORTANT: Avoid damage! The transmission might be damaged if the free-wheeling lever is not pushed back in completely before attempting to start the engine. Do not start or operate the machine with the free-wheeling lever pulled out.
|
5. On Automatic Models: Push free-wheeling lever back in.
Unplugging Mower or Optional Bagger
c CAUTION: Avoid injury! Rotating blades are dangerous:
· Park the machine safely and lock the park brake before getting off the seat.
· Turn the mower off.
· Stop the engine.
|
Before getting off the seat:
1. Stop machine.
2. Disengage mower blades.
3. Move throttle lever to slow position.
4. Lower mower to the ground.
5. Lock the park brake.
6. Stop the engine.
7. Remove the key.
8. Wait for all moving parts to stop.
Transporting Machine on Trailer
Be sure trailer has all the necessary lights and signs required by law.
c CAUTION: Avoid injury! Use extra care when loading or unloading the machine onto a trailer or truck.
· Park trailer on a level surface.
· Use of a trailer with sides is recommended.
· Keep wheels away from drop-offs and edges.
· Back slowly and in a straight line.
|
IMPORTANT: Avoid damage! Transmission damage may occur if the machine is towed or moved incorrectly:
· Move unit by hand only.
· Do not use another vehicle to move unit.
· Do not tow unit.
|
1. Park trailer on a level surface.
2. Drive forward onto heavy-duty trailer with sides.
3. Lower mower to trailer deck.
4. Lock park brake.
5. Fasten tractor to trailer with heavy-duty straps, chains, or cables. Both front and rear straps must be directed down and outward from tractor.
6. Strap down hood.
Using Mulch Cover
c CAUTION: Avoid injury! Rotating blades are dangerous. Before adjusting or servicing mower:
· Disconnect spark plug wire(s) to prevent engine from starting accidently.
· Always wear gloves when handling mower blades or working near blades.
|
Side Discharge
1. Disconnect hooks from slot and wheel bracket and remove mulch cover when side discharge is preferred.
2. Make sure the correct blades are installed for maximum side discharge operation.
Mulching
MX8868
1. Raise discharge chute (A) and metal deflector (B).
2. Install mulch cover (C) onto mower deck. Mulch cover lip (D) must be seated in mower deck groove.
3. Hook mulch cover to slot (E) on left side and wheel bracket hole (F).
4. Lower discharge chute and metal deflector.
5. Make sure the correct blades are installed for maximum mulching operation.
Using CargO Mount System
MX7692
The front and rear CargO Mount System brackets (A) can be used for easy attachment of selected optional equipment.
Use John Deere approved optional equipment only. See your Authorized Service Center for approved optional equipment.
Using Storage Accessories
MX10524
· Use the storage pocket (A) for small items such as gloves.
MX10528
· On Gear Model Only: Use the storage retainer (B) to hold an electronic device such as garage door opener.
Using Weights
c CAUTION: Avoid injury! The machine may become unstable when operating on slopes and/or with some attachments.
Use front weights or rear weights to improve stability when operating on slopes or using attachments.
Remove weights when not required.
|
· Install front weights for added stability and steering control when you use equipment such as the rear-mounted grass bagger.
· Install rear weights when using the snow blade or snowblower.
· Remove weights when not required.
Using Tire Chains
Tire chains are recommended for use with snowblower and snow blade.
See your Authorized Service Center for tire chains.
Mowing Tips
The following recommendations will produce the best lawn cut quality and appearance:
· Keep mower blades sharp. Dull blades will tear grass; tips of grass will then turn brown.
· Cutting grass too short may kill grass and let weeds grow easily.
· Adjust cutting height to remove only 1/3 of the grass at a time.
· Mow grass often. Short grass clippings will decay quickly.
· Mow with engine at full throttle.
· Adjust travel speed to match mowing conditions:
· Travel at slow speed when you mow thick, tall grass, make sharp turns, trim around objects, or when mulching.
· Travel at moderate speed when you mow thin grass.
· Use a different mowing pattern each time you mow. Overlap mowing paths 50 to 100 mm (2 to 4 in).
· Drive over ridges and through shallow ditches straight-on, not at an angle.
· A thick layer of mulched leaves can prevent sunlight from getting to grass and smother it. Taller grass heights allow mulched leaves to dispense easier in lawn. Mulch leaves several times if needed.
· Use a thatcher in late spring or summer to pull up dead grass and aerate ground.
|