
Operating
Daily Operating Checklist
o Test safety systems.
o Check tire pressure.
o Check fuel level.
o Check engine oil level.
o Remove grass and debris from engine compartment and muffler area, before and after operating machine.
o Clean air intake screen.
o Check area below machine for leaks.
Avoid Damage to Plastic and Painted Surfaces
· Do not wipe plastic parts unless rinsed first.
· Insect repellent spray may damage plastic and painted surfaces. Do not spray insect repellent near machine.
· Be careful not to spill fuel on machine. Fuel may damage surface. Wipe up spilled fuel immediately.
· Prolonged exposure to sunlight will damage the hood surface.
Operator Station Controls
MX7697b
Picture Note: Console on Models L100 and L108
A - Throttle/Choke Lever
B - Mechanical PTO Lever
C - Storage Retainer
D - Key Switch
E - Reverse Implement Option (RIO) Switch
MX16534b
Picture Note: Console on Models L111 and L118
A - Throttle Lever
B - Choke Lever
C - Service Reminder/Hour Meter
D - Mechanical PTO Lever
E - Cruise Control Lever
F - Key Switch
G - Reverse Implement Option (RIO) Switch
MX10501
Picture Note: Console on Models L120 and L130
A - Throttle Lever
B - Choke Lever
C - Service Reminder/Hour Meter
D - Electric PTO Switch
E - Cruise Control Lever
F - Key Switch
G - Reverse Implement Option (RIO) Switch
MX7694Y
A - Park Brake Lock Lever
B - Brake/Clutch Pedal
MX7696
Picture Note: Automatic/Foot Control Models Only
A - Forward Travel Pedal
B - Reverse Travel Pedal
MX10503
Picture Note: Gear Model Only
A - Transmission Shift Lever
MX7695
A - Attachment Lift Lever
B - Mower Deck Height Reminder Tab
MX7698
A - Seat Adjustment Lever
Miscellaneous Controls
MX10513Y
A - Mower Deck Leveling Bracket
MX7695
A - Fuel Level Window
MX7691
A - Free-Wheeling Lever (Foot Control Models)
MX7696
A - Power Port (On Models L120 and L130)
Miscellaneous Accessories
MX7694
A - Front and Rear CargO Mount System
MX10524
A - Glove Storage Pocket
Adjusting Seat
MX7698
1. Sit in seat.
2. Lift up on bracket (A).
3. Lean forward and slide seat forward or rearward to desired position. Do not lean back on top of seat to push rearward.
4. Release bracket to lock in position.
Adjusting Cutting Height
Cutting height can be adjusted from approximately 25-100 mm (1-4 in.). When mower deck is in transport position, cutting height is approximately 100 mm (4 in.).
Mower Setting
|
Approximate Cutting Height
|
1
|
25 mm (1 in.)
|
-
|
38 mm (1 1/2 in.)
|
2
|
50 mm (2 in.)
|
-
|
65 mm (2 1/2 in.)
|
3
|
75 mm (3 in.)
|
-
|
90 mm (3 1/2 in.)
|
4 (Transport)
|
100 mm (4 in.)
|
MX7695
1. Put attachment lift lever (A) into the slot adjacent to desired cutting height.
· Slide the height reminder tab (B) to the desired cutting height for the next time you mow.
2. Adjust mower deck wheels.
Checking Mower Level
c CAUTION: Avoid injury! Rotating blades are dangerous. Before adjusting or servicing mower:
· Disconnect spark plug wire(s) or battery negative (-) cable to prevent engine from starting accidently.
· Always wear gloves when handling mower blades or working near blades.
|
NOTE: Mower wheels should not contact the ground when leveling the deck.
1. Park machine safely. (See Parking Safely in the SAFETY section.)
2. Inflate tires to the correct pressure.
3. Move mower lift handle to preferred cutting height.
4. Measure mower level (side-to-side).
MX4871
Picture Note: A convenient leveling gauge (A) (AM130907) is available from your dealer.
a. Position mower blades as follows and measure from each outside blade tip (B) to the level surface.
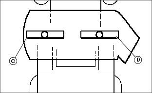
MX4896
b. Turn left blade (C) as shown. Hold drive belt and turn right blade (D) as shown. Take measurement for both blades.
The difference between blade measurements must not be more than 3 mm (1/8 in.).
c. Adjust mower level, if necessary.
5. Measure mower level (front-to-rear).
MX4896a
a. Turn right blade (E) so blade tip points straight forward.
b. Measure from blade tip to the surface. Take measurement for both blades.
The front blade tip must be 3-6 mm (1/8 -1/4 in.) lower than rear blade tip.
c. Adjust mower level, if necessary.
Adjusting Mower Level
c CAUTION: Avoid injury! Rotating blades are dangerous. Before adjusting or servicing mower:
· Disconnect spark plug wire(s) or battery negative (-) cable to prevent engine from starting accidently.
· Always wear gloves when handling mower blades or working near blades.
|
NOTE: Mower wheels should not contact the ground when leveling the deck.
1. Make sure machine is on a flat level surface.
2. Raise mower deck to highest position.
MX7674; MX7674bY
Picture Note: 107 cm (42 in.) used for lower illustration.
3. Place a straight 2x4 piece of wood (A) or a 38 mm (1.5 in.) thick block under the edge (B) of each side of mower deck.
· Shims can be added, on both sides, between block of wood and mower deck edge to obtain a specific deck height, if desired.
4. Put mower lift handle in the lowest position, bringing deck down onto blocks.
5. Check that blocks are positioned under each edge. Make sure blocks do not interfere with gage wheels.
6. Check that there is no tension on the front draft arm. If necessary, loosen adjusting nut (C) on front draft arm so front of deck rests on wood blocks.
7. On 122 cm (48 in.) deck: Remove mower drive belt from the engine drive sheave to release belt tension.
MX7674
8. Loosen leveling nut (D), one on each side, and make sure bolts and leveling brackets (E) slide freely in slots.
9. Raise lift handle to highest position and then lower back down to 25 mm (1 in.) cutting height to position the deck and brackets.
10. Apply slight pressure on leveling brackets (E), one on each side, by pulling down to remove slack in linkage. Tighten nuts (D), one on each side, to 55 N·m (40 ft-lbs).
11. Turn adjusting nut (C) on front draft arm clockwise until deck begins to raise off wood blocks.
12. On 122 cm (48 in.): Put lift lever in the lowest position and install mower drive belt on engine drive sheave.
13. Set preferred cutting height.
14. Check front-to-rear mower level again and adjust if necessary.
MX10529Y
Picture Note: 107 cm (42 in.) shown.
· Turn front adjusting nut (C) clockwise to raise front of mower deck or counterclockwise to lower front of mower deck.
Adjusting Mower Deck Wheels
c CAUTION: Avoid injury! Rotating blades are dangerous. Before adjusting or servicing mower:
· Disconnect spark plug wire(s) or battery negative (-) cable to prevent engine from starting accidently.
· Always wear gloves when handling mower blades or working near blades.
|
IMPORTANT: Avoid damage! The mower deck can be damaged if mower wheels are adjusted wrong:
· Wheels must not ride on ground supporting mower weight.
· Check wheel adjustment each time cutting height is changed.
|
1. Park machine safely. (See Parking Safely in the SAFETY section.)
2. Inflate tires to the correct pressure.
3. Lower mower deck to the desired mowing position.
NOTE: Bottom of wheels should be approximately 3-13 mm (1/8-1/2 in.) from the ground.
MX10509a
4. Check each mower wheel position. Remove nut (A) and bolt (B), and move mower wheel to proper hole.
M92897 mif
A - 38 mm (1.5-In.)
B - 51 mm (2-In.)
C - 64 mm (2.5-In.)
D - 76 mm (3-In.) and above
5. Install bolts and nuts to lock wheels in position. Tighten nuts to 34 N·m (25 lb-ft).
Testing Safety Systems
c CAUTION: Avoid injury! Engine exhaust fumes contain carbon monoxide and can cause serious illness or death.
Do not run an engine in an enclosed area, such as a garage, even with doors or windows opened.
Move the machine to an outside area before running the engine.
|
The safety systems installed on your machine should be checked before each machine use. Be sure you have read the machine operator manual and are completely familiar with the operation of the machine before performing these safety system checks.
Use the following checkout procedures to check for normal operation of machine.
If there is a malfunction during one of these procedures, do not operate machine. See your authorized dealer for service.
Perform these tests in a clear open area. Keep bystanders away.
Testing Park Brake Switch
1. Park machine safely. (See Parking Safely in the SAFETY Section.)
2. Sit on seat.
MX7694Y
3. Unlock the park brake (A).
4. Try to start engine.
Result: Engine must not start. If engine starts, there is a problem with your safety interlock circuit.
Testing Park Brake
1. Park machine safely. (See Parking Safely in the SAFETY Section.)
MX7694Y
2. Lock the park brake (A).
3. Put transmission in neutral. Engage free-wheeling lever on units with an automatic transmission.
4. Try to push machine manually.
Result: Park brake must prevent machine from moving. If machine moves, parking brake needs to be adjusted.
Testing PTO Switch
c CAUTION: Avoid injury! The mower blades should stop in approximately five seconds when the mower or PTO is disengaged.
If you believe that your blades may not be stopping in that period of time, take your machine to your authorized dealer where they can safely check and service your machine.
|
1. Park machine safely. (See Parking Safely in the SAFETY Section.)
2. Sit on seat.
MX10501; MX7697
3. Lock the park brake (A).
4. Engage PTO:
· On models with electric PTO, pull PTO switch (B) up.
· On models with mechanical PTO, push PTO lever (C) forward.
5. Try to start engine.
Result: Engine must not start. If engine starts, there is a problem with your safety interlock circuit.
Testing Seat Switch
1. Park machine safely. (See Parking Safely in the SAFETY Section.)
2. First test:
a. Start engine.
MX7697
Picture Note: Machine with mechanical PTO shown.
b. Move throttle lever (A) up to maximum engine speed.
c. Unlock park brake and release brake pedal (B).
d. Engage PTO (C).
e. Raise up off seat. Do not get off machine.
Result: Engine and mower blades should begin to stop. If engine and mower blades do not begin to stop, there is a problem with your safety interlock circuit.
3. Second test:
MX7697
Picture Note: Machine with mechanical PTO shown.
a. Disengage PTO (C).
b. Start engine.
c. Unlock park brake and release brake pedal (B).
d. Raise up off seat. Do not get off machine.
Result: Engine should begin to stop. If engine does not begin to stop, there is a problem with your safety interlock circuit.
4. Third test:
MX7697
Picture Note: Machine with mechanical PTO shown.
a. Disengage PTO (C).
b. Start engine.
c. Lock park brake.
d. Raise up off seat. Do not get off machine.
Result: Engine should continue to run. If engine stops, there is a problem with your safety interlock circuit.
Testing Reverse Implement Option (RIO)
1. Park machine safely. (See Parking Safely in the SAFETY section.)
2. Start engine.
3. Engage PTO to start attachment.
c CAUTION: Avoid injury! Rotating blades are dangerous. Children or bystanders may be injured by runover and rotating blades.
Before backing up, carefully check the area around the machine.
|
4. Look behind the vehicle to be sure there are no bystanders.
5. Begin reverse travel by depressing reverse foot pedal for automatic transmission or moving gear shift lever to R (reverse) position for gear transmission.
Result: Mower and engine should stop operation. If mower or engine continues to operate as tractor begins travel in reverse, do not continue to operate mower.
Using the Park Brake
c CAUTION: Avoid injury! Children or bystanders may attempt to move or operate an unattended machine.
Always lock the park brake and remove the key before leaving the machine unattended.
|
Locking park brake:
MX7694Y
1. Push and hold brake pedal (A) down.
2. Pull park brake lever (B) up to lock park brake.
3. Release brake pedal. Pedal should stay down and park brake lever should stay locked.
Unlocking park brake:
1. Push and hold brake pedal down.
2. Push park brake lever down to unlock park brake.
3. Release brake pedal.
Using the Fuel Gauge
MX7695
Check fuel level at fuel window (A).
Using the Service Reminder (Models L111, L118, L120 and L130)
NOTE: Service hours will continue to run and service intervals will be wrong if key is not returned to STOP position.
MX7697
· The service reminder (A) shows the number of hours the engine has run and will indicate that service is necessary for the engine (B) or the mower (C). When service is required, the service reminder will flash for two hours. Follow the service timetable on the maintenance schedule located under the seat and the Service Intervals section.
· Turn the key to STOP position when not using the machine.
· Hour meter cannot be reset.
Starting the Engine
IMPORTANT: Avoid damage! The transmission might be damaged if the free-wheeling lever is not pushed back to operating position before attempting to start the engine. Do not start or operate the machine with the free-wheeling lever in the push position.
|
1. On automatic models: Make sure free-wheeling lever (A) is pushed in.
c CAUTION: Avoid injury! Engine exhaust fumes contain carbon monoxide and can cause serious illness or death.
Do not run an engine in an enclosed area, such as a garage, even with doors or windows opened.
Move the machine to an outside area before running the engine.
|
2. Sit in seat.
3. Disengage mower blades. (See Using Mower in the Operating section.)
4. Lock the park brake.
5. Put transmission in neutral.
6. Check starting conditions:
MX10501; MX7697
· If engine is cold:
On Models L111, L118, L120 and L130, move throttle lever (B) to the half-speed position and move choke lever (C) up to the choke position.
On all other models, move throttle/choke lever (D) up to the choke position.
· If engine is warm: Move throttle lever to the half-speed position.
IMPORTANT: Avoid damage! Starter may be damaged if starter is operated for more than 20 seconds at a time:
· Wait two minutes before trying again if engine does not start.
|
M94336a
7. Turn key to start position (E) for no more than five seconds.
8. Release key to run position (F) when engine starts and on models L111, L118, L120 and L130, gradually move choke lever down to the off position.
· If engine does not start, wait 10 seconds.
· Turn key to start position again for no longer than 5 seconds.
· Repeat procedure if necessary.
IMPORTANT: Avoid damage! Unnecessary engine idling can cause engine overheating, carbon build-up, and poor performance.
|
9. Let engine run at half-speed position for a couple of minutes to warm-up before operating machine.
Idling Engine
IMPORTANT: Avoid damage!
Unnecessary engine idling may cause engine damage. Excessive idling can cause engine overheating, carbon build-up, and poor performance.
Do not operate machine with hood open. Hood must be closed for proper engine cooling and exhaust.
|
· Engine is air cooled and needs a large volume of air to keep cool. Keep air intake screen on top of engine clean.
· Keep hood closed when engine is idling.
Stopping the Engine
IMPORTANT: Avoid damage! Do not stop the engine by moving choke control to the choke position. Backfire, fire or engine damage can occur. Follow recommended procedure for stopping engine.
|
MX7697
Picture Note: Model with mechanical PTO used for photo purposes.
1. Move throttle lever (A) to slow position and let engine run at low throttle a few seconds.
M94336a
2. Turn key to STOP position (B). Engine will stop and headlights will turn off.
3. Remove key.
4. Lock the park brake.
Using Headlights
M94336a
A - STOP Position
B - Headlights On Position
C - Run Position
D - Start Position
Engine Off
NOTE: Headlights will drain the battery rapidly if key switch is left in headlights on position (B) with the engine off.
· To turn headlights on, turn key switch to headlights on position (B).
· To turn headlights off, turn key switch to STOP position (A).
Engine On
· To turn headlights on, start engine, then turn key switch from run position (C) to headlights on position (B).
· To turn headlights off, turn key switch from headlights on position (B) to run position (C).
Using Travel Controls on Gear Transmission
c CAUTION: Avoid injury! Children or bystanders may be injured by runover and rotating blades. Before traveling forward or rearward:
· Carefully check the area around the machine.
· Disengage the mower before backing up.
|
IMPORTANT: Avoid damage! Stop machine movement before shifting between reverse and forward to prevent transmission damage.
|
Travel Forward
MX7694Y
1. Push brake/clutch pedal (A) all the way down to stop machine.
MX10502
2. Move transmission shift lever (B) to desired travel speed.
3. Release brake/clutch pedal slowly.
Travel in Reverse
MX7697
1. Push brake/clutch pedal (A) all the way down.
NOTE: Any operating attachment and the engine will stop as the gear shift lever is moved to R (reverse) with attachment engaged.
2. Pull PTO lever (C) back to the off position to disengage attachment.
3. Look behind the machine to be sure there are no bystanders nearby.
MX10503
4. Move shift lever (B) to R (reverse) position.
5. Release brake/clutch pedal slowly.
Emergency Stopping
Push down brake/clutch pedal.
Using Travel Controls on Automatic Transmission
c CAUTION: Avoid injury! Children or bystanders may be injured by runover and rotating blades. Before traveling forward or rearward:
· Carefully check the area around the machine.
· Disengage the mower before backing up.
|
Travel Forward
MX7696
· Push down the forward travel pedal (A).
Travel in Reverse
NOTE: Any operating attachment and the engine will stop as the reverse foot pedal is depressed with attachment engaged.
1. Disengage attachment:
MX7697
· On models with mechanical PTO, pull PTO lever (B) back to the off position.
MX10501
· On models with electric PTO, push PTO switch (C) down to the off position.
2. Look behind the machine to be sure there are no bystanders nearby.
MX10530
3. Touch the reverse travel pedal (D) with front of foot and slide foot over pedal from front to rear.
Emergency Stopping
· Push down brake pedal.
Using The Reverse Implement Option (RIO)
c CAUTION: Avoid injury! Rotating blades are dangerous. Children or bystanders may be injured by runover and rotating blades.
Before backing up, carefully check the area around the machine.
|
NOTE: Backing up while the mower is engaged is strongly discouraged. The Reverse Implement Option should be used only when operating another attachment or when the operator deems it necessary to reposition the machine with the mower engaged.
1. Stop forward travel.
2. Look behind the machine to be sure there are no bystanders.
MX7697Y
3. Push and hold in the reverse implement switch (A) while depressing reverse foot pedal slightly for automatic transmission or moving the gear shift lever to the R (reverse) position for gear transmission.
NOTE: If the engine and mower stop while repositioning the machine, return the PTO lever/switch to the off position. Start engine and engage mower. Begin again with Step 2.
4. Release the reverse implement switch and reposition the machine as the machine begins to move rearward.
5. Resume forward travel. The mower should continue operating.
6. Repeat procedure to position the machine again.
Using Cruise Control (On Models L111, L118, L120 and L130)
c CAUTION: Avoid injury! Do not use cruise control when going down hills. Machine speed will increase. Operate machine in a large, open area to learn how the cruise control works.
|
Use cruise control when you want to maintain travel speed without having to hold the forward travel pedal down. Cruise control operates only for forward travel.
Engage Cruise Control
MX7696
1. Push forward pedal down until you reach desired travel speed.
2. Pull lever (A) up and release forward pedal to lock the cruise control.
Disengage Cruise Control
· Depress brake pedal, tap on forward pedal or push cruise control lever down to the off position.
Using Mower Lift Lever
MX7695
Transporting or Getting On and Off Machine
· Pull lift lever (A) all the way back to transport position or 100 mm (4 in.) cutting height.
Mowing
· Push attachment lift lever (A) forward into the slot adjacent to the desired cutting height.
· Slide the mower deck height reminder tab (B) to the desired cutting height for the next time you mow.
Using Mower
c CAUTION: Avoid injury! Stay clear of rotating drivelines
:
· Entanglement in rotating driveline can cause serious injury or death.
· Keep hands, feet and clothing away.
· Make sure that all shields are installed and used properly.
· Stop the engine and be sure PTO driveline is stopped before getting near it.
|
1. Start engine and run at half speed for a couple of minutes to warm up.
2. Lower mower to desired cutting height position.
MX10501; MX7697
3. Push throttle lever (A) up to the full throttle position.
NOTE: Throttle lever should be at full throttle position before engaging PTO to avoid stalling engine.
4. Engage mower.
· On models with electric PTO: Pull PTO switch (B) up.
· On models with mechanical PTO: Push PTO lever (C) forward.
NOTE: The mower and engine will stop as the reverse foot pedal is depressed for Automatic Transmission or when the gear shift lever is moved to the R (reverse) position for Gear Transmission with mower engaged.
5. Disengage mower blades before moving in reverse.
· Tractors with mechanical PTO: Pull PTO lever back.
· Tractors with electric PTO: Push PTO switch down.
Pushing Machine
c CAUTION: Avoid injury! With the free-wheeling valve open, the machine will have unrestricted motion.
· The machine may free-wheel out of control if the free-wheeling valve is opened with the machine on an incline.
· Park the machine on a level surface before opening the free-wheeling valve.
|
IMPORTANT: Avoid damage! Transmission damage may occur if the machine is towed or moved incorrectly:
· Move machine by hand only.
· Do not use another vehicle to move machine.
· Do not tow machine.
|
1. Unlock the park brake.
2. Put transmission in N (neutral).
MX7691
3. On Automatic Models: Pull out on free-wheeling lever (A).
4. Push machine to desired location.
IMPORTANT: Avoid damage! The transmission might be damaged if the free-wheeling lever is not pushed back to operating position before attempting to start the engine. Do not start or operate the machine with the free-wheeling lever in the push position.
|
5. On Automatic Models: Push free-wheeling lever back in.
Unplugging Mower, Bagger, or Material Collection System
c CAUTION: Avoid injury! Do not attempt to unplug attachment with machine running.
· Rotating blades are dangerous. Shut off the engine and remove the key before getting off the seat to inspect the machine and attachment.
· Thrown objects can cause serious injury. Make sure all machine parts are stopped before raising hopper top or removing chutes.
|
Checking For Plugging While Driving
Check the flow indicator on MCS chute (if equipped) periodically for any indication of loss of air flow.
If grass builds up in front of mower discharge chute, check for plugged chute or problems with blower assembly (if equipped).
If there is a trail of clippings behind mower or clippings blow to the side, check for plugged chute, full collector bags, or problems with blower assembly.
Removing Debris From Inspection Points:
1. Park machine safely. Wait for all moving parts to stop before getting off to inspect machine.
2. Open hopper cover. Check chute outlet.
3. Remove chute from mower deck or blower assembly. Check chute inlet.
4. Check under mower deck for debris.
Transporting Machine on Trailer
Be sure trailer has all the necessary lights and signs required by law.
c CAUTION: Avoid injury! Use extra care when loading or unloading the machine onto a trailer or truck.
· Park trailer on a level surface.
· Use of a trailer with sides is recommended.
· Keep wheels away from drop-offs and edges.
· Back slowly and in a straight line.
· Close fuel shut-off valve, if your machine is equipped.
|
IMPORTANT: Avoid damage! Transmission damage may occur if the machine is towed or moved incorrectly:
· Move machine by hand only.
· Do not use another vehicle to move machine.
· Do not tow machine.
|
1. Park trailer on level surface.
2. Drive machine onto heavy-duty trailer.
3. Lower mower to trailer deck.
4. Lock park brake.
5. Turn off machine and remove key.
6. Fasten lawn tractor to trailer with heavy-duty straps, chains, or cables. Both front and rear straps must be directed down and outward from tractor.
7. Strap down hood.
Using Mulch Cover
c CAUTION: Avoid injury! Rotating blades are dangerous. Before adjusting or servicing mower:
· Disconnect spark plug wire(s) or battery negative (-) cable to prevent engine from starting accidently.
· Always wear gloves when handling mower blades or working near blades.
|
Side Discharge
1. Disconnect hooks from slot and/or wheel brackets and remove mulch cover when side discharge is preferred.
2. Make sure bagger blades are not installed for maximum side discharge operation.
Mulching
MX10441Y
Picture Note: 122 cm (48 in.) used for illustration.
1. Raise discharge chute (A) and metal deflector (B).
MX10440Y; MX8868Y
2. Install mulch cover (C) onto mower deck (D). Mulch cover lip (E) must be seated in mower deck groove.
3. Hook mulch cover to mower deck:
· On 122 cm (48 in.) deck, wheel bracket grooves (F).
· On 107 cm (42 in.) deck, slot (G) on left side and wheel bracket hole (H).
4. Lower discharge chute and metal deflector.
5. Make sure bagger blades are not installed for maximum mulching operation.
Using the Power Port (If Equipped)
c CAUTION: Avoid injury! Safe operation requires your full attention. Do not wear radio or music headphones while operating machine.
|
MX7696
An electric power port (A) can be used for accessories. See your authorized dealer.
Using CargO Mount System
MX7694
A - Front and Rear CargO Mount System
The front and rear CargO Mount System brackets (A) can be used for easy attachment of selected optional equipment.
Use John Deere approved optional equipment only. See your Authorized Service Center for approved optional equipment.
Using Storage Accessories
MX10524
A - Glove Storage Pocket
· Use the storage pocket (A) for small items such as gloves.
MX10528
· On Models Without Cruise Control: Use the storage retainer (B) to hold an electronic device such as garage door opener.
Using Weights
c CAUTION: Avoid injury! The machine may become unstable when operating on slopes and/or with some attachments.
Use weights to improve stability when operating on slopes or using attachments.
Remove weights when not required.
|
NOTE: See your authorized dealer for recommended weights.
· Install front weights for added stability and steering control when you use equipment such as the rear-mounted grass bagger.
· Install rear weights when using the snow blade or snowblower.
· Remove weights when not required.
Using Tire Chains
IMPORTANT: Avoid damage! Do not use chains with mower deck or tiller.
|
Tire chains are recommended for use with most front attachments. Remove tire chains before installing mower deck.
See your attachment Operator's Manual for tire chain recommendation. See your authorized dealer for the chains.
Mowing Tips
The following recommendations will produce the best lawn cut quality and appearance:
· Keep mower blades sharp. Dull blades will tear grass; tips of grass will then turn brown.
· Cutting grass too short may kill grass and let weeds grow easily.
· Adjust cutting height to remove only 1/3 of the grass at a time.
· Mow grass often. Short grass clippings will decay quickly.
· Mow with engine at full throttle.
· Adjust travel speed to match mowing conditions:
· Travel at slow speed when you mow thick, tall grass, make sharp turns, trim around objects, or when mulching.
· Travel at moderate speed when you mow thin grass.
· Use a different mowing pattern each time you mow. Overlap mowing paths 50 to 100 mm (2 to 4 in).
· Drive over ridges and through shallow ditches straight-on, not at an angle.
· A thick layer of mulched leaves can prevent sunlight from getting to grass and smother it. Taller grass heights allow mulched leaves to dispense easier in lawn. Mulch leaves several times if needed.
· Use a thatcher in late spring or summer to pull up dead grass and aerate ground.
|