
Service
Adjusting Carburetor
NOTE: Carburetor is calibrated by the engine manufacturer and should not require any adjustments.
If engine is operated at altitudes above 1829 m (6,000 ft), some carburetors may require a special high altitude main jet. See your John Deere dealer.
If engine is hard to start or runs rough, check the Troubleshooting section of this manual.
After performing the checks in the troubleshooting section and your engine is still not performing correctly, contact your John Deere dealer.
Avoid Fumes
c CAUTION: Avoid injury! Engine exhaust fumes contain carbon monoxide and can cause serious illness or death.
Do not run an engine in an enclosed area, such as a garage, even with doors or windows opened.
Move the machine to an outside area before running the engine.
|
Engine Oil
Use oil viscosity based on the expected air temperature range during the period between oil changes.
The following John Deere oils are preferred:
· TORQ-GARD SUPREME (SAE30)
The following John Deere oils are also recommended, based on their specified temperature range:
· TURF-GARD
· PLUS- 4
Other oils may be used if above John Deere oils are not available, provided they meet the following specification:
· API Service Classification SG or higher
Checking Engine Oil
1. Park mower on level surface and stop engine.
MX16759
2. Clean area around dipstick (A).
3. Remove dipstick and wipe clean.
4. Install and tighten dipstick.
5. Remove dipstick.
6. Check oil level on dipstick. Oil must be between ADD and FULL marks.
IMPORTANT: Avoid damage! Do not overfill. Overfilling with oil can cause the engine to not start or hard starting. If oil is over the FULL mark on the dipstick, drain oil to reduce oil level in engine.
|
7. If oil level is low, add oil to bring oil level no higher than FULL mark on dipstick. Do not overfill.
8. Install and tighten dipstick.
Changing Engine Oil
NOTE: Be sure the fuel tank is at least half empty before changing the oil. Change oil after mowing or run the engine briefly to lower the fuel in the tank to the appropriate level.
1. Run engine for at least five minutes to warm up oil.
c CAUTION: Avoid injury! Touching hot surfaces can burn skin. The engine, components, and fluids will be hot if the engine has been running. Keep hands and body away from hot surfaces when servicing or working near the engine and components.
|
2. Stop engine and disconnect spark plug wire.
3. Remove dipstick.
IMPORTANT: Avoid damage! To help prevent air cleaner damage and hard starting:
· Turn mower on its left side.
|
4. Place a drain pan on the left side of the mower.
5. Turn mower onto its left side so the fuel tank opening is at the highest point.
6. Drain engine oil from the dipstick filler tube location into the drain pan.
7. After oil has drained, return mower to an upright position and clean around dipstick filler tube.
IMPORTANT: Avoid damage! Do not overfill. Overfilling can cause smoking, hard starting, fouling of spark plug, and oil saturation of air filter.
|
8. Add oil through dipstick filler tube. Check oil level and continue to add oil to FULL mark on dipstick.
9. Install dipstick and connect spark plug wire.
Servicing Air Cleaner Element (JS20 and JS30)
1. Park machine safely. (See Parking Safely in the Safety Section.)
c CAUTION: Avoid injury! Touching hot surfaces can burn skin. The engine, components, and fluids will be hot if the engine has been running. Allow the engine to cool before servicing or working near the engine and components.
|
2. Let engine cool.
3. Disconnect spark plug wire.
4. Clean dirt and debris from the air cleaner cover.
M87083
5. Loosen screw (A) and tilt cover (B) down.
M87084a
6. Inspect the foam precleaner (C). If the foam precleaner is dirty:
a. Remove it from the air cleaner housing.
b. Wash precleaner in a solution of warm water and liquid detergent.
c. Rinse precleaner thoroughly. Squeeze out excess water in a dry cloth until precleaner is completely dry.
IMPORTANT: Avoid damage! Dirt and debris can enter the engine through a damaged filter element.
· Do not wash paper element.
· Do not attempt to clean paper element by tapping against another object.
· Do not use pressurized air to clean element.
· Replace element only if it is very dirty, damaged or the seal is cracked.
|
7. Inspect the paper element (D) without removing it. If the paper element is damaged or dirty, remove and replace it with a new element.
8. Clean air cleaner base carefully, preventing any dirt from falling into carburetor.
9. Install dry foam precleaner and paper element into air cleaner base.
10. Close cover and tighten screw.
Servicing Air Cleaner Element (JS40)
1. Park machine safely. (See Parking Safely in the Safety Section.)
c CAUTION: Avoid injury! Touching hot surfaces can burn skin. The engine, components, and fluids will be hot if the engine has been running. Allow the engine to cool before servicing or working near the engine and components.
|
2. Let engine cool.
3. Disconnect spark plug wire.
4. Clean dirt and debris from the air cleaner cover.
MX22479
5. Loosen screws (A), and remove cover.
MX7425
6. Inspect the foam precleaner (B) without removing it. If the foam precleaner is dirty:
a. Remove it from the filter carefully, leaving the paper element in the air cleaner housing.
b. Wash precleaner in a solution of warm water and liquid detergent.
c. Rinse precleaner thoroughly. Squeeze out excess water in a dry cloth until precleaner is completely dry.
IMPORTANT: Avoid damage! Dirt and debris can enter the engine through a damaged filter element.
· Do not wash paper element.
· Do not attempt to clean paper element by tapping against another object.
· Do not use pressurized air to clean element.
· Replace element only if it is very dirty, damaged or the seal is cracked.
|
7. Inspect the paper element without removing it. If the paper element is damaged or dirty, remove and replace it with a new element.
8. Clean air cleaner base carefully, preventing any dirt from falling into carburetor.
9. Install dry foam precleaner onto paper element and install into air cleaner base.
10. Close cover and tighten screws. Do not overtighten.
Cleaning and Gapping Spark Plug
c CAUTION: Avoid injury! Touching hot surfaces can burn skin. The engine, components, and fluids will be hot if the engine has been running. Allow the engine to cool before servicing or working near the engine and components.
|
1. Disconnect spark plug wire. Remove spark plug.
2. Clean spark plug carefully with a wire brush.
3. Inspect spark plug and replace if damaged.
M85200a
4. Adjust gap.
· Models JS20 and JS30, gap is 0.76 mm (0.030 in.).
· Model JS40, gap is 0.51mm (0.020 in.)
5. Install and tighten plug to 20 N·m (15 lb-ft).
6. Connect spark plug wire.
Cleaning Debris from Engine
IMPORTANT: Avoid damage! The engine can overheat or catch fire if not kept clean of debris. Clean engine of debris after every use.
Do not use water to clean engine. Use brush or dry cloth.
|
1. Park mower on level surface and stop engine.
2. Let engine cool.
3. Disconnect spark plug wire.
MX16759
4. Clean recoil cover (A) with brush or clean rag.
5. Clean area around muffler and under shroud (B).
Adjusting Wheel Drive Control
The wheel drive control has been adjusted at the factory and should not need further adjustment for the life of the mower.
However, if the wheel drive does not fully engage or disengage when operating the mower, an adjustment could be necessary. If adjustment becomes necessary, perform this procedure.
c CAUTION: Avoid injury! Touching hot surfaces can burn skin. The engine, components, and fluids will be hot if the engine has been running. Keep hands and body away from hot surfaces when servicing or working near the engine and components.
|
IMPORTANT: Avoid damage! Damage to transmission can occur if an incorrect adjustment is made to the wheel drive control.
|
1. Park machine safely. (See Parking Safely in the Safety Section.)
2. Let engine cool.
3. Remove rear cover.
To Check Spring Extension
MX22992
Picture Note: Top of transmission. Pulley removed for photo clarity.
1. Disengage the wheel drive control lever.
2. Check that spring (A) on end of wheel drive control cable (B) has no tension.
3. Measure the overall length (C) of unextended spring.
MX22991
4. Engage the wheel drive control lever.
5. Move mower back and forth several times to ensure the clutch is fully engaged.
6. Measure length of extended spring (D).
· Overall spring length (E) should increase by 0.090 - 0.110 in. (3/32 - 7/64 in.).
To Adjust Spring Extension
1. Disengage the wheel drive control lever.
MX22990
Picture Note: Turnbuckle is located on lower end of wheel drive control cable.
2. Adjust extended spring length.
To increase:
· Hold ends of turnbuckle (F) stationary and rotate center of adjustment turnbuckle (G) counterclockwise 1/2 turn.
To decrease:
· Hold ends of turnbuckle (F) stationary and rotate center of adjustment turnbuckle (G) clockwise 1/2 turn.
3. Engage the wheel drive control lever.
4. Check extended spring length and adjust, if necessary.
Removing and Installing Rear Cover
To Remove:
MX16744
1. Unscrew the six self-tapping screws (A).
To Install:
1. Place rear cover in place.
2. Install the six screws.
Adjusting Ground Speed Control
c CAUTION: Avoid injury! Stop engine and wait for all moving parts to stop before doing any service or adjustments on the machine. Disconnect spark plug and wait for all components to cool before working on machine.
|
1. Remove rear cover from machine.
2. Verify if adjustment is needed:
MX22484
· With ground speed control lever in slow position, the drive belt (A) is relaxed and idler spring (B) on end of ground speed control cable has no tension.
MX22484
· With ground speed control lever in fast position, the drive belt (A) is taut and idler spring (B) on end of ground speed control cable is extended approximately 25mm (1 in.).
MX22484
3. To adjust speed control, loosen outer nut (C) on end of ground speed cable. Turn inner nut (D) clockwise or counter-clockwise in half-turn increments until adjustment is correct.
4. Tighten outer nut to inner nut.
Replacing Drive Belt
Removing Drive Belt
c CAUTION: Avoid injury! Stop engine and wait for all moving parts to stop before doing any service or adjustments on the machine. Disconnect spark plug and wait for all components to cool before working on machine.
|
1. Remove the rear cover from the machine.
MX22486
2. Loosen nut (E) securing transmission belt guide, and swing guide back away from transmission pulley.
3. Loosen, but do not remove, nuts (C) securing ground speed idler pulleys to idler plate to ease removal of belt.
4. Remove belt from transmission pulley (D) and from ground speed idler pulley system (F).
5. Turn mower onto its left side.
c CAUTION: Avoid injury! Blades are sharp and can cut. Use caution and wear gloves when handling blades or working near blades.
|
MX22488
6. Loosen, but do not remove, engine mounting bolts (G) securing belt guides. Swing belt guides (H) out away from engine pulley.
7. Pull belt through opening into underside of mower deck housing. Pull belt around mower blade and out from mower deck.
Installing Drive Belt
1. Turn mower on its left side.
2. Place belt around blade and insert through deck opening to back of machine.
MX22489
3. Install belt onto blade sheave (C) and swing both belt guides (B) into place.
· Allow 0.4 mm (1/16 in.) spacing between guides and belt.
· Tighten engine mounting bolts (A) to 54 N·m (40 lb-ft).
MX22487
4. Route belt between ground speed idler pulleys (D) and onto transmission pulley (E) as shown in the illustration.
5. Tighten idler pulley bolts, making sure idler belt guide is aligned as shown.
6. Install transmission belt guide (F).
7. Install rear cover.
Grease
IMPORTANT: Avoid damage! The recommended grease is effective within an average air temperature range of -29 to 135 degrees C (-20 to 275 degrees F).
If operating outside that temperature range, contact your servicing dealer for a special-use grease.
|
Use a general all-purpose grease with an NLGI grade No.2 rating.
Wet or high speed conditions may require use of a special-use grease. Contact your Servicing dealer for information.
Greasing Caster Wheel Spindles (Model JS40)
MX16757
Lubricate grease fitting (A) with recommended grease on two caster wheels.
Servicing Mower Blade
c CAUTION: Avoid injury! Rotating blades are dangerous. Before adjusting or servicing mower:
· Disconnect spark plug wire(s) or battery negative (-) cable to prevent engine from starting accidently.
· Always wear gloves when handling mower blades or working near blades.
|
Removing Mower Blade
IMPORTANT: Avoid damage! To help prevent air cleaner damage and hard starting:
· Turn mower on its left side.
|
NOTE: Be sure the fuel tank is at least half empty before tipping mower on its side.
1. Turn mower onto its left side.
MX22482
2. Remove bolt (A), washer and blade.
3. Inspect blade; sharpen, balance or replace blade as necessary.
Installing Mower Blade
NOTE: Sharpened edges on blade tips must face upward when installing blade.
1. Lubricate bolt threads lightly with a general purpose grease or oil to prevent rusting and seizing.
MX22481
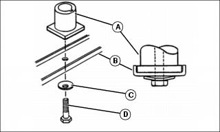
2. Install blade so that blade hub (A) fits between blade flanges (B).
3. Install washer (C) and bolt (D). Make sure washer is installed with cup side to the blade.
4. Tighten bolt to 54 N·m (40 lb-ft).
Sharpening Blades
c CAUTION: Avoid injury! Mower blades are dangerous!
· Always wear gloves while working on blades.
· Always wear safety eye protection when grinding.
|
· Sharpen blades with grinder, hand file, or electric blade sharpener.
MIF
· Keep original bevel (A) when grinding.
· Blade should have 0.40 mm (1/64 in.) cutting edge (B) or less.
· Balance blades before installing.
Balancing Blades
c CAUTION: Avoid injury! Mower blades are sharp. Always wear gloves when handling mower blades or working near blades.
|
1. Clean blade.
M61524
2. Put blade on nail in a vise. Turn blade to horizontal position.
3. Check balance. If blade is not balanced, heavy end of blade will drop.
4. Grind bevel of heavy end. Do not change blade bevel.
Inserting Fuel Stabilizer Cartridge in Fresh Start Fuel Cap
c CAUTION: Avoid injury! Fuel stabilizer is a hazardous chemical and can be harmful or fatal if swallowed. Do not take internally. Avoid contact with eyes. Avoid breathing the chemical vapors.
Read safety instructions on stabilizer container label before using.
Fuel stabilizer contains 2,6-di-tert-butylphenol (128-39-2) and aliphatic petroleum distillate (64742-47-8). In case of emergency, contact a physician immediately and call 1-800-424-9300 for material safety information.
|
NOTE: Your machine may be equipped with a Fresh Start fuel cap that contains a cartridge that contains fuel stabilizer. If equipped, check periodically and replace cartridge when empty.
MX22483
1. Remove Fresh Start fuel cap (A) from fuel tank.
2. Place silver foil seal end of cartridge (B) into opening (C) on bottom side of fuel cap.
3. Press to snap cartridge into place.
4. Remove the white tab to expose membrane (D).
5. Install the fuel cap on fuel tank.
Using Proper Fuel
Use regular grade unleaded fuel with an octane rating of 87 octane or higher. Fuel blends containing up to 10% ethanol or up to 15% MTBE reformulated fuel are acceptable. Do not use fuel or additives containing methanol as engine damage can occur.
Always use fresh, clean fuel that is purchased in a quantity that can be used within approximately 30 days, or add fuel stabilizer.
Fuel is blended to give best seasonal performance. To avoid engine performance problems such as hard starting or vapor lock, use in-season fuel. Use fuel during warm weather that was purchased during that season, and use fuel during cold weather that was purchased during that season.
Fuel can become stale in machines with engines that are used seasonally or infrequently during a season. Stale fuel can produce varnish and plug carburetor components which can affect engine performance.
Keep fuel storage container tightly covered and in a cool area out of direct sunlight. Fuel can break down and degrade if not sealed properly or exposed to sun and heat.
Condensation may collect in the fuel tank because of a variety of operating or environmental conditions and, over time, may affect your machine's operation. Fill fuel tank at the end of daily use and store fuel in plastic containers to reduce condensation.
For best year-round performance and fuel-handling, add stabilizer to fuel immediately after fuel purchase. Such practice helps prevent engine performance problems and allows fuel storage in the machine all year without draining.
Filling Fuel Tank
c CAUTION: Avoid injury! Fuel vapors are explosive and flammable:
· Shut engine off before filling fuel tank.
· Do not smoke while handling fuel.
· Keep fuel away from flames or sparks.
· Fill fuel tank outdoors or in well ventilated area.
· Clean up spilled fuel immediately.
· Use clean approved non-metal container to prevent static electric discharge.
· Use clean approved plastic funnel without screen or filter to prevent static electric discharge.
|
IMPORTANT: Avoid damage! Dirt and water in fuel can cause engine damage:
· Clean dirt and debris from the fuel tank opening.
· Use clean, fresh, stabilized fuel.
· Fill the fuel tank at the end of each day's operation to keep condensation out of the fuel tank.
· Use a non-metallic funnel with a plastic mesh strainer when filling the fuel tank or container.
|
Fill fuel tank at the end of each day's operation to prevent condensation and freezing during cold weather.
1. Park machine safely. (See Parking Safely in the SAFETY section.)
2. Allow engine to cool.
3. Remove any trash from area around fuel tank cap.
4. Remove fuel tank cap slowly to allow any pressure built up in tank to escape.
5. Fill fuel tank only to bottom of filler neck.
6. Install fuel tank cap.
Servicing Battery (JS30)
WARNING: Battery posts, terminals and related accessories contain lead and lead components, chemicals known to the State of California to cause cancer and reproductive harm. Wash hands after handling.
Service the Battery Safely
c CAUTION: Avoid injury! The battery produces a flammable and explosive gas. The battery may explode:
· Do not smoke near battery.
· Wear eye protection and gloves.
· Do not allow direct metal contact across battery posts.
· Remove negative cable first when disconnecting.
· Install negative cable last when connecting.
|
Removing and Installing Battery
· To remove battery:
a. Remove the rear cover from the machine.
MX22490
b. Disconnect black negative battery cable (D).
c. Pull back cover (B) and remove red positive battery cable.
d. Remove nut (A) and bolt (C) and remove battery.
· To install battery:
a. Install battery in tray and secure with hardware.
b. Install red positive battery cable and pull the cover over the terminal.
c. Install black negative battery terminal.
d. Install rear cover on machine.
Charging Battery with Supplied DC Charger
MX22490
1. Disconnect battery at harness connector (A). Install battery charger to harness connector.
2. Plug charger into house wall outlet and charge battery for 48 hours. Charging battery for longer periods of time will not damage battery.
Charging Battery Using Automotive-Type Charger
1. Follow instructions on battery charger to connect charger to battery.
· Slow charge battery at 0.4 amps for 5 to 10 hours.
· Quick charge battery at 4.0 amps for 30 minutes.
|