
Operating
Daily Operating Checklist
o Test safety systems.
o Check tire pressure.
IMPORTANT: Avoid damage! Using stale, contaminated or improper fuel can result in engine and fuel system damage. Repairs caused by stale, contaminated or improper fuel are not covered by warranty.
|
o Check fuel level. (See SERVICE MISCELLANEOUS section, Using Proper Fuel and Stabilizer)
o Check engine oil level.
o Remove grass and debris from engine compartment and muffler area, and on top of mower deck, before and after operating machine.
o Clean air intake screen.
o Check area below machine for leaks.
Avoid Damage to Plastic and Painted Surfaces
• Do not wipe plastic parts unless rinsed first. Using a dry cloth may cause scratches.
• Insect repellent spray may damage plastic and painted surfaces. Do not spray insect repellent near machine.
• Be careful not to spill fuel on machine. Fuel may damage surface. Wipe up spilled fuel immediately.
• Prolonged exposure to sunlight will damage hood surfaces.
Adjusting Seat
1. Sit in seat.
MX46483
2. Lift up on seat adjustment lever (A) on right side of seat.
3. Lean forward and slide seat forward or rearward to desired position. Do not lean back on top of seat to push rearward.
4. Release seat adjustment lever to lock in position.
Lumbar Seat Adjustment (D160, D170)
• Turn lumbar seat adjustment dials (B) on either side of seat to adjust firmness of seat.
Adjusting Cutting Height
Cutting height can be adjusted from approximately 25 - 100 mm (1 - 4 in.) in 6.4 mm (1/4 in.) increments. When mower deck is in transport position, cutting height is approximately 100 mm (4 in.).
Detents allow the adjustment lever to be positioned at each indicated mower setting, as well as the mid-point between each setting.
Mower Setting
|
Approximate Cutting Height
|
1
|
25 mm (1 in.)
|
–
|
38 mm (1 1/2 in.)
|
2
|
50 mm (2 in.)
|
–
|
65 mm (2 1/2 in.)
|
3
|
75 mm (3 in.)
|
–
|
90 mm (3 1/2 in.)
|
4 (Transport)
|
100 mm (4 in.)
|
1. Put attachment lift lever into the slot adjacent to desired cutting height.
2. Adjust mower deck wheels.
Transporting or Getting On and Off Machine
• Pull attachment lift lever all the way back to transport position or 100 mm (4 in.) cutting height.
Checking and Adjusting Mower Deck Level
c CAUTION: Avoid injury! Rotating blades are dangerous. Before adjusting or servicing mower:
• Disconnect spark plug wire(s) or battery negative (-) cable to prevent engine from starting accidently.
• Always wear gloves when handling mower blades or working near blades.
|
NOTE: Mower deck wheels should not contact the ground when leveling the mower deck.
Method One
1. Make sure machine is on a flat, level surface.
2. Park machine safely. (See Parking Safely in the SAFETY section.)
3. Check that tires are inflated to correct tire pressure. Tire pressure is marked on the side of the tire.
M17687a
Picture Note: 107 cm (42 in.) mower deck shown
4. Place three short 51 mm (2 in.) blocks of wood under the edges (A) of the mower deck.
5. Lower mower deck to the 65 mm (2.5 in.) cutting height position.
6. Check that the mower deck is level and lightly touching each of the three wooden blocks.
MX16561
• If the rear of the mower deck is not touching the rear blocks, or is sitting heavily on the blocks, adjust the rear lift links by turning the leveling nut (B) on each lift link. The blocks should be able to easily slide in and out beneath the mower deck when the mower deck is correctly adjusted.
MX10529Y
Picture Note: 107 cm (42 in.) mower deck shown
• If the front of the mower deck is not lightly touching the front block, adjust the front draft arm by turning the nut (C).
7. Raise the cutting height to the next highest position and remove the three wooden blocks.
8. Turn the nut (C) on the front draft arm counterclockwise 1-2 full turns so that the front of the deck is 3-6 mm (1/8-1/4 in.) lower than the rear. This adjustment prevents “double cutting,” which wastes horsepower and causes brown grass tips.
Method Two
NOTE: An optional mower deck leveling gauge (AM130907) is available from your John Deere dealer. It allows for precision mower deck leveling by measuring mower deck level at the blade tips.
1. Make sure machine is on a flat, level surface.
2. Park machine safely. (See Parking Safely in the SAFETY section.)
3. Inflate tires to the correct pressure.
4. Move mower lift handle to preferred cutting height.
5. Measure mower deck level (side-to-side).
MX4871
Picture Note: A convenient leveling gauge (A) (AM130907) is available from your dealer.
a. Position mower blades as follows and measure from each outside blade tip (B) to the level surface.
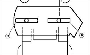
MX4896
b. Turn left blade (C) as shown. Hold drive belt and turn right blade (D) as shown. Take measurement for both blades.
The difference between blade measurements must not be more than 3 mm (1/8 in.).
MX16561
c. Adjust mower deck level, if necessary, by turning rear nuts (E) clockwise to raise the side of the mower deck, or counterclockwise to lower the mower deck.
6. Measure mower level (front-to-rear).
MX4896a
a. Turn right blade (F) so blade tip points straight forward.
b. Measure from blade tip to the surface. Take measurement for both blades.
The front blade tip must be 3–6 mm (1/8 -1/4 in.) lower than rear blade tip.
MX10529Y
Picture Note: 107 cm (42 in.) mower deck shown
c. Adjust mower deck level, if necessary, by turning the nut (G) counterclockwise to lower the front of deck or clockwise to raise front of deck.
Adjusting Mower Deck Wheels
IMPORTANT: Avoid damage! The mower deck can be damaged if mower wheels are adjusted wrong:
• Wheels must not ride on ground supporting mower weight.
• Check wheel adjustment each time cutting height is changed.
|
1. Park machine safely. (See Parking Safely in the SAFETY section.)
2. Inflate tires to the correct pressure.
3. Lower mower deck to the desired mowing position.
NOTE: Bottom of wheels should be approximately 3-13 mm (1/8-1/2 in.) from the ground.
MX10509a
4. Check each mower wheel position. Remove nut (A) and bolt (B), and move mower wheel to proper hole.
MIF
A - 38 mm (1.5-In.)
B - 51 mm (2-In.)
C - 64 mm (2.5-In.)
D - 76 mm (3-In.) and above
5. Install bolts and nuts to lock wheels in position. Tighten nuts to 34 N•m (25 lb-ft).
Testing Safety Systems
c CAUTION: Avoid injury! Engine exhaust fumes contain carbon monoxide and can cause serious illness or death.
Do not run an engine in an enclosed area, such as a garage, even with doors or windows opened.
Move the machine to an outside area before running the engine.
|
The safety systems installed on your machine should be checked before each machine use. Be sure you have read the machine operator manual and are completely familiar with the operation of the machine before performing these safety system checks.
Use the following checkout procedures to check for normal operation of machine.
If there is a malfunction during one of these procedures, do not operate machine. See your authorized dealer for service.
Perform these tests in a clear open area. Keep bystanders away.
Testing Park Brake Switch
1. Park machine safely. (See Parking Safely in the SAFETY Section.)
2. Sit on seat.
3. Unlock the park brake.
4. Try to start engine.
Result: Engine must not start. If engine starts, there is a problem with your safety interlock circuit.
Testing Park Brake
1. Park machine safely. (See Parking Safely in the SAFETY Section.)
2. Lock the park brake.
3. Put transmission in neutral. Engage bypass valve lever located at rear of machine on units with an automatic transmission.
4. Try to push machine manually.
Result: Park brake must prevent machine from moving. If machine moves, parking brake needs to be adjusted.
Testing Attachment Engagement Switch or Lever
c CAUTION: Avoid injury! The mower blades should stop in approximately five seconds when the mower or PTO is disengaged.
If you believe that your blades may not be stopping in that period of time, take your machine to your authorized dealer where they can safely check and service your machine.
|
1. Park machine safely. (See Parking Safely in the SAFETY Section.)
2. Sit on seat.
3. Lock the park brake.
4. Engage mower:
• On models with electric attachment engagement switch, pull switch up.
• On models with mechanical attachment engagement lever, push lever forward.
5. Try to start engine.
Result: Engine must not start. If engine starts, there is a problem with your safety interlock circuit.
Testing Seat Switch
1. Park machine safely. (See Parking Safely in the SAFETY Section.)
2. First test:
a. Start engine.
b. Move throttle lever up to maximum engine speed.
c. Unlock park brake.
d. Engage mower.
e. Raise up off seat. Do not get off machine.
Result: Engine and mower blades should stop. If engine and mower blades do not stop, there is a problem with your safety interlock circuit.
3. Second test:
a. Lock park brake.
b. Disengage mower.
c. Start engine.
d. Unlock park brake.
e. Raise up off seat. Do not get off machine.
Result: Engine should stop. If engine does not stop, there is a problem with your safety interlock circuit.
4. Third test:
a. Disengage mower.
b. Start engine.
c. Lock park brake.
d. Raise up off seat. Do not get off machine.
Result: Engine should continue to run. If engine stops, there is a problem with your safety interlock circuit.
Testing Reverse Implement Option (RIO)
1. Park machine safely. (See Parking Safely in the SAFETY section.)
2. Start engine.
3. Engage attachment engagement switch or lever to start attachment.
c CAUTION: Avoid injury! Rotating blades are dangerous. Children or bystanders may be injured by runover and rotating blades.
Before backing up, carefully check the area around the machine.
|
4. Look behind the vehicle to be sure there are no bystanders.
5. Begin reverse travel by depressing reverse foot pedal for automatic transmission or moving gear shift lever to R (reverse) position for gear transmission.
Result: Attachment and engine should stop operation. If attachment or engine continues to operate as machine begins travel in reverse, do not continue to operate machine.
Using the Park Brake
c CAUTION: Avoid injury! Children or bystanders may attempt to move or operate an unattended machine.
Always lock the park brake and remove the key before leaving the machine unattended.
|
Locking park brake:
1. Push and hold brake pedal down.
2. Pull park brake lever up to lock park brake.
3. Release brake pedal. Pedal should stay down and park brake lever should stay locked.
Unlocking park brake:
1. Push and hold brake pedal down.
2. Push park brake lever down to unlock park brake.
3. Release brake pedal.
Using the Hourmeter and Service Reminder
MX46482
• The hourmeter (A) shows the number of hours the engine has run. The service reminder will indicate that a general lubrication (B) or mower/engine (C) service interval has been reached. When service is required, the service reminder will flash for one hour. Follow the service timetable on the maintenance schedule located under the seat. For specific service procedures, see the Service section of this manual.
• Turn the key to STOP position when not using the machine.
• Hourmeter cannot be reset.
Using Key Switch and Headlights
M94336a
A - STOP Position
B - Headlights On Position
C - Run Position
D - Start Position
Engine Off
NOTE: Headlights will drain the battery rapidly if key switch is left in headlights on position (B) with the engine off.
• To turn headlights on, turn key switch to headlights on position (B).
• To turn headlights off, turn key switch to STOP position (A).
Engine On
• To turn headlights on, start engine, then turn key switch from run position (C) to headlights on position (B).
• To turn headlights off, turn key switch from headlights on position (B) to run position (C).
Starting the Engine
IMPORTANT: Avoid damage! The transmission might be damaged if the bypass valve lever is not pushed back to operating position before attempting to start the engine. Do not start or operate the machine with the bypass valve lever in the push position.
|
1. On automatic models: Make sure bypass valve lever is pushed in.
c CAUTION: Avoid injury! Engine exhaust fumes contain carbon monoxide and can cause serious illness or death.
Do not run an engine in an enclosed area, such as a garage, even with doors or windows opened.
Move the machine to an outside area before running the engine.
|
2. Sit in seat.
3. Make sure mower is disengaged. (See Engaging and Disengaging Mower in the OPERATING section.)
4. Lock the park brake.
5. For gear models, put transmission in neutral.
6. Check starting conditions:
MX46478
• If engine is cold: Move throttle/choke lever (A) up to the choke position.
• If engine is warm: Move throttle/choke lever (A) to the half-speed position.
IMPORTANT: Avoid damage! Starter may be damaged if starter is operated for more than 20 seconds at a time:
• Wait two minutes before trying again if engine does not start.
|
7. Turn key to start position for no more than five seconds.
8. Release key to run position when engine starts, and gradually move choke lever down to the off position.
• If engine does not start, wait 10 seconds.
• Turn key to start position again for no longer than 5 seconds.
• Repeat procedure if necessary.
IMPORTANT: Avoid damage! Unnecessary engine idling may cause engine damage. Excessive idling can cause engine overheating, carbon build-up, and poor performance.
|
9. Let engine run at high idle for a couple of minutes to warm-up before operating machine.
Idling the Engine
IMPORTANT: Avoid damage!
Unnecessary engine idling may cause engine or transmission damage. Excessive idling can cause engine overheating, carbon build-up, and poor performance.
Idling or low throttle operation while mowing, climbing hills, or towing could result in transmission overheating. always operate at full throttle once the engine is warm.
Do not operate machine with hood open. Hood must be closed for proper engine cooling and exhaust.
|
• Engine is air cooled and needs a large volume of air to keep cool. Keep air intake screen on top of engine clean.
• Keep hood closed when engine is idling.
Stopping the Engine
IMPORTANT: Avoid damage! Do not stop the engine by moving choke control to the choke position. Backfire, fire or engine damage can occur. Follow recommended procedure for stopping engine.
|
1. Let engine run at high throttle without load for a few seconds.
2. Turn key to STOP position. Engine will stop and headlights will turn off.
3. Remove key.
4. Lock the park brake.
Using Travel Controls on Gear Transmission
c CAUTION: Avoid injury! Children or bystanders may be injured by runover and rotating blades. Before traveling forward or rearward:
• Carefully check the area around the machine.
• Disengage the mower before backing up.
|
IMPORTANT: Avoid damage! Stop machine movement before shifting between reverse and forward to prevent transmission damage.
|
Travel Forward
MX46481
1. Push brake/clutch pedal (A) all the way down to stop machine.
2. Move transmission shift lever (B) to desired travel speed.
3. Release brake/clutch pedal slowly.
Travel in Reverse
1. Push brake/clutch pedal (A) all the way down.
NOTE: Any operating attachment and the engine will stop as the gear shift lever is moved to R (reverse) with attachment engaged.
2. Pull attachment engagement lever (C) back to the off position to disengage attachment.
3. Look behind the machine to be sure there are no bystanders nearby.
4. Move shift lever (B) to R (reverse) position (D).
5. Release brake/clutch pedal slowly.
Emergency Stopping
Push down brake/clutch pedal.
Using Travel Controls on Automatic Transmission
c CAUTION: Avoid injury! Children or bystanders may be injured by runover and rotating blades. Before traveling forward or rearward:
• Carefully check the area around the machine.
• Disengage the mower before backing up.
|
Travel Forward
MX46484
• Push down the forward travel pedal (A).
Travel in Reverse
NOTE: Any operating attachment and the engine will stop as the reverse foot pedal is pressed with attachment engaged.
1. Disengage attachment:
• On models with mechanical attachment engagement lever (B), pull lever back to the off position.
• On models with electric attachment engagement switch, push switch in location (C) (not shown above) down to the off position.
2. Look behind the machine to be sure there are no bystanders nearby.
3. Touch the reverse travel pedal (D) with front of foot and slide foot over pedal from front to rear.
Emergency Stopping
• Push down brake pedal.
Using The Reverse Implement Option (RIO)
c CAUTION: Avoid injury! Children or bystanders may be injured by runover and rotating blades. Before traveling forward or rearward:
• Carefully check the area around the machine.
• Disengage the mower before backing up.
|
NOTE: Backing up while the mower is engaged is strongly discouraged. The Reverse Implement Option should be used only when operating another attachment or when the operator deems it necessary to reposition the machine with the mower engaged.
1. Stop forward travel.
2. Look behind the machine to be sure there are no bystanders.
MX46484
3. Push and hold in the reverse implement switch (A) while depressing reverse foot pedal slightly for automatic transmission or moving the gear shift lever to the R (reverse) position for gear transmission.
NOTE: If the engine and mower stop while repositioning the machine, return the attachment engagement lever/switch to the off position. Start engine and engage mower. Begin again with Step 2.
4. Release the reverse implement switch and reposition the machine as the machine begins to move rearward.
5. Resume forward travel. The mower should continue operating.
6. Repeat procedure to position the machine again.
Using Cruise Control (D120, D130, D140, D150, D160, D170)
c CAUTION: Avoid injury! Do not use cruise control when going down hills. Machine speed will increase. Operate machine in a large, open area to learn how the cruise control works.
|
Use cruise control when you want to maintain travel speed without having to hold the forward travel pedal down. Cruise control operates only for forward travel.
Engage Cruise Control
1. Push forward pedal down until you reach desired travel speed.
2. Pull cruise control lever up and release forward pedal to lock the cruise control.
Disengage Cruise Control
• Depress brake pedal, tap on forward pedal or push cruise control lever down to the off position.
Engaging and Disengaging Mower
NOTE: Put attachment lift lever in transport position to transport machine or when parking machine.
1. Start engine and run at half speed for a couple of minutes to warm up.
2. Lower mower deck to desired cutting height position.
NOTE: Throttle lever should be at full throttle position before engaging mower to avoid stalling engine.
3. Push throttle lever up to the full throttle position.
4. Engage mower.
• On models with electric attachment engagement switch: Pull switch up.
• On models with mechanical attachment engagement lever: Push lever forward.
NOTE: The mower and engine will stop as the reverse foot pedal is pressed for Automatic Transmission or when the gear shift lever is moved to the R (reverse) position for Gear Transmission with mower engaged.
5. Disengage mower blades before moving in reverse or stopping engine.
• Machines with mechanical attachment engagement lever: Pull lever back.
• Machines with electric attachment engagement switch: Push switch down.
Using Mulch Cover (107 cm (42 in.) and 122 cm (48 in.) Mower Decks (If Equipped)
NOTE: Optional mulch cover must be purchased from dealer.
c CAUTION: Avoid injury! Rotating blades are dangerous. Before adjusting or servicing mower:
• Disconnect spark plug wire(s) or battery negative (-) cable to prevent engine from starting accidently.
• Always wear gloves when handling mower blades or working near blades.
|
NOTE: Remove mulch cover for side discharge operation.
MX10441Y
Picture Note: 122 cm (48 in.) used for illustration.
1. Raise discharge chute (A) and metal deflector (B).
MX10440Y
2. Install mulch cover (C) onto mower deck (D). Mulch cover lip (E) must be seated in mower deck groove.
3. Hook mulch cover to mower deck:
• On 122 cm (48 in.) deck, wheel bracket grooves (F).
MX8868Y
• On 107 cm (42 in.) deck, slot (G) on left side and wheel bracket hole (H).
4. Lower discharge chute and metal deflector.
5. Make sure bagger blades are not installed for maximum mulching operation.
Using Wash Port to Clean Mower Deck
NOTE: Follow this procedure after each use to prevent buildup and remove corrosive lawn chemicals.
1. Park machine safely. (See Parking Safely in the Safety section).
MX38397
2. Attach quick-coupler to garden hose.
3. Attach garden hose with quick-coupler to wash port (A) on the mower deck.
4. Turn on water.
5. Start engine.
6. Run at full throttle.
7. Engage mower blades.
8. Flush water under deck for approximately one minute.
9. Disengage mower blades.
10. Stop engine.
11. Turn off water and remove garden hose and quick-coupler from wash port.
12. Remove quick-coupler from garden hose and store for future use.
Unplugging Mower, Bagger, or Material Collection System
c CAUTION: Avoid injury! Do not attempt to unplug attachment with machine running.
• Rotating blades are dangerous. Shut off the engine and remove the key before getting off the seat to inspect the machine and attachment.
• Thrown objects can cause serious injury. Make sure all machine parts are stopped before raising hopper top or removing chutes.
|
Checking For Plugging While Driving
If grass builds up in front of mower discharge chute, check for plugged chute or problems with blower assembly (if equipped).
If there is a trail of clippings behind mower or clippings blow to the side, check for plugged chute, full collector bags, or problems with blower assembly.
Removing Debris From Inspection Points:
c CAUTION: Avoid injury! Do not use hands or feet to clear plugged mower deck or blower assembly. Stored energy can cause blades to rotate.
|
1. Park machine safely. Wait for all moving parts to stop before getting off to inspect machine.
2. Open hopper cover. Check chute outlet.
3. Remove chute from mower deck or blower assembly. Check chute inlet.
4. Check under mower deck for debris.
Moving Machine by Hand
c CAUTION: Avoid injury! When the bypass valve is open, the machine will have unrestricted motion.
• Do not open the bypass valve when the machine is stopped on an incline to prevent it from going downhill out of control.
|
IMPORTANT: Avoid damage! Transmission damage may occur if the machine is towed or moved incorrectly:
• Move machine by hand only.
• Do not use another vehicle to move machine.
• Do not tow machine.
|
1. Unlock the park brake.
2. Put transmission in N (neutral).
MX16558
3. On Automatic Models: Pull out on bypass valve lever. (A).
4. Push machine to desired location.
IMPORTANT: Avoid damage! The transmission might be damaged if the bypass valve lever is not pushed back to operating position before attempting to start the engine. Do not start or operate the machine with the bypass valve lever in the push position.
|
5. On Automatic Models: Push bypass valve lever back in.
Transporting Machine on Trailer
NOTE: Trailer capacity must exceed combined machine weight and attachment weight. (See Specifications section in operator’s manual.)
Be sure the trailer has all necessary lights and signs required by law.
c CAUTION: Avoid injury! Use extra care when loading or unloading the machine onto a trailer or truck.
• Park trailer on a level surface.
• Use of a trailer with sides is recommended.
• Keep wheels away from drop-offs and edges.
• Back slowly and in a straight line.
• Close fuel shut-off valve, if your machine is equipped.
• Do not secure machine using optional bumper as this can dislodge during transport.
|
IMPORTANT: Avoid damage! Transporting a machine on a trailer or on a truck bed at high speeds can result in hood or engine cover raising and possibly coming off machine if not secured.
• Position machine on trailer so hood or engine cover opens from rear of trailer to prevent wind from blowing hood or cover open.
• Secure hood or engine cover with existing machine locks or latches.
• Secure hood or engine cover with tie down straps if no locks or latches exist.
|
1. Park trailer on a level surface.
2. Raise mower deck, if installed, before driving machine onto trailer.
3. Drive machine onto heavy-duty trailer. Position machine on trailer so hood or engine cover will not raise in wind while being transported.
4. Lower mower deck completely.
5. Lock park brake.
6. Turn off machine and remove key.
MX46861
7. Secure front of machine at both sides of the axle at points (A) to trailer with heavy-duty straps, chains, or cables. Straps must be directed down and outward from machine.
MX43712
8. Secure rear of machine at both sides of the axle at points (B) to trailer with heavy-duty straps, chains, or cables. Straps must be directed down and outward from machine.
9. Secure hood to prevent from lifting while driving.
Using Weights
c CAUTION: Avoid injury! The machine may become unstable when operating on slopes and/or with some attachments.
Use weights to improve stability when operating on slopes or using attachments.
Remove weights when not required.
|
IMPORTANT: Avoid damage! Never use liquid in tires or wheel weights as ballast. Transmission damage can occur.
When rear ballast is needed, use only the approved rear weight bracket and attaching weights.
|
NOTE: See your authorized dealer for recommended weights.
• Install front weights for added stability and steering control when you use equipment such as the rear-mounted grass bagger.
• Install rear weights when using the snow blade or snowblower.
• Remove weights when not required.
Using Tire Chains
IMPORTANT: Avoid damage! Do not use chains with mower deck or tiller.
|
Tire chains are recommended for use with most front attachments. Remove tire chains before installing mower deck.
See your attachment Operator’s Manual for tire chain recommendation. See your authorized dealer for the chains.
Using Accessories
MX46479
Using the Power Port (If Equipped)
c CAUTION: Avoid injury! Safe operation requires your full attention. Do not wear radio or music headphones while operating machine.
|
An electric power port (A) can be used for accessories. See your authorized dealer.
Using CargO Mount System™
The front and rear CargO Mount System™ brackets (B) can be used for easy attachment of selected optional equipment.
Use John Deere approved optional equipment only. See your Authorized Service Center for approved optional equipment.
Using Storage Accessories
MX46942
• On Models Without Cruise Control: Use the storage retainer (C) to hold items such as a garage door opener.
Choosing Mower Blades
Three types of mower blades are available for use with D series mowers.
• 3-N-1 blades. These are general purpose blades that are best suited for side-discharge operation, but can be used with a bagger attachment, or with a mulch cover installed. They are not designed for optimal performance when bagging or mulching.
• Bagger blades. These blades are designed for optimal performance when used with bagger attachments.
• Mulching blades. These blades are designed for optimal performance when used with a mulch cover installed.
Mowing Tips
The following recommendations will produce the best lawn cut quality and appearance:
• Keep mower blades sharp. Dull blades will tear grass; tips of grass will then turn brown.
• Cutting grass too short may kill grass and let weeds grow easily. The suggested finished cut height range is 44 - 70 mm (1.75 - 2.75 in.).
• Adjust cutting height to remove only 1/3 of the grass at a time.
• Do not mow wet grass.
• Mow grass often. Short grass clippings will decay quickly.
• Mow with engine at full throttle.
• Adjust travel speed to match mowing conditions:
• Travel at slow speed when you mow thick, tall grass, make sharp turns or trim around objects.
• Travel at moderate speed when you mow thin grass.
• Use a different mowing pattern each time you mow. Overlap mowing paths 50 - 100 mm (2 - 4 in.).
• Drive over ridges and through shallow ditches straight-on, not at an angle.
MIF
• Mow around the outside twice, then mow inside in straight passes. Best cut is achieved when mowing in a straight line.
• When mowing or mulching near pavement, overlap the pavement by 50 mm (2 in.) to allow clippings to dispense over grass.
• A thick layer of mulched leaves can prevent sunlight from getting to grass and smother it. Taller grass heights allow mulched leaves to dispense easier in lawn. Mulch leaves several times if needed.
• Use a thatcher in late spring or summer to pull up dead grass and aerate ground.
• For Mulching Mower: Shorter cut heights will provide better cut quality, but may leave noticeable clippings. Higher cut heights will reduce clippings, but cut quality may decline.
|