
Service
Adjusting Carburetor
NOTE: Carburetor is calibrated by the engine manufacturer and should not require any adjustments.
If engine is operated at altitudes above 1829 m (6,000 ft), some carburetors may require a special high altitude main jet. See your John Deere dealer.
If engine is hard to start or runs rough, check the Troubleshooting section of this manual.
After performing the checks in the troubleshooting section and your engine is still not performing correctly, contact your John Deere dealer.
Avoid Fumes
c CAUTION: Avoid injury! Engine exhaust fumes contain carbon monoxide and can cause serious illness or death.
Do not run an engine in an enclosed area, such as a garage, even with doors or windows opened.
Move the machine to an outside area before running the engine.
|
Engine Oil
Use oil viscosity based on the expected air temperature range during the period between oil changes.
NOTE: Below 40? F (4? C) the use of SAE30 will result in hard starting. Above 80? F (27? C) the use of 10W-30 may cause increased oil consumption. Check oil level more frequently.
The following John Deere oils are preferred:
• TORQ-GARD SUPREME™ (SAE30)
The following John Deere oils are also recommended, based on their specified temperature range:
• TURF-GARD™
• PLUS- 4™
Other oils may be used if above John Deere oils are not available, provided they meet the following specification:
• API Service Classification SJ or higher
Checking Engine Oil
1. Park machine safely. (See Parking Safely in the Safety Section.)
MX49913
Picture Note: JS28 shown. JS38 similar.
MX27693
Picture Note: JS48 shown.
2. Clean area around dipstick (A or B).
3. Remove dipstick and wipe clean.
4. Install and tighten dipstick.
5. Remove dipstick.
6. Check oil level on dipstick. Oil must be between ADD and FULL marks.
IMPORTANT: Avoid damage! Do not overfill. Overfilling with oil can cause the engine to not start or hard starting. If oil is over the FULL mark on the dipstick, drain oil to reduce oil level in engine.
|
7. If oil level is low, add oil to bring oil level no higher than FULL mark on dipstick. Do not overfill.
8. Install and tighten dipstick.
Changing Engine Oil
NOTE: Be sure the fuel tank is at least half empty before changing the oil. Change oil after mowing or run the engine briefly to lower the fuel in the tank to the appropriate level.
1. Run engine for at least five minutes to warm up oil.
c CAUTION: Avoid injury! Touching hot surfaces can burn skin. The engine, components, and fluids will be hot if the engine has been running. Keep hands and body away from hot surfaces when servicing or working near the engine and components.
|
2. Park machine safely. (See Parking Safely in the Safety Section.)
3. Remove dipstick.
4. Position drain pan and turn mower onto its side to drain engine oil from the dipstick filler tube location into the drain pan.
5. After oil has drained, return mower to an upright position and clean around dipstick filler tube.
IMPORTANT: Avoid damage! Do not overfill. Overfilling can cause smoking, hard starting, fouling of spark plug, and oil saturation of air filter.
|
6. Add oil through dipstick filler tube. Check oil level and continue to add oil to FULL mark on dipstick.
7. Install dipstick and connect spark plug wire.
Servicing Air Cleaner Element
1. Park machine safely. (See Parking Safely in the Safety Section.)
c CAUTION: Avoid injury! Touching hot surfaces can burn skin. The engine, components, and fluids will be hot if the engine has been running. Allow the engine to cool before servicing or working near the engine and components.
|
2. Let engine cool.
JS28 and JS38
MX49904
1. Clean dirt and debris from the air cleaner cover (A).
2. Loosen screw (B) and tilt cover down against side discharge cover.
IMPORTANT: Avoid damage! Dirt and debris can enter the engine through a damaged filter element:
• Do not wash paper element.
• Do not attempt to clean paper element by tapping against another object.
• Do not use pressurized air to clean element.
• Replace element only if it is very dirty, damaged or the seal is cracked.
|
MX49907
3. Inspect the paper element (C) without removing it. If the paper element is damaged or dirty, tilt it outward to remove and replace it with a new element.
4. Clean air cleaner base carefully, preventing any dirt from falling into carburetor.
5. Install new paper element into air cleaner base.
6. Close cover and tighten screw.
JS48
MX27694
1. Clean dirt and debris from the air cleaner cover (A).
2. Loosen knob (B) and remove cover from mower.
MX27695
3. Inspect the foam precleaner (C) without removing it. If the foam precleaner is dirty:
• Remove the filter carefully, leaving the paper element in the air cleaner housing.
• Wash the precleaner in a solution of warm water and liquid detergent.
• Rinse precleaner thoroughly. Squeeze out excess water in a dry cloth until precleaner is completely dry.
IMPORTANT: Avoid damage! Dirt and debris can enter the engine through a damaged filter element:
• Do not wash paper element.
• Do not attempt to clean paper element by tapping against another object.
• Do not use pressurized air to clean element.
• Replace element only if it is very dirty, damaged or the seal is cracked.
|
4. Inspect the paper element without removing it. If the paper element is damaged or dirty, remove and replace it with a new element.
5. Clean air cleaner base carefully, preventing any dirt from falling into carburetor.
6. Install dry foam precleaner onto paper element and install into air cleaner base.
7. Install cover and tighten knob.
Cleaning and Gapping Spark Plug
1. Park machine safely. (See Parking Safely in the Safety Section.)
c CAUTION: Avoid injury! Touching hot surfaces can burn skin. The engine, components, and fluids will be hot if the engine has been running. Allow the engine to cool before servicing or working near the engine and components.
|
2. Let engine cool.
3. Disconnect spark plug wire. Remove spark plug.
4. Clean spark plug carefully with a wire brush.
5. Inspect spark plug and replace if damaged.
M85200a
6. Adjust gap:
• JS28, JS38: 0.76 mm (0.030 in.)
• JS48: 0.51 mm (0.020 in.)
7. Install and tighten plug to 20 N•m (15 lb-ft).
8. Connect spark plug wire.
Cleaning Debris from Engine
c CAUTION: Avoid injury! Touching hot surfaces can burn skin. The engine, components, and fluids will be hot if the engine has been running. Allow the engine to cool before servicing or working near the engine and components.
|
IMPORTANT: Avoid damage! The engine can overheat or catch fire if not kept clean of debris. Clean engine of debris after every use.
Do not use water to clean engine. Use brush or dry cloth.
|
1. Park machine safely. (See Parking Safely in the Safety Section.)
2. Let engine cool.
MX49913
3. Clean recoil cover (A) with brush or clean rag.
4. Clean area around muffler (B) and under shroud (C).
Adjusting Ground Speed Control
MX49866
Picture Note: Operator Presence Control shown in released position.
When the operator presence control (A) is held back against the drive handle (B), and the drive handle is moved forward, the drive system is engaged. Pushing the drive handle further forward increases the ground speed. Pulling the drive handle back decreases ground speed and will ultimately disengage the drive system.
This occurs because the drive handle is connected to the traction drive belt tensioning mechanism by a cable (C) that runs under the left side of the handle assembly. As the drive belt wears, belt tension decreases, and ground speed at a given drive handle position changes.
If top ground speed of the mower has decreased due to belt stretch or wear, the drive cable (C) must be adjusted to increase belt tension.
To adjust drive cable:
MX39981
• Locate the drive cable (C) and thumbwheel adjuster (D) under the left side of the handle assembly.
NOTE: Descriptions are based on the operator facing forward in cutting position.
• Rotate the thumbwheel upward (counter-clockwise) to increase belt tension.
• Start engine and check that drive system operates properly and pulls the mower in cutting conditions when drive handle is engaged.
NOTE: Drive system should disengage when drive handle is pulled all the way back.
• If drive system does not disengage when drive handle is pulled all the way back, adjust thumbwheel downward (clockwise) to decrease belt tension. Start engine and check for proper disengagement.
Replacing Drive Belt (JS28)
Removing Drive Belt
c CAUTION: Avoid injury! Stop engine and wait for all moving parts to stop before doing any service or adjustments on the machine. Disconnect spark plug and wait for all components to cool before working on machine.
|
1. Park machine safely. (See Parking Safely in the Safety Section.)
2. Remove the grass bag, if attached.
c CAUTION: Avoid injury! Blades are sharp. Always wear gloves when handling blades or working near blades.
|
IMPORTANT: Avoid damage! To help prevent air cleaner damage and hard starting, turn mower so the muffler side is down.
|
NOTE: Be sure the spark plug is disconnected and the fuel tank is at least half empty before tipping mower on its side.
3. Tip mower over to rest on its side with the muffler down. Blocks can be placed under the handle bracket to keep the side slightly elevated.
NOTE: It is not necessary to remove the blade when removing the belt covers or replacing the drive belt.
MX44270
4. Loosen two bolts (A) securing belt guides (B).
MX44271
5. Remove two torx head screws (C).
MX49903
6. Tip mower over to an upright position and remove black cover (D).
MX44273
7. Remove two screws (E) and belt guide (F) from drive unit (G) and around pulley (H). Remove belt (I) from drive pulley.
8. Pull belt through opening into underside of mower deck housing. Remove belt around engine sheave and mower blade and out from mower deck.
Installing Drive Belt
MX44271
1. Place belt around blade and onto engine sheave (J).
2. Route other end of belt back through opening (K) to drive unit (G).
MX44273
3. Install belt on drive unit pulley (H).
4. Install belt guide (F) over belt on drive unit and secure with screws (E) removed earlier. Do not overtighten belt guide screws.
MX49903
5. Install cover (D) and tip mower over onto its side with the muffler down.
MX44270
6. Adjust two belt guides (A) so they are approximately 0.4 mm 1/16 in. (L) away from belt. Tighten two bolts (B) to secure position.
MX44271
7. Secure cover with two torx head screws (C).
8. Tip mower over to an upright position, and adjust thumbwheel tensioner on drive belt cable as desired.
Replacing Drive Belt (JS38, JS48)
Removing Drive Belt
c CAUTION: Avoid injury! Stop engine and wait for all moving parts to stop before doing any service or adjustments on the machine. Disconnect spark plug and wait for all components to cool before working on machine.
|
1. Park machine safely. (See Parking Safely in the Safety Section.)
2. Remove the grass bag, if attached.
MX49914
3. Raise rear door (A) and remove mulch plug (B), if installed.
4. Rotate handle (C) forward to raise mower to maximum raised height.
MX44274
5. Remove the screw (D) from top of mower deck.
c CAUTION: Avoid injury! Blades are sharp. Always wear gloves when handling blades or working near blades.
|
IMPORTANT: Avoid damage! To help prevent air cleaner damage and hard starting, turn mower so the muffler side is down.
|
NOTE: Be sure the spark plug is disconnected and the fuel tank is at least half empty before tipping mower on its side.
6. Tip mower over to rest on the side with the muffler down. Blocks can be placed under the handle bracket to keep the side slightly elevated.
NOTE: It is not necessary to remove the blade when removing the belt cover or replacing the drive belt.
MX44418
7. Remove four bolts (E) and two bolts (F).
8. Remove rear baffle (G) and belt cover (H).
MX44275
9. Disconnect transmission control cable fitting (I) from transmission (J).
MX44276
10. Rotate transmission to gain access to the two screws (K) attaching the belt guide (L) to the transmission. Remove two screws and belt guide.
11. Remove belt from around transmission pulley (M).
MX44432
12. Loosen two bolts (N) and remove belt from around two belt guides (O) and engine pulley (P). Carefully remove belt from between mower blade tip (Q) and outer lip of mower deck, being careful to work on one end at a time.
Installing Drive Belt
MX44432
1. Carefully route belt around blade tip (Q) and up onto blade sheave (P).
2. Adjust two belt guides (O) so they are approximately 0.4 mm 1/16 in. (R) away from belt. Tighten two bolts (N) to secure position.
MX44276
3. Route other end of belt back to drive unit , and install belt on drive unit pulley (M).
4. Install belt guide (L) over belt on drive unit and secure with two screws (K) removed earlier. Do not overtighten belt guide screws.
MX44275
5. Connect transmission control cable fitting (I) onto transmission (J).
MX44418
6. Install rear baffle (G) and belt cover (H).
7. Install four bolts (E) and two bolts (F).
MX44274
8. Tip mower over to an upright position and install screw (D) to secure belt cover.
MX44280
9. Adjust thumbwheel tensioner (S) on drive belt cable clockwise or counterclockwise so that 1/2 in. of threads (T) are exposed past the top end of the adjuster block.
MX49914
10. If previously installed, raise rear door (A) and install mulch plug (B).
11. Rotate handle (C) rearward to lower mower to desired mowing height.
Replacing Fuses
1. Park machine safely. (See Parking Safely in the Safety Section.)
MX28034
2. Remove screw (A) and battery box cover (B).
MX28035
3. Remove fuse cover (C) and replace fuse.
4. Replace fuse cover.
5. Install battery box cover with screw.
Grease
IMPORTANT: Avoid damage! The recommended grease is effective within an average air temperature range of -29 to 135 degrees C (-20 to 275 degrees F).
If operating outside that temperature range, contact your servicing dealer for a special-use grease.
|
Use a general all-purpose grease with an NLGI grade No.2 rating.
Wet or high speed conditions may require use of a special-use grease. Contact your Servicing dealer for information.
Servicing Mower Blade
c CAUTION: Avoid injury! Rotating blades are dangerous. Before adjusting or servicing mower:
• Disconnect spark plug wire and battery negative (-) cable to prevent engine from starting accidently.
• Always wear gloves when handling mower blades or working near blades.
|
Removing and Installing Mower Blade (Early Style)
1. Park machine safely. (See Parking Safely in the Safety Section.)
IMPORTANT: Avoid damage! To help prevent air cleaner damage and hard starting, turn mower so the muffler side is down.
|
NOTE: Be sure spark plug is disconnected and fuel tank is empty before tipping mower on its side to prevent fuel from entering carbon canister.
2. Turn mower onto the side toward the muffler.
MX44269
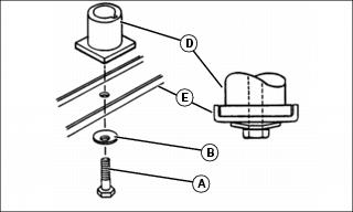
3. Remove bolt (A), washer (B) and blade (C).
4. Inspect blade; sharpen, balance or replace blade as necessary.
NOTE: Sharpened edges on blade tips must face upward when installing blade.
5. Lubricate bolt threads lightly with a general purpose grease or oil to prevent rusting and seizing.
MX22481
6. Install blade so that blade hub (D) fits between blade flanges (E).
7. Install washer (B) and bolt (A). Make sure washer is installed with cup side to the blade.
8. Tighten bolt to 54 N•m (40 lb-ft).
Removing and Installing Mower Blade (Late Style)
1. Park machine safely. (See Parking Safely in the Safety Section.)
IMPORTANT: Avoid damage! To help prevent air cleaner damage and hard starting, turn mower so the muffler side is down.
|
NOTE: Be sure spark plug is disconnected and fuel tank is empty before tipping mower on its side to prevent fuel from entering carbon canister.
2. Turn mower onto the side toward the muffler.
MX49901
3. Remove bolt (A), washer (B) and blade (C).
4. Inspect blade; sharpen, balance or replace blade as necessary.
NOTE: Sharpened edges on blade tips must face upward when installing blade.
5. Lubricate bolt threads lightly with a general purpose grease or oil to prevent rusting and seizing.
MX49912
6. Install blade so that two holes (D) in blade fit onto pins on blade hub (E).
7. Install washer (B) and bolt (A). Make sure washer is installed with cup side to the blade.
8. Tighten bolt to 54 N•m (40 lb-ft).
Sharpening Blades
c CAUTION: Avoid injury! Blades are sharp. Always wear gloves when handling blades or working near blades.
Always wear safety eye protection when grinding.
|
• Sharpen blades with grinder, hand file, or electric blade sharpener.
MIF
• Keep original bevel (A) when grinding.
• Blade should have 0.40 mm (1/64 in.) cutting edge (B) or less.
• Balance blades before installing.
Balancing Blades
c CAUTION: Avoid injury! Blades are sharp. Always wear gloves when handling blades or working near blades.
|
1. Clean blade.
M61524
2. Put blade on nail in a vise. Turn blade to horizontal position.
3. Check balance. If blade is not balanced, heavy end of blade will drop.
4. Grind bevel of heavy end. Do not change blade bevel.
Inserting Fuel Stabilizer Cartridge in Fresh Start™ Fuel Cap
c CAUTION: Avoid injury! Fuel stabilizer is a hazardous chemical and can be harmful or fatal if swallowed. Do not take internally. Avoid contact with eyes. Avoid breathing the chemical vapors.
Read safety instructions on stabilizer container label before using.
Fuel stabilizer contains 2,6-di-tert-butylphenol (128-39-2) and aliphatic petroleum distillate (64742-47-8). In case of emergency, contact a physician immediately and call 1-800-424-9300 for material safety information.
|
NOTE: Your machine may be equipped with a Fresh Start fuel cap that requires a fuel stabilizer cartridge. If equipped, check periodically and replace cartridge when empty.
MX22483
1. Remove Fresh Start fuel cap (A) from fuel tank.
2. Place silver foil seal end of cartridge (B) into opening (C) on bottom side of fuel cap.
3. Press to snap cartridge into place.
4. Remove the white tab to expose membrane (D).
5. Install the fuel cap on fuel tank.
Using Proper Fuel
Use regular grade unleaded fuel with an octane rating of 87 octane or higher. Fuel blends containing up to 10% ethanol or up to 15% MTBE reformulated fuel are acceptable. Do not use fuel or additives containing methanol as engine damage can occur.
Always use fresh, clean fuel that is purchased in a quantity that can be used within approximately 30 days, or add fuel stabilizer.
Fuel is blended to give best seasonal performance. To avoid engine performance problems such as hard starting or vapor lock, use in-season fuel. Use fuel during warm weather that was purchased during that season, and use fuel during cold weather that was purchased during that season.
Fuel can become stale in machines with engines that are used seasonally or infrequently during a season. Stale fuel can produce varnish and plug carburetor components which can affect engine performance.
Keep fuel storage container tightly covered and in a cool area out of direct sunlight. Fuel can break down and degrade if not sealed properly or exposed to sun and heat.
Condensation may collect in the fuel tank because of a variety of operating or environmental conditions and, over time, may affect your machine’s operation. Fill fuel tank at the end of daily use and store fuel in plastic containers to reduce condensation.
For best year-round performance and fuel-handling, add stabilizer to fuel immediately after fuel purchase. Such practice helps prevent engine performance problems and allows fuel storage in the machine all year without draining.
Filling Fuel Tank
c CAUTION: Avoid injury! Fuel vapors are explosive and flammable:
• Shut engine off before filling fuel tank.
• Allow engine to cool before refueling.
• Do not smoke while handling fuel.
• Keep fuel away from flames or sparks.
• Fill fuel tank outdoors or in well ventilated area.
• Clean up spilled fuel immediately.
• Use clean approved non-metal container to prevent static electric discharge.
|
IMPORTANT: Avoid damage! Dirt and water in fuel can cause engine damage:
• Clean dirt and debris from the fuel tank opening.
• Use clean, fresh, stabilized fuel.
• Fill the fuel tank at the end of each day’s operation to keep condensation out of the fuel tank.
• Use a non-metallic funnel with a plastic mesh strainer when filling the fuel tank or container.
|
NOTE: Be sure the spark plug is disconnected and the fuel tank is at least half empty if you intend to tip mower on its side.
Fill fuel tank at the end of each day’s operation to prevent condensation and freezing during cold weather.
1. Park machine safely. (See Parking Safely in the SAFETY section.)
2. Allow engine to cool.
3. Remove any trash from area around fuel tank cap.
4. Remove fuel tank cap slowly to allow any pressure built up in tank to escape.
5. Fill fuel tank only to bottom of filler neck. Do not overfill.
6. Install fuel tank cap.
• Gas models: Turn cap until clicks.
Servicing Battery (JS48 Only)
WARNING: Battery posts, terminals and related accessories contain lead and lead components, chemicals known to the State of California to cause cancer and reproductive harm. Wash hands after handling.
Service the Battery Safely
c CAUTION: Avoid injury! The battery produces a flammable and explosive gas. The battery may explode:
• Do not smoke or have open flame near battery.
• Wear eye protection and gloves.
• Do not allow direct metal contact across battery posts.
• Remove negative cable first when disconnecting.
• Install negative cable last when connecting.
|
Removing Battery
1. Park machine safely. (See Parking Safely in the Safety Section.)
MX28034
2. Remove screw (A) and battery box cover (B).
MX28035
3. Disconnect black negative battery cable connector (C).
4. Disconnect red positive battery cable connector (D).
5. Lift battery out of battery box.
Installing Battery
1. Set battery in battery box with terminals to the front.
2. Install red positive battery cable connector (D) with hardware removed earlier.
3. Install black negative battery cable connector (C) with hardware removed earlier.
4. Install battery cover and secure with screw.
Charging Battery with Supplied DC Charger
IMPORTANT: Avoid damage! Use the supplied DC charger that comes with your mower to charge battery. Do not use any other type of battery charger.
|
MX28302
1. Plug charger wiring connector (A) into battery connector.
2. Plug charger into 110V house wall outlet and charge battery for 48 hours. Charging battery for longer periods of time will not damage battery.
|