
Service Lubrication
Grease
MIF
Use the following gear grease based on the air temperature range. Operating outside of the recommended grease air temperature range may cause premature failure.
IMPORTANT: Avoid damage! Only use a quality grease in this application. Do not mix any other greases in this application. Do not use any BIO - GREASE in this application.
|
The following John Deere gear grease is preferred:
· Non-Clay High-Temperature EP Grease® - JDM J13E4, NLGI Grade 2
Other greases may be used if above John Deere greases are not available, provided they meet the following compatibility specifications only:
· John Deere Standard JDM J13E4, NLGI Grade 2
Lubricating Machine Grease Fittings
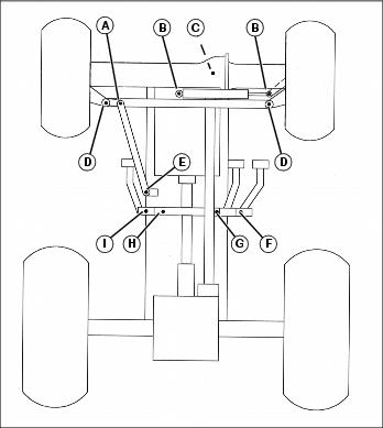
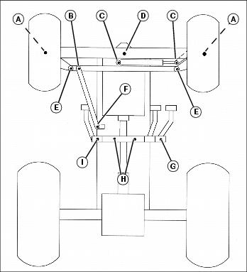
NOTE: The drawings of the service lubrication areas are from the bottom of the machine.
· Extremely wet and muddy conditions - Lubricate machine grease fittings every 10 hours of operation or on a daily basis.
· All other conditions - Lubricate machine grease fittings every 50 hours of operation
Lubricating Standard Machine Grease Fittings
Lubricate all fittings with John Deere Multipurpose Grease.
M61684
A - Steering Spindles
B - Front Drag Link Ball Joint (Manual Steering)
C - Steering Cylinder Ball Joints (Power Steering)
D - Axle Pivot
E - Tie Rod Ends
F - Rear Drag Link Ball Joint (Manual Steering)
G - Right Brake Pedal Pivot
H - Brake Shaft Pivot
I - Clutch Pedal Pivot
Lubricating Optional MFWD Machine Grease Fittings
Lubricate all fittings with John Deere Multipurpose Grease.
M61685
A - Front Drag Link Ball Joint (Manual Steering
B - Steering Cylinder Ball Joints (Power Steering)
C - Axle Pivot
D - Tie Rod Ends
E - Rear Drag Link Ball Joint (Manual Steering)
F - Left Brake Pedal Pivot
G - Right Brake Pedal Pivot
H - Brake Shaft Pivot
I - Clutch Pedal Pivot
Lubricating Hydraulic Selective Control Valve (SCV) Linkage
· Lubricate SCV linkage pivot points with Super Lube lubricant.
Lubricating 3-Point Hitch
· Lubricate lift link grease fittings with a preferred John Deere grease or equivalent.
· Lubricate ball joints and draw bar with clean engine oil.
|