All Manuals Close Window

Service Lubrication


Grease

IMPORTANT: Avoid damage! Use recommended John Deere greases to avoid component failure and premature wear.

The recommended John Deere greases are effective within an average air temperature range of -29 to 135 degrees C (-20 to 275 degrees F).

If operating outside that temperature range, contact your Servicing dealer for a special-use grease.


The following greases are preferred:

• John Deere Multi-Purpose SD Polyurea Grease

• John Deere Multi-Purpose HD Lithium Complex Grease

If not using any of the preferred greases, be sure to use a general all-purpose grease with an NLGI grade No.2 rating.

Wet or high speed conditions may require use of a special-use grease. Contact your Servicing dealer for information.

The following lubricant is preferred:

• SUPER LUBE® lubricant.1

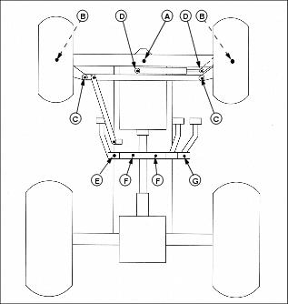
Lubricating Standard Machine Grease Fittings

NOTE: The drawings of the service lubrication areas are from the bottom of the machine.

• Extremely wet and muddy conditions - Lubricate machine grease fittings every 10 hours of operation or on a daily basis.

• All other conditions - Lubricate machine grease fittings every 50 hours of operation


M61684

A - Axle Pivot

B - Steering Spindles

C - Tie Rod Ends

D - Steering Cylinder Ball Joints

E - Clutch Pedal Pivot

F - Brake Shaft Pivot

G - Right Brake Pedal Pivot

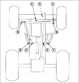
Lubricating Optional MFWD Machine Grease Fittings

Lubricate all fittings with John Deere Multipurpose Grease.


M61685

A - Axle Pivot

B - Tie Rod Ends

C - Steering Cylinder Ball Joints

D - Clutch Pedal Pivot

E - Brake Shaft Pivot

F - Right Hand Brake Pedal Pivot

Lubricating Hydraulic Selective Control Valve (SCV) Linkage

• Lubricate SCV linkage pivot points with Super Lube lubricant.

Lubricating 3-Point Hitch

• Lubricate lift link grease fittings with a preferred John Deere grease or equivalent.

• Lubricate ball joints and draw bar with clean engine oil.

1

SUPER LUBE is a registered trademark of Synco Chemical Corp.