
Service Mower
Avoid Injury From Contacting Blades
c CAUTION: Avoid injury! Before you unplug, adjust or service mower:
· DISENGAGE PTO to stop mower blades.
· Wait for mower blades to STOP.
· LOCK the park brake.
· STOP the engine.
· Remove key.
· Clean unit by removing all grass clippings and dirt from mower deck.
|
Grease
Use grease based on the expected air temperature range during the service interval.
The following greases are preferred:
· John Deere Moly High Temperature EP Grease.
· John Deere High Temperature EP Grease.
· John Deere GREASE-GARD.
Other greases may be used are:
· SAE Multipurpose EP Grease with 3 to 5 percent molybdenum disulfide.
· SAE Multipurpose EP Grease.
TS1417
· Greases meeting Military Specification MIL-G-10924C may be used as arctic grease.
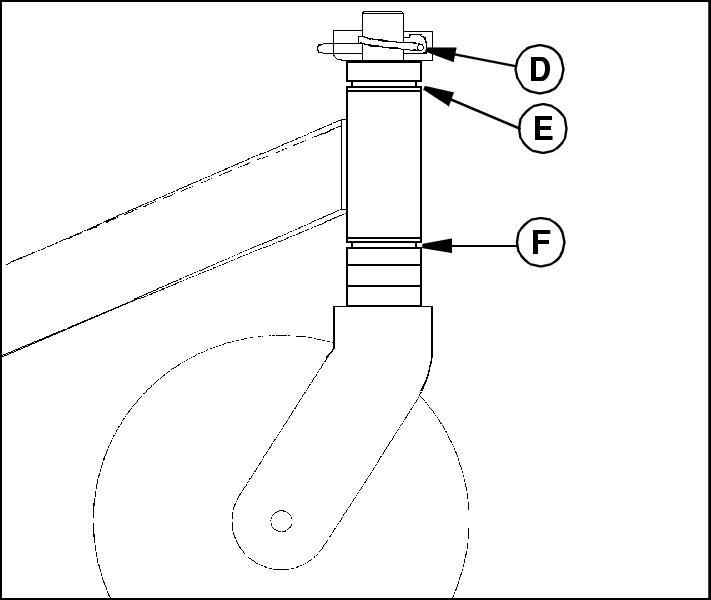
Lubricating Mower Spindles (36-Inch Decks)
Service Interval:
· Lubricate at least every 25 hours of operation.
M86307
Lubricate both mower spindle grease fittings (A) with John Deere Moly High Temperature EP Grease or an equivalent.
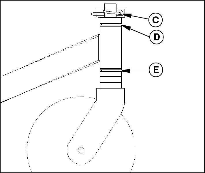
Lubricating Mower Spindles (48/54-Inch Decks)
Service Interval:
· Lubricate at least every 25 hours of operation.
M85229
Lubricate all three mower spindle grease fittings (A) with John Deere Moly High Temperature EP Grease or an equivalent.
Replacing Clutch To Mower Deck Drive Belt (36-Inch Decks)
M86307
1. Remove belt shield (A).
c CAUTION: Avoid injury! Be careful when removing old belt and installing new belt. Possible pinch point between idler and PTO clutch sheave.
|
M86308
2. Pull spring loaded idler (B) to loosen belt tension.
3. Remove and replace clutch to mower deck drive belt (C).
4. Make sure drive belt is properly routed around the spring loaded idler (B) for proper belt tension.
M86322
5. If necessary, see label on mower deck.
6. Install belt shield.
Replacing Mower Deck Timing Belt (36-Inch Decks)
M86309
1. Remove the clutch to mower deck drive belt. (See Replacing Clutch To Mower Deck Drive Belt (36-Inch Decks) in this Section.
2. Loosen timing belt tension:
· Loosen locknut (B) to the ends of the threads.
· Loosen two locknuts (A).
· Tension arm (C) will loosen belt tension.
3. Remove two locknuts (A) and tension arm (C).
4. Remove old mower deck timing belt (D).
M85254
5. Position mower blades (E) and (F) 90° (G) from each other.
6. Install new mower deck timing belt (D).
7. Install tension arm. Install and turn two locknuts (A) down part way to allow movement of arm (C). Inspect tension arm (C), tension arm must be free to slide.
· Check that blades are still timed (90° from each other).
· Rotate blades to make sure they do not contact each other.
M86322
· If necessary, see label on mower deck.
M86310
8. Adjust belt tension:
· Tighten lock nut (B) to compress spring (H). Tighten lock nut until the spring side of washer (I) is even with adjustment rod end (J).
NOTE: Lock nuts (A) must be loose to allow movement of idler arm during adjustment of lock nut (B).
Locknuts (A) must be tightened to prevent idler movement during mower operation. If idler is free to move, blades will become out of time.
M86345
9. Tighten both lock nuts (A) to approximately 55 N·m (40 lb-ft).
M86341
10. If necessary, see label on mower deck.
11. Install the clutch to mower deck drive belt. (See Replacing Clutch To Mower Deck Drive Belt (36-Inch Decks) in this Section)
Quick Check On Mower Deck Timing (36-Inch Decks)
M86312
1. Remove belt shield.
2. Note the position of the drain holes (A) in the spindle sheaves. These drain holes are in alignment with the mower blades.
M85254
3. A properly timed mower deck must have the mower blades (B) and (C) at 90° (D) from each other.
4. For a quick check on mower deck timing, sheave drain holes (A) should be approximately 90° from each other.
5. If necessary, adjust the mower deck timing. (See Adjusting Mower Deck Timing in this section)
IMPORTANT: Avoid damage! · Due to belt stretching, the tension on the timing belt should be adjusted after the first 25 hours of use and at every 100 hour interval.
· Tension on the timing belt should be adjusted after a major blade impact.
|
6. Install belt shield.
NOTE: Due to mower blade over-lap, the mower blades will eventually collide if the timing belt is not adjusted on a regular basis.
If necessary, see Adjusting Timing Belt Tension (36-Inch Decks) in this section.
Adjusting Mower Deck Timing (36-Inch Decks)
M86312
1. Remove belt shield.
2. Loosen timing belt tension:
· Loosen locknut (B) to the ends of the threads.
· Loosen two lock nuts (A).
· Tension arm (C) will loosen belt tension. Inspect tension arm (C). Tension arm must be free to slide.
85254
3. Position mower blades (D) and (E) 90° (F) from each other. If necessary, reposition mower blades:
· Remove two lock nuts (A) and tension arm (C).
· Slip timing belt off of one sprocket.
· Reposition mower blades.
· Install timing belt.
· Install tension arm and two lock nuts. Tension arm must be free to slide.
· Check that blades are still timed (90° from each other).
· Rotate blades to make sure they do not contact each other.
M86310
4. Adjust belt tension:
· Tighten lock nut (B) to compress spring (G). Tighten lock nut until the spring side of washer (H) is even with adjustment rod end (I).
NOTE: Lock nuts (A) must be loose to allow movement of idler arm during adjustment of lock nut (B).
Tighten both lock nuts (A) to approximately 55 N·m (40 lb-ft)
Lock nuts (A) must be tightened to prevent idler movement during mower operation. If idler is free to move, blades will become out of time.
5. If necessary, see label on mower deck.
M86341
6. Install belt shield.
Adjusting Timing Belt Tension (36-Inch Decks)
IMPORTANT: Avoid damage! · Due to belt stretching, the tension on the timing belt should be adjusted after the first 25 hours of use and at every 100 hour interval.
· Tension on the timing belt should be adjusted after a major blade impact.
|
NOTE: Due to mower blade over-lap, the mower blades will eventually collide if the timing belt is not adjusted on a regular basis.
M86342
1. Remove belt shield.
M86312
2. Check the position of the drain holes (A) in the spindle sheaves. These drain holes are in alignment with the mower blades. If drain holes are not perpendicular to each other, the mower blades will need to be repositioned, see Adjusting Mower Deck Timing (36-Inch Decks) in this section.
M86312
3. Loosen timing belt tension:
· Loosen two lock nuts (B).
· Tension arm (C) will move due to spring force.
· Inspect tension arm. Tension arm must be free to slide under lock nuts (B).
M86310
4. Adjust belt tension:
· Tighten lock nut (D) to compress spring (E). Tighten lock nut until the spring side of washer (F) is even with adjustment rod end (G).
NOTE: Lock nuts (B) must be loose to allow movement of idler arm during adjustment of lock nut (D).
Lock nuts (B) must be tightened to prevent idler movement during mower operation. If idler is free to move, blades will become out of time.
M86345
· Tighten both lock nuts (B) to approximately 55 N·m (40 lb-ft)
M86341
5. If necessary, see label on mower deck.
6. Install belt shield.
Level Mower Deck (Front-To-Rear) (36-Inch Decks)
c CAUTION: Avoid injury! Before you adjust mower, STOP engine.
Blades may have sharp edges. Wear heavy gloves or use a rag to protect hands.
|
NOTE: Before checking mower deck front to rear level, check mower deck for the correct combination of cut height adjustments. (See Adjusting Mower Deck Height (36-Inch Decks) in the Operating section.)
M40137
1. Park mower on a hard level surface.
2. Check tire pressure: 100-200 kPa (15-28 psi).
3. Position left mower blade in the straight ahead position.
NOTE: Use a short ruler or leveling gauge (B). Order gauge from your John Deere dealer.
4. Measure from left front blade tip to floor. Turn blade 180° and measure from left rear tip to floor: Distance (A).
5. Repeat Steps 3 and 4 for right blade.
6. Distance (A) at rear of blade should be 3-6 mm (1/8-1/4 in.) more than Distance (A) at front of blade.
Level mower deck (front to rear) using mower deck attaching hardware or caster wheel washers.
86332
7. Mower deck attaching hardware:
· Remove belt shield.
· Loosen mower deck to power unit attaching hardware (C).
· Level deck by rotating power unit with respect to the mower deck and tighten attaching hardware.
· Tighten locknuts to 140 N·m (105 lb-ft).
· Install belt shield.
NOTE: · Caster wheel washers should be used as a fine tune adjustment for front to rear leveling.
· Always adjust left and right caster wheels equally, when adjusting level front to rear.
M86319
8. Caster wheel washers:
· Raise and block one side of mower 150 mm (6 in.).
· Remove lynch pin (D).
· Remove wheel from mower.
· Move top washer (E) to bottom position to RAISE front of mower, OR move washer (F) from bottom to top to LOWER front of mower.
· Install lynch pin.
· Remove block. Lower mower.
9. Check mower level. (Repeat Steps 2-6).
Level Mower Deck (Side-To-Side) (36-Inch Decks)
c CAUTION: Avoid injury! Blades may have sharp edges. Wear heavy gloves or use a rag to protect hands.
|
M40137
1. Park mower on a hard level surface.
2. Check tire pressure: 100-200 kPa (15-28 psi).
3. Turn right mower blade sideways.
4. Measure from right blade tip to floor. Distance (A).
5. Turn left blade sideways. Measure distance (A) from tip of blade.
6. Distance (A) should be the same on each side (1/8 in.)
NOTE: When the mower deck is bolted to the power unit you have one solid frame. It will be necessary to loosen the mower deck attaching hardware in order to level the mower deck side to side.
M86332
7. Loosen attaching hardware:
· Remove belt shield.
· Loosen mower deck to power unit attaching hardware (B).
8. Put blocks on both sides of mower deck to level mower blades.
M86332
9. Tighten mower deck to power unit attaching hardware (B):
· With the mower deck leveled (side-to-side), tighten attaching hardware.
· Tighten lock nuts to 140 N·m (105 lb-ft).
· Install belt shield.
10. Remove blocks from mower deck.
11. Check mower level. Repeat Steps 2-6.
M86319
12. If one caster wheel is off the ground due to deck repositioning, adjust caster wheel washers:
· Raise and block one side of mower 150 mm (6 in.).
· Remove lynch pin (C).
· Remove wheel from mower.
· Move top washer (D) to bottom position (E) to lower wheel.
· Install lynch pin.
· Remove block. Lower mower.
13. Check mower level. (Repeat Steps 2-6).
Replacing Clutch To Mower Deck Drive Belt (48/54-Inch Decks)
M85228
1. Remove belt shield (A).
c CAUTION: Avoid injury! Be careful when removing old belt and installing new belt. Possible pinch point between idler and PTO clutch sheave.
|
M85242
2. Pull spring loaded idler (B) to loosen belt tension.
3. Remove and replace clutch to mower deck drive belt (C).
4. Make sure drive belt is properly routed around the spring loaded idler (B) for proper belt tension.
M86340
5. If necessary, see label on mower deck.
6. Install belt shield.
Replacing Mower Deck Drive Belt (48/54-Inch Decks)
M85244
1. Remove the clutch to mower deck drive belt. (See Replacing Clutch To Mower Deck Drive Belt (48/54-Inch Decks) in this Section.)
2. Remove left and right hand belt shields.
3. Pull spring loaded idler (A) to loosen belt tension.
4. Remove and replace mower deck drive belt (B).
5. Make sure drive belt is properly routed around the spring loaded idler (A) for proper belt tension.
M86340
6. If necessary, see label on mower deck.
7. Install left and right hand belt shields.
8. Install the clutch to mower deck drive belt. (See Replacing Clutch To Mower Deck Drive Belt (48/54-Inch Decks) in this Section.)
Level Mower Deck (Front-To-Rear) (48/54-Inch Decks)
c CAUTION: Avoid injury! Before you adjust mower, STOP engine.
Blades may have sharp edges. Wear heavy gloves or use a rag to protect hands.
|
M40137
1. Park mower on a hard level surface.
2. Check tire pressure: 100-200 kPa (15-28 psi).
3. Position left mower blade in the straight ahead position.
NOTE: Use a short ruler or leveling gauge (B). Order gauge from your John Deere dealer.
4. Measure from left front blade tip to floor. Turn blade 180° and measure from left rear tip to floor: Distance (A).
5. Repeat Steps 3 and 4 for right blade.
6. Distance (A) at rear of blade should be 3-6 mm (1/8-1/4 in.) more than Distance (A) at front of blade.
Level mower deck (front-to-rear) using mower deck attaching hardware or caster wheel washers.
M85269
7. Mower deck attaching hardware:
· Remove belt shield.
· Loosen mower deck to power unit attaching hardware (C).
· Level deck by rotating power unit with respect to the mower deck and tighten attaching hardware.
· Tighten locknuts to 140 N·m (105 lb-ft).
· Install belt shield.
NOTE: · Caster wheel washers should be used as a fine tune adjustment for front to rear leveling.
· Always adjust left and right caster wheels equally, when adjusting level front to rear.
M85263
· Caster wheel washers:
· Raise and block one side of mower 150 mm (6 in.).
· Remove snap ring (D).
· Remove wheel from mower.
· Move top washer (E) to bottom position to RAISE front of mower, OR move washer (F) from bottom to top to LOWER front of mower.
· Install snap ring.
· Remove block. Lower mower.
8. Check mower level. (Repeat Steps 2-6).
Level Mower Deck (Side-To-Side) (48/54-Inch Decks)
c CAUTION: Avoid injury! Blades may have sharp edges. Wear heavy gloves or use a rag to protect hands.
|
M40137
1. Park mower on a hard level surface.
2. Check tire pressure: 100-200 kPa (15-28 psi).
3. Turn right mower blade sideways.
4. Measure from right blade tip to floor. Distance (A).
5. Turn left blade sideways. Measure distance (A) from tip of blade.
6. Distance (A) should be the same on each side (1/8 in.)
NOTE: When the mower deck is bolted to the power unit you have one solid frame. It will be necessary to loosen the mower deck attaching hardware in order to level the mower deck side to side.
M85269
7. Loosen attaching hardware:
· Remove belt shield.
· Loosen mower deck to power unit attaching hardware (B).
8. Put blocks on both sides of mower deck to level mower blades.
M85269
9. Tighten mower deck to power unit attaching hardware (B).
· With the mower deck leveled (side-to-side), tighten attaching hardware.
· Tighten lock nuts to 140 N·m (105 lb-ft).
· Install belt shield.
10. Remove blocks from mower deck.
11. Check mower level. Repeat Steps 2-6.
M85263
12. If one caster wheel is off the ground due to deck repositioning, Adjust caster wheel washers:
· Raise and block one side of mower 150 mm (6 in.).
· Remove snap ring (C).
· Remove wheel from mower.
· Move top washer (D) to bottom position (E) to lower wheel.
· Install snap ring.
· Remove block. Lower mower.
13. Check mower level. (Repeat Steps 2-8).
Inspecting And Replacing Mower Blades
c CAUTION: Avoid injury! · Do not work under a raised mower unless it is safely supported.
· Blades are sharp and can cut you.
· Before working with mower blades - Wear gloves or wrap blade with a rag.
|
IMPORTANT: Avoid damage! When replacing mower blades always use genuine John Deere Service Parts.
|
M85259
1. Raise and block front of mower.
2. Inspect mower blades (A):
· Mower blades should be sharp and free of any damage.
· Replace mower blades as required.
3. Remove and replace damaged blade(s):
· Remove blade bolt (B), washer (C) and blade (A). Discard any blade that has been damaged due to a serious impact.
· When you install new blade, put cup-side of washer (C) against blade.
· 48/54-Inch Deck: Tighten blade bolts to 68 N·m (50 lb-ft).
· 36-Inch Deck: Tighten blade bolts to 122 N·m (90 lb-ft). If new mower blades are installed on a 36-Inch Deck, see Adjusting Mower Deck Timing (36-Inch Decks) in this section.
4. Remove supports and lower mower.
Sharpening Blades
c CAUTION: Avoid injury! To avoid injury, wear goggles and gloves when you handle blades.
|
M61830a
· Sharpen blades with grinder, hand files or electric blade sharpener.
· Keep original bevel (A) when you grind.
· Blade should have 0.40 mm (1/64 in.) cutting edge (B).
Balancing Blades
c CAUTION: Avoid injury! To avoid injury, wear goggles and gloves when you handle blades.
|
M85259
1. Clean blade.
2. Put blade on nail in vise or on a vertical wal stud. Turn blade to horizontal position.
3. If blade is not balanced, heavy end of blade will drop.
4. Grind bevel of heavy end. Do not change bevel.
Checking Mower Blades
M40137
1. Check for bent blades:
2. Measure from blade tip to floor-Distance (A).
NOTE: Use leveling gauge (B) or short ruler. Order leveling gauge from your John Deere dealer.
3. Turn blade 180°.
4. Measure opposite blade tip for Distance (A).
5. Difference between two measurements (A) must not be more than 3 mm (1/8 in.)
6. Check each blade.
7. Replace blade if needed. If new mower blades are installed on a 36-Inch Mower, see Adjusting Mower Deck Timing (36-Inch Decks) in this section.
|