
Removing and Storing the Tiller
Release Spring Tension (Models 240, 245, 260, 265, and 285)
c CAUTION: Avoid injury! Release spring tension before removing tiller.
|
1. Pull rearward on lift lever to raise tiller as high as it will go.
M41146
2. Turn crank (A) counter-clockwise to release spring tension.
Disconnect Tiller From Tractor Lift Link (Models 240, 245, 260, 265, 285, 320, 325, 335, 345 and 355)
M41745
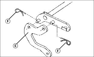
1. Lower tiller to the ground.
2. Remove spring locking pin (A) and drilled pin to disconnect plate (B) from lift link.
Disconnect Tiller From Tractor Lift Link (Models GT242, GT262, and GT275)
c CAUTION: Avoid injury! You must push lift lever forward to the lock-out position to take tiller weight off of lift rod.
|
1. Push lift lever forward to the lock-out position.
M73537
Picture Note: Right rear tire has been removed for clarity.
2. Remove spring locking pin (A) from lift rod (B).
3. Remove lift rod and washer from lift link (C). Install washer and spring locking pin to lift rod for storage.
4. Pull lift lever rearward to disengage lock-out.
Remove Lift Arm Strap and Lift Rod (Models GT225 and GT235)
1. Lower the tiller to the operating position.
2. Place manual lift lever in the lock-out position.
M99280
3. Locate rear lift shaft assembly (A) under right rear fender.
M99283
4. Remove locking ring (B) and washer (C) from lift rod (D).
5. Remove lift rod from lift arm strap (E).
M99281
6. Remove spring locking pins (F) and lift arm strap (E). Install the spring locking in the rear lift shaft studs for storage.
7. For storage, attach the lift arm strap to the lift rod using the washer and locking pin.
Remove Lift Arm and Lift Rod (Models with Foot Lift)
c CAUTION: Avoid injury! Lift pedal is spring-assisted and may have unexpected movement.
Lock lift pedal when installing or removing attachment.
|
MX30484
1. Pull lift pedal (A) back by hand to lower tiller to the lower/down position (B). Pull up lock lever (C) to lock attachment in the lowered position.
MX31802
2. Remove spring locking pin (D) and washer (E) from lift rod (F).
3. Remove lift rod from lift arm (G).
MX31801
4. Remove spring locking pins (D) and lift arm (G). Install the spring locking pins in the rear lift shaft studs for storage.
5. For storage, attach the lift arm strap to the lift rod using the washer and locking pin.
Put Tiller in Transport Position
M99284
1. Grasp handle (A) and pull slightly upward on tiller to relieve tension on transport lever (B). Pull out and rotate the transport lever (B) to engage locking pin in slot (C).
2. Pivot tiller up and forward as far as it will go.
3. Rotate transport lever (B) until locking pin disengages from slot (C). Allow transport lever to lock into hole in shield (D).
Remove Belt and Open Cams
M41750
1. Swing belt tensioning lever (A) toward front of tractor.
2. Remove belt (B) from tractor drive sheave.
3. Remove spring locking pin (C) from both frame clip latches.
4. Swing open both clip latches (D).
5. Install spring locking pins in clip latches for storage.
Engage the Support Rod
c CAUTION: Avoid injury! Maintain a secure grasp of attaching assist lever until support rod is in place. Keep hands clear of pinch areas between tiller and tractor frame.
|
M41744
1. Make sure clip (A) is open at both sides of tiller.
2. Push and hold down attaching assist lever (B).
3. Pivot support rod (C) upward so loop in rod is under stud in tractor frame.
4. Slowly release downward pressure on attaching assist lever.
Put Wheels in Down Position
M97637
1. Pull and hold out wheel locking pin (A).
2. Swing wheel assembly (B) into down position. Make sure locking pin engages to lock wheel in down position. Repeat for other wheel assembly.
Pivot the Support Rod Down
c CAUTION: Avoid injury! Maintain a secure grasp of attaching assist lever until tiller is resting on wheel assemblies. Keep hands clear of pinch areas between tiller and tractor frame.
|
M41744
1. Maintain downward pressure on attaching assist lever (A).
2. Pivot support rod (B) down.
3. Slowly release downward pressure on attaching assist lever until tiller is resting on wheel assemblies.
4. Roll tiller out from under tractor.
Store Tiller
1. Remove tiller from tractor.
2. Clean tiller with water pressure.
3. Check belts. If necessary, get new belts from your John Deere dealer. Do not install the new belts until you take the tiller out of storage.
4. Replace or repair badly worn or damaged parts.
5. Paint scratched areas to prevent rust.
6. Lubricate two grease points.
7. Store the tiller on a hard, level surface in a clean, dry place. If you must store the tiller outside, cover it with a waterproof cover.
|