
Service Mower
Removing Mower
c CAUTION: Avoid injury! Rotating blades are dangerous. Before adjusting or servicing mower:
· Disconnect spark plug wire(s) to prevent engine from starting accidently.
· Always wear gloves when handling mower blades or working near blades.
|
1. Park machine safely. (See Parking Safely in the SAFETY Section.)
2. Adjust mower cutting height to the lowest position.
3. Lower mower down onto blocks.
c CAUTION: Avoid injury! If lift pedal is spring-assisted it may have unexpected movement.
Lock the lift lever in the mowing position when installing or removing the mower.
|
MX4900a
4. Pull back lift pedal (A) and pull up on lift lever (B) to lock mower in the down position.
5. Push down on lift pedal to make sure it is locked. Lift pedal should not move.
MX15924
6. Unlock tension handle (C) and rotate down to release tension on drive belt.
7. Remove drive belt.
MX15956
8. Remove drive belt tension rod (D) from bracket (E) by removing spring pin.
c CAUTION: Avoid injury! Jacksheave pivot arm is under spring tension and may move unexpectedly. Hold tension rod securely while removing.
|
MX15924
9. Remove drive belt tension rod (F) from tension handle (C) by removing quick-pull pin and set aside.
10. Place tension handle into the locked position for storage.
MX10549
11. Pull out and rotate lever (G) counterclockwise to release front lift rod assembly (H).
12. Remove front lift rod assembly from machine and mower deck.
NOTE: It may be necessary to manually lift up on rear of mower deck to pull out J-pins.
MX15956
13. Pull out and rotate J-pin (I) and disconnect lift arms, one on each side.
c CAUTION: Avoid injury! If lift pedal is spring-assisted it can snap back when deck is removed.
Hold lift pedal securely when releasing from lock (lower) position.
|
14. Raise mower lift arms to transport position:
MX4900a
a. Pull back and hold attachment lift pedal (A).
b. Push attachment lift lever (B) down to unlock.
c. Hold lift pedal securely and slowly move it to the down position.
15. Slide mower out from under the machine.
Installing Mower
c CAUTION: Avoid injury! Rotating blades are dangerous. Before adjusting or servicing mower:
· Disconnect spark plug wire(s) to prevent engine from starting accidently.
· Always wear gloves when handling mower blades or working near blades.
|
1. Park machine safely. (See Parking Safely in the SAFETY Section.)
2. Raise mower lift arms to transport position:
MX7594
Picture Note: When the lift pedal is down, the mower lift arms are in the up position.
a. Pull back and hold attachment lift pedal (A).
b. Push attachment lift lever (B) down to unlock.
c. Move lift pedal (A) slowly forward.
3. When a front blade was removed: For best lawn cut quality, make sure the lift assist spring is adjusted for mowing applications before installing the mower deck.
MX10584a
Picture Note: Lift assist spring adjustment is located under left front side of machine, above front axle.
· Nut (C) should be to the end (D) of lift assist spring eyebolt. Adjust if necessary.
MX7587a
Picture Note: Line art used for illustration only.
4. Move mower drive sheave (E) inward to tighten mower belt.
5. Slide mower deck under machine and line up mower deck lift brackets, one on each side, with lift arms.
6. Adjust mower cutting height to the lowest position.
c CAUTION: Avoid injury! If lift pedal is spring-assisted it may have unexpected movement.
Lock the lift lever in the mowing position when installing or removing the mower.
|
7. Lower mower lift arms:
MX7594
a. Hold attachment lift pedal (A) securely and pull it back as far as it will go and hold.
b. Lift up on attachment lift lever (B) and lock lift arms in mowing (down) position.
MX15956
8. Release J-pin (F), one on each side, to connect mower deck to lift arms. Make sure J-pin is fully seated in deck bracket.
MX10549
9. Hook front lift rod assembly (G) into mower brackets (H).
10. Place front lift rod into frame hooks (I) so lever (J) is at left side of machine. Make sure rod is seated in frame hooks.
11. Rotate lever (J) clockwise until tab locks into hole in frame.
MX15924
12. Unlock tension handle (K) and rotate down.
13. Install drive belt tension rod (L) into tension handle and secure with spring pin.
MX15956
14. Align and install jacksheave pivot arm pin (M) into drive belt tension rod bracket (N) and secure with spring pin.
15. Place belt around mower sheave and engine sheave.
16. Rotate tension handle up into the locked position.
17. Check that primary belt is not hooked over hydro pedal arm.
18. Unlock the lift lever.
19. Level mower.
20. Adjust mower wheels for desired cutting height.
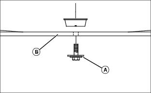
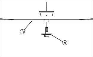
Replacing Primary Mower Drive Belt
1. Park machine safely. (See Parking Safely in the SAFETY Section.)
2. Adjust mower cutting height to the lowest position.
MX15924
3. Unlock tension handle (A) and rotate down to release tension on drive belt. Latch handle in down position on machines with 42C and 48C mower decks.
4. Remove mower drive belt from engine drive sheave and mower sheave.
5. Inspect belt for wear or damage; replace as necessary.
6. Place belt around mower sheave and engine sheave.
7. Rotate tension handle up into the locked position.
8. Check that primary belt is not hooked over hydro pedal arm.
Replacing Mower Deck (Secondary) Belt (42C)
1. Park machine safely. (See Parking Safely in the SAFETY Section.)
2. Remove mower deck.
MX4889
3. Remove belt shield (A).
c CAUTION: Avoid injury! Springs are installed under tension. Use caution when attaching or disconnecting springs. Wear eye protection.
|
4. Disconnect idler spring (B).
MX4890
5. Remove mower belt (C).
6. Inspect belt for wear or damage; replace as necessary.
7. Clean top surface of mower deck and sheaves.
8. Install belt on mower deck as shown.
9. Connect idler spring to idler arm.
10. Install belt shield.
11. Install mower deck.
Adjusting Mower Deck Timing Belt Tension (Freedom42)
IMPORTANT: Avoid damage! Damage may occur to the belt or blades after a major blade impact:
· Check blades for damage and timing.
· Check the timing belt for damage and proper tensioning.
|
1. Park machine safely. (See Parking Safely in the SAFETY Section.)
2. Put mower deck in the lowest position.
MX15957
Picture Note: Mower deck removed for photo clarity only. The belt tensioning spring assembly can be accessed without removing the mower deck or the timing belt cover.
3. Remove lock nut (A) and open left spindle cover.
4. Check timing belt for damage. If the belt is damaged, replace the timing belt.
MX15922
5. Remove top washer and loosen idler assembly center nut (B) one full turn. Do not remove nut.
MX0238
Picture Note: Underside of deck shown for illustration only.
6. Check that blades are timed (90° from each other).
MX5361
7. Turn left spindle sprocket (C) in clockwise direction to be sure belt is seated properly in the sprockets and idlers.
IMPORTANT: Avoid damage! Incorrect belt tensioning can cause belt damage. Do not over tighten belt tensioning spring assembly.
|
MX0234
8. Loosen jam nut (D) and adjusting nut (E) so that there is a small gap between washer (F) and spring bushing (G).
9. Rotate adjusting nut (E) clockwise until the washer (F) makes solid contact with the surface of the spring bushing (G).
MX15922
10. Tighten idler assembly center nut (B) to 73 N·m (54 lb-ft).
MX0234
11. Tighten jam nut (D) against adjusting nut (E) to 27 N·m (20 lb-ft).
12. Turn left spindle sprocket in clockwise direction to be sure belt is seated properly in the sprockets and idlers.
NOTE: The position of the drain holes in the spindle sheave (H) and the indentations in the timing sprocket (C) are in alignment with the mower blades (I) and (J).
MX0236
13. Check that blades are timed (90° from each other).
MX5361
14. Install top washer on top of center nut (B) and close left spindle cover.
15. Fasten cover with lock nut and tighten to 14 N·m (10 lb-ft).
Replacing Mower Deck Secondary Belt and Timing Belt (Freedom42)
1. Park machine safely. (See Parking Safely in the SAFETY Section.)
2. Remove mower deck from tractor.
c CAUTION: Avoid injury! Mower blades are sharp. Always wear gloves when handling mower blades or working near blades.
|
3. Check blade bolt torque. Carefully hold blade with glove, use a hand torque wrench, and tighten bolt to 62 N·m (46 lb-ft).
c CAUTION: Avoid injury! Springs are installed under tension. Use caution when attaching or disconnecting springs. Wear eye protection.
|
MX15957
4. Disconnect idler spring (A).
5. Remove secondary belt (B) from right spindle sheave.
MX15957
6. Remove five nuts (C).
7. Remove bracket (D), three spacers (E) and timing belt cover.
MX0234
8. Turn jam nut (F) and adjusting nut (G) counterclockwise to end of threaded rod, and remove tensioning spring assembly.
MX4893
9. Remove center nut and washer (H) and remove fixed idler assembly (I) from left support plate. Do not loosen other idler assembly hardware that retains idlers.
MX3863
10. Remove spacer (J) located between fixed idler assembly plates and remove idler assembly from belt.
MX4882a
11. Loosen two belt guides (K) and rotate away from left sprocket.
12. Remove damaged timing belt.
13. Clean top surface of mower deck and sheaves.
NOTE: The position of the drain holes in the spindle sheave (N) and the indentations in the timing sprocket (O) are in alignment with the mower blades (L) and (M).
MX0236
14. Position mower blades (L) and (M) 90° from each other.
IMPORTANT: Avoid damage! Handle timing belts with care.
· Do not crimp.
· Do not fold.
· Do not twist.
|
M92926a/M92927a
15. Install new mower deck timing belt.
MX3864
a. Route belt around right spindle sprocket (P) located under the mower drive belt sheave.
MX3863
b. Route belt around outside of idlers and then in between left fixed idlers (Q) pulling a belt loop through the idler assembly.
c. Insert spacer (J) between fixed idler plates and idlers.
d. Install the fixed idler assembly on the stud of the left support plate.
e. Wrap belt loop around left spindle sprocket (O).
16. Install washer and center nut (H) on fixed idler assembly. Leave nut one turn loose at this time.
MX0236
17. Check that blades (L) and (M) are still timed (90° from each other).
IMPORTANT: Avoid damage! Incorrect belt tensioning can cause belt damage. Do not over tighten belt tensioning spring assembly.
|
MX0234
18. Install tensioning spring assembly and adjust timing belt tension.
a. Align notch (R) in idler assembly with tab on spring bushing (S).
b. Rotate adjusting nut (G) clockwise until the washer (T) makes solid contact with the surface of the spring bushing (S).
c. Turn adjusting nut an additional 1/2 turn to allow for new belt stretch. Do not over tighten.
d. Turn right spindle sheave several rotations clockwise and observe that belt is riding properly in sprockets and idlers.
e. Tighten jam nut (F) against adjusting nut.
MX4893
19. Tighten center nut (H) to 73 N·m (54 lb-ft).
20. Adjust belt guides.
IMPORTANT: Avoid damage! Check belt guide-to-sprocket rim clearance. Measuring clearance incorrectly can cause belt or blade damage.
|
MX0235
a. Hold a 1 mm (0.039 in.) shim/gage between belt guides and sprocket rim, location (U), and rotate belt guides (K) clockwise against gage.
b. Tighten belt guide nuts to 24 N·m (18 lb-ft).
MX3861
Picture Note: Right spindle sheave removed for photo clarity only.
c. Remove gage and inspect belt guide-to-sprocket rim clearance (U) while rotating spindle in the clockwise direction. Clearance (U), one on each side, should be 1belt guide.
21. Make sure that washers (V), three on each stud bolt, are in place before installing cover.
MX15957
22. Install timing belt cover, three spacers, sheave bracket, and secure with five nuts.
23. Install secondary belt (B) on right spindle as shown.
24. Connect idler spring.
25. Install mower deck.
Replacing Mower Deck (Secondary) Belt (48C)
1. Park machine safely. (See Parking Safely in the Safety Section.)
2. Remove mower deck.
MX15920
3. Remove two belt shields (A).
c CAUTION: Avoid injury! Springs are installed under tension. Use caution when attaching or disconnecting springs. Wear eye protection.
|
4. Disconnect idler spring (B).
MX15923
5. Remove mower belt (C).
6. Inspect belt for wear or damage; replace as necessary.
7. Clean top surface of mower deck and sheaves.
8. Install belt on mower deck as shown.
9. Connect idler spring to idler arm.
10. Install belt shield.
11. Install mower deck.
Checking for Bent Mower Blades
c CAUTION: Avoid injury! Mower blades are sharp. Always wear gloves when handling mower blades or working near blades.
Only replace blades. Never straighten or weld them.
|
1. Park machine safely. (See Parking Safely in the SAFETY section.)
2. Raise mower to transport position to access blades.
MX4897
Picture Note: Mower deck with side discharge used for illustration
3. Measure distance (A) between blade tip and flat ground surface.
4. Rotate blade 180° and measure distance between other blade tip and flat ground surface.
5. Install new blade if the difference between the two measurements is more than 3 mm (1/8 in.).
6. Repeat for all blades.
Servicing Mower Blades (42C and 48C)
c CAUTION: Avoid injury! Mower blades are sharp. Always wear gloves when handling mower blades or working near blades.
|
Removing Mower Blades
1. Raise mower deck to gain access to mower blades. If necessary, remove mower deck.
2. Block mower blade with a piece of wood to prevent it from spinning.
3. Loosen and remove bolt (A), washer (B) and blade (C).
4. Inspect blades; sharpen, balance or replace blades as necessary.
Installing Mower Blades
MX7589
1. Make sure deflector cups (D) are in place between spindle and blade.
2. Position mower blades (C) with the cutting edge towards the ground onto the mower spindle.
3. Install blade washer (B) with cup side toward the blade.
4. Install and tighten bolt (A) by hand until mower blade is in full contact (fully seated) with spindle.
5. Block mower blade with a piece of wood to prevent spinning and tighten bolts to:
· 42C Mower Deck: 68 N·m (50 lb-ft).
· 48C Mower Deck: 68 N·m (50 lb-ft).
Servicing Mower Blades (Freedom42)
c CAUTION: Avoid injury! Mower blades are sharp. Always wear gloves when handling mower blades or working near blades.
|
Removing Mower Blades
1. Raise mower deck to gain access to mower blades. If necessary, remove mower deck.
2. Hold mower blade with glove to prevent mower blades from spinning.
M88112g
3. Loosen and remove bolt with washer (A), and blade (B).
4. Inspect blades; sharpen, balance or replace blades as necessary.
Installing Mower Blades
1. Check mower to be sure you are installing the blades on the correct side.
MX0238
· There are direction arrows located on each outside edge of the mower. There is a right and a left side blade. The blades are marked for identification.
M88112g
2. Position mower blades (B) with the cutting edge towards the ground onto the mower spindle and align key on bottom of spindle with slot in blade.
IMPORTANT: Avoid damage! Improperly installed blades can loosen during operation. Do not lubricate or use power tools when installing the blade bolt or the bolt will be ineffective.
Use a hand torque wrench and tighten bolts to blade bolt torque of: 62 N·m (46 lb-ft)
|
3. Install and hand tighten bolt with washer (A) until mower blade is in full contact (fully seated) with spindle.
4. Hold mower blade with glove to prevent spinning, tighten bolts to 62 N·m (46 lb-ft).
5. Check mower deck timing and adjust if necessary.
Sharpening Blades
c CAUTION: Avoid injury! Mower blades are dangerous!
· Always wear gloves while working on blades.
· Always wear safety eye protection when grinding.
|
· Sharpen blades with grinder, hand file, or electric blade sharpener.
MX8333
· Keep original bevel (A) when grinding.
· Blade should have 0.40 mm (1/64 in.) cutting edge (B) or less.
· Balance blades before installing.
Balancing Blades
c CAUTION: Avoid injury! Mower blades are sharp. Always wear gloves when handling mower blades or working near blades.
|
1. Clean blade.
M61524
2. Put blade on nail in a vise. Turn blade to horizontal position.
3. Check balance. If blade is not balanced, heavy end of blade will drop.
4. Grind bevel of heavy end. Do not change blade bevel.
|