
Operating
Daily Operating Checklist
o Test safety systems.
o Check tire pressure.
o Check fuel level.
o Check engine oil level.
o Check transmission oil level.
o Remove grass and debris from engine compartment and muffler area, before and after operating machine.
o Clean area around transmission and steering switches.
o Clean air intake screen.
o Check area below machine for leaks.
Avoid Damage to Plastic and Painted Surfaces
· Do not wipe plastic parts unless rinsed first.
· Insect repellent spray may damage plastic and painted surfaces. Do not spray insect repellent near machine.
· Be careful not to spill fuel on machine. Fuel may damage surface. Wipe up spilled fuel immediately.
· Prolonged exposure to sunlight will damage the hood surface.
Operator Station Controls
MX7574
Picture Note: Model SST18 shown
A - Light Switch
B - Engine Oil Pressure Light (SST18 Only)
C - Battery Discharge Light (SST18 Only)
D - Hour Meter (SST16 and SST18 Only)
E - PTO Switch/Reverse Implement Option (RIO) Switch
F - Key Switch
G - Park Brake Lock Lever
H - Choke Lever
I - Throttle Lever
MX4900
A - Attachment Lift Pedal
B - Attachment Lift Lock Lever
C - Mower Height Control Knob
MX7570
A - Brake Pedal
B - Forward Travel Pedal
C - Reverse Travel Pedal
Miscellaneous Controls
MX7567
A - Free-Wheeling Lever
Adjusting Seat
To adjust seat position:
SST15
MX10545
1. Loosen two knobs (A).
2. Slide seat forward or rearward to desired position.
3. Tighten knobs.
SST16 and SST18
MX10554
1. Pull lever (B) up, out of locked position.
2. Slide seat forward or rearward to desired position.
3. Release lever.
To adjust seat for ride comfort:
Lift seat and move springs to desired position as follows:
MX10546
· Install both springs into front position (C) for softest ride.
· Install both springs into middle position (D) for medium ride.
· Install both springs into rear position (E) for firm ride.
NOTE: Additional springs are available at your John Deere dealer.
· Install four springs in positions (C and E) for the firmest ride.
Adjusting Cutting Height
Cutting height can be adjusted from approximately 25-100 mm (1-4 in). When mower deck is in transport position, cutting height is approximately 100 mm (4 in).
1. Check tire pressure.
2. Raise mower deck to highest position.
MX4900a
3. Turn cutting height knob (A) to desired cutting height. Mower will be at that approximate cutting height when it is lowered.
MX15956
4. Check that the actual height of cut matches the reading on the cutting height knob. if they do not match, adjust lift links (B) on both sides of mower.
· Turn nuts (B) clockwise to raise the mower deck to match the cutting height knob.
· Turn nuts (B) counterclockwise to lower the mower deck to match the cutting height knob.
5. Check side-to-side mower level.
6. Adjust mower deck wheels.
MX4900a
7. Raise mower deck to the transport position and lock lift lever (C). If lift lever does not lock, lower the mower deck.
a. Turn nuts (B), one on each side, one turn counterclockwise to lower the mower deck.
b. Check that lift lever locks when mower deck is in the transport position.
c. Repeat until lift lever locks in transport.
Adjusting Mower Deck Wheels (42 Inch Side Discharge)
c CAUTION: Avoid injury! Rotating blades are dangerous. Before adjusting or servicing mower:
· Disconnect spark plug wire(s) to prevent engine from starting accidently.
· Always wear gloves when handling mower blades or working near blades.
|
IMPORTANT: Avoid damage! The mower deck can be damaged if mower wheels are adjusted wrong:
· Wheels must not ride on ground supporting mower weight.
· Check wheel adjustment each time cutting height is changed.
|
1. Park machine safely. (See Parking Safely in the SAFETY section.)
2. Inflate tires to the correct pressure.
3. Raise mower deck to the transport position and adjust cutting height.
4. Lower mower deck to the desired mowing position.
NOTE: Bottom of wheels should be approximately 3-13 mm (1/8-1/2 in.) from the ground.
MX7588a
5. Check mower wheel position. Remove bolt (E), washer (F) and nut (G) on all wheels and move wheels with bushing (H) to proper hole.
M92897
A - 38 mm (1.5-In.)
B - 51 mm (2-In.)
C - 64 mm (2.5-In.)
D - 76 mm (3-In.) and above
6. Install bolts and nuts to lock wheels in position. Tighten nuts to 34 N·m (25 lb-ft).
Adjusting Mower Deck Wheels (Freedom42)
c CAUTION: Avoid injury! Rotating blades are dangerous. Before adjusting or servicing mower:
· Disconnect spark plug wire(s) to prevent engine from starting accidently.
· Always wear gloves when handling mower blades or working near blades.
|
IMPORTANT: Avoid damage! The mower deck can be damaged if mower wheels are adjusted wrong:
· Wheels must not ride on ground supporting mower weight.
· Check wheel adjustment each time cutting height is changed.
|
1. Park machine safely. (See Parking Safely in the SAFETY section.)
2. Inflate tires to the correct pressure.
3. Raise mower deck to the transport position and adjust cutting height.
4. Lower mower deck to the desired mowing position.
NOTE: Bottom of wheels should be approximately 3-13 mm (1/8-1/2 in.) from the ground.
MX7590
5. Check mower wheel position. Remove bolt (E), washer (F), and nut (G) on all wheels and move wheels with bushing (H) to proper hole.
M92897
A - 38 mm (1.5-In.)
B - 51 mm (2-In.)
C - 64 mm (2.5-In.)
D - 76 mm (3-In.) and above
6. Install bolts, washers and nuts to lock wheels in position. Tighten nuts to 34 N·m (25 lb-ft).
Adjusting Mower Deck Wheels (48C)
c CAUTION: Avoid injury! Rotating blades are dangerous. Before adjusting or servicing mower:
· Disconnect spark plug wire(s) to prevent engine from starting accidently.
· Always wear gloves when handling mower blades or working near blades.
|
IMPORTANT: Avoid damage! The mower deck can be damaged if mower wheels are adjusted wrong:
· Wheels must not ride on ground supporting mower weight.
· Check wheel adjustment each time cutting height is changed.
|
1. Park machine safely. (See Parking Safely in the SAFETY section.)
2. Inflate tires to the correct pressure.
3. Raise mower deck to the transport position and adjust cutting height.
4. Lower mower deck to the desired mowing position.
NOTE: Bottom of wheels should be approximately 6.5-13 mm (1/4-1/2 in.) from the ground.
MX7577
5. Check mower wheel position. Remove spring locking pin and drilled pin (A) on all wheels.
M95970
6. Use decal (B) located on top of deck and move wheels to proper hole.
7. Install spring locking pins and drilled pins to lock wheels in position.
Adjusting Mower Level (Side-to-Side)
c CAUTION: Avoid injury! Rotating blades are dangerous. Before adjusting or servicing mower:
· Disconnect spark plug wire(s) to prevent engine from starting accidently.
· Always wear gloves when handling mower blades or working near blades.
|
NOTE: Mower wheels should not contact the ground when leveling the deck.
1. Park machine safely. (See Parking Safely in the SAFETY Section.)
2. Inflate tires to the correct pressure.
3. Adjust cutting height to 50 mm (2 in.).
4. Lower mower deck.
NOTE: The difference between blade measurements must not be more than 3 mm (1/8 in.).
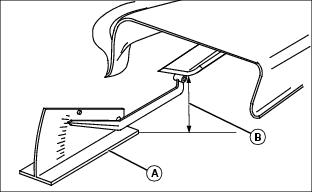
MX4871
Picture Note: A convenient leveling gauge (A) (AM130907) is available from your authorized dealer.
5. Position mower blades as follows and measure from each outside blade tip (B) to the level surface:
MX4896
Picture Note: 42 Inch mower deck shown.
· On mower decks with side discharge:
Turn left blade (C) as shown. Hold drive belt and turn right blade (D) as shown. Take measurement for both blades.
MX15959, MX15958
Picture Note: Underside of Freedom42 deck shown.
· On Freedom42 mulching mower:
Turn blade (E) as shown. Take measurement. Rotate blades 90° so that blade (F) is positioned as shown. Take measurement.
NOTE: Cutting height can closely match knob setting by adjusting lift links on both sides of deck.
MX15956
Picture Note: Left side of SST16 with Freedom42 mower deck shown.
6. Adjust lift links by turning nut (G) clockwise to raise left side of mower, counterclockwise to lower left side of mower.
MX4900
7. Raise mower deck to the transport position and lock lift lever (H). If lift lever does not lock, lower the mower deck.
a. Turn nuts (G), one on each side, one turn counterclockwise to lower the mower deck.
b. Check that lift lever locks when mower deck is in the transport position.
c. Repeat until lift lever locks in transport.
Adjusting Mower Level (Front-to-Rear)
c CAUTION: Avoid injury! Rotating blades are dangerous. Before adjusting or servicing mower:
· Disconnect spark plug wire(s) to prevent engine from starting accidently.
· Always wear gloves when handling mower blades or working near blades.
|
NOTE: Mower wheels should not contact the ground during leveling.
1. Park machine safely. (See Parking Safely in the SAFETY Section.)
2. Inflate tires to the correct pressure.
3. Adjust cutting height to 50 mm (2 in.).
4. Lower mower deck.
5. Turn right blade so blade tip points straight forward.
M40137a
Picture Note: A convenient leveling gauge (AM130907) is available from your John Deere dealer.
6. Measure from each blade tip to the surface, distance (A):
· On mower decks with side discharge:
The front blade tip must be 3-6 mm (1/8-1/4 in.) lower than rear blade tip.
· On Freedom42 mulching mower:
The difference between front and rear blade tip measurements must not be more than 3 mm (1/8 in.).
MX10549
7. Adjust front-to-rear mower level if necessary:
· Loosen rear nuts (B), one on each side of front lift rod.
· Turn front adjuster nuts (C) on each side clockwise to raise front of mower deck or counterclockwise to lower it.
· Tighten rear nuts after adjustment is complete.
8. Measure blade tips again and adjust if necessary.
Testing Safety Systems
c CAUTION: Avoid injury! Engine exhaust fumes contain carbon monoxide and can cause serious illness or death.
Move the machine to an outside area before running the engine.
Do not run an engine in an enclosed area without adequate ventilation.
· Connect a pipe extension to the engine exhaust pipe to direct the exhaust fumes out of the area.
· Allow fresh outside air into the work area to clear the exhaust fumes out.
|
The safety systems installed on your machine should be checked before each machine use. Be sure you have read the machine operator manual and are completely familiar with the operation of the machine before performing these safety system checks.
Use the following checkout procedures to check for normal operation of machine.
If there is a malfunction during one of these procedures, do not operate machine. See your authorized dealer for service.
Perform these tests in a clear open area. Keep bystanders away.
Testing Park Brake Switch
1. Park machine safely. (See Parking Safely in the SAFETY Section.)
2. Sit on seat.
MX7574
3. Unlock the park brake (A).
4. Try to start engine.
Result: Engine must not start. If engine starts, there is a problem with your safety interlock circuit.
Testing Park Brake
1. Park machine safely. (See Parking Safely in the SAFETY Section.)
MX7574
2. Lock the park brake (A).
3. Engage free-wheeling lever.
4. Try to push machine manually.
Result: Park brake must prevent machine from moving. If machine moves, parking brake needs to be adjusted.
Testing PTO Switch
c CAUTION: Avoid injury! The mower blades should stop in approximately five seconds when the mower is disengaged.
If you believe that your blades may not be stopping in that period of time, take your machine to your authorized dealer where they can safely check and service your machine.
|
1. Park machine safely. (See Parking Safely in the SAFETY Section.)
2. Sit on seat.
MX7574
3. Lock the park brake (A).
4. Pull PTO switch (B) up to engage.
5. Try to start engine.
Result: Engine must not start. If engine starts, there is a problem with your safety interlock circuit.
Testing Seat Switch
1. Park machine safely. (See Parking Safely in the SAFETY Section.)
2. First test:
a. Start engine.
MX7574a
b. Move throttle lever (A) up to maximum engine speed.
c. Unlock park brake and release brake pedal (B).
d. Engage PTO (C).
e. Raise up off seat. Do not get off tractor.
Result: Engine and mower blades should begin to stop. If engine and mower blades do not begin to stop, there is a problem with your safety interlock circuit.
3. Second test:
a. Disengage PTO (C).
b. Start engine.
c. Unlock park brake and release brake pedal (B).
d. Raise up off seat. Do not get off tractor.
Result: Engine should begin to stop. If engine does not begin to stop, there is a problem with your safety interlock circuit.
4. Third test:
a. Disengage PTO (C).
b. Start engine.
c. Lock park brake.
d. Raise up off seat. Do not get off tractor.
Result: Engine should continue to run. If engine stops, there is a problem with your safety interlock circuit.
Testing Belt Drive System
1. Park machine safely. (See Parking Safely in the SAFETY Section.)
2. Start engine.
MX7581
3. Make sure that the park brake (A) is locked.
4. Push lightly on forward travel pedal (B) while turning the steering wheel to the left, and then to the right.
Result: The rear tires should not turn in either direction when turning the steering wheel. If the rear tires do turn, there is a problem with the belt drive.
Testing Steering Switch
1. Park machine safely. (See Parking Safely in the SAFETY Section.)
2. Start engine.
MX7581
3. Unlock park brake (A) and release brake pedal (B).
4. Slowly drive forward a few inches and then take foot off of forward travel pedal.
5. Turn the steering wheel to the left, and then to the right.
6. Slowly drive in reverse a few inches and then take foot off of reverse travel pedal.
7. Turn the steering wheel to the left, and then to the right.
Result: The rear tires should not turn in either direction when turning the steering wheel. If the rear tires do turn, there is a problem with the steering switch.
Testing Reverse Implement Option (RIO)
c CAUTION: Avoid injury! Rotating blades are dangerous. Children or bystanders may be injured by runover and rotating blades.
Before backing up, carefully check the area around the machine.
|
1. Park machine safely. (See Parking Safely in the SAFETY section.)
2. Start engine.
3. Engage mower engagement lever (PTO) to start attachment.
4. Look behind the vehicle to be sure there are no bystanders.
5. Begin reverse travel by depressing reverse foot pedal.
Result: Attachment and engine should stop operation. If attachment or engine continues to operate as machine begins travel in reverse, do not continue to operate mower.
Using Park Brake
c CAUTION: Avoid injury! Children or bystanders may attempt to move or operate an unattended machine.
Always lock the park brake and remove the key before leaving the machine unattended.
|
Locking park brake:
MX7581
1. Push and hold brake pedal (A) down.
2. Pull park brake lever (B) up to lock park brake.
3. Release brake pedal. Pedal should stay down and park brake lever should stay locked.
Unlocking park brake:
1. Push and hold brake pedal down.
2. Push park brake lever down to unlock park brake.
3. Release brake pedal.
Using Headlights
MX7574
· Push top of light switch (A) down to turn headlights on.
· Push bottom of light switch to turn headlights off.
Using Indicator Lights (SST18) and Hour Meter (SST16 and SST18)
MX7574
Picture Note: Model SST18 shown
· SST18: Oil Pressure Indicator Light (A) will come on when you turn the key to the run position. Indicator light should go out within 5 seconds after engine starts. If indicator comes on during operation, engine oil pressure is too low. Stop engine and perform appropriate service.
· SST18: Battery Discharge Indicator Light (B) will come on when battery voltage falls below 12.3 volts. Indicator light will be on during start-up and should go out within 10 seconds. Indicator light may also remain on at low idle. If battery is at a low state of charge, indicator light may remain on when PTO and headlights are on.
· SST16 and SST18: The Hour Meter (C) shows the number of hours the vehicle has run. The service chart gives necessary service intervals. Use the hour meter and the service interval section to determine when the vehicle will need service.
Using Fuel Gauge
MX7584
Fuel level is indicated by lines molded into fuel tank (A) at rear of tractor.
Starting the Engine
c CAUTION: Avoid injury! Engine exhaust fumes contain carbon monoxide and can cause serious illness or death.
Move the vehicle to an outside area before running the engine.
Do not run an engine in an enclosed area without adequate ventilation.
· Connect a pipe extension to the engine exhaust pipe to direct the exhaust fumes out of the area.
· Allow fresh outside air into the work area to clear the exhaust fumes out.
|
1. Push down brake pedal.
2. Check starting conditions:
MX7580
· If engine is cold:
Move throttle lever (A) to the half-speed position and pull out choke knob (B).
· If engine is warm:
Move throttle lever (A) to the half-speed position.
MX7574
Picture Note: Model SST18 only
3. On SST18: Turn key to run position and check indicator lights. Oil Pressure indicator light (C) will come on.
IMPORTANT: Avoid damage! Starter may be damaged if starter is operated for more than 20 seconds at a time:
· Wait two minutes before trying again if engine does not start.
|
NOTE: The following procedure will improve starting and will reduce the chance of flooding and muffler backfire.
M94336
4. Turn key to start position (D) for no more than five seconds.
5. Release key to the run position (E) when engine starts and then gradually push in the choke knob:
· If engine does not start, wait 10 seconds.
· Turn key to start position again for no longer than 5 seconds.
· Repeat procedure if necessary.
IMPORTANT: Avoid damage! Unnecessary engine idling may cause engine damage. Excessive idling can cause engine overheating, carbon build-up, and poor performance.
|
6. Let engine run at half-speed position for a couple of minutes to warm-up before operating machine.
Stopping the Engine
MX7580
1. Move throttle lever (A) down to slow position and let engine run at low throttle a few seconds.
M94336
2. Turn key to STOP position (B).
3. Remove key.
4. Lock the park brake.
Emergency Stopping
MX7570
Push brake pedal (A) to stop machine and steering.
Driving the Machine
Always practice driving the Spin-Steer before you begin mowing. Keep practicing until you feel confident in your maneuvering and driving skills.
Unlike traditional tractors, the rear wheels on the machine do all of the steering. The front wheels are caster wheels and are not controlled by the steering wheel. At startup, remember if you do not turn the steering wheel the tractor will go straight.
c CAUTION: Avoid injury! Children or bystanders may be injured by runover and rotating blades. Before traveling forward or rearward:
· Carefully check the area around the machine.
· Disengage the mower before backing up.
|
Turning: Using Spin-Steer Technology (Zero Turn Radius)
Pushing the forward and reverse pedals activates steering.
Changing ground speed affects the turning radius.
· The turn becomes tighter as speed is reduced.
· The turn becomes wider as speed is increased.
The best way to execute a turn is to:
1. Slow down.
2. Turn the steering wheel to a full turn.
3. Complete the turn.
4. Resume travel speed and guide the steering wheel to a straight-ahead position.
To travel forward:
MX7570
1. Push down the forward travel pedal (A) slowly and guide the steering wheel straight-ahead as you begin travel.
· Do not over-steer.
2. Push down the forward travel pedal until the desired travel speed is obtained.
To travel in reverse:
NOTE: The engine and attachment will stop as the reverse pedal is pushed if the PTO knob is not in the off position.
1. Push PTO knob down to the off position to disengage attachment.
2. Look behind the machine to be sure there are no bystanders nearby.
MX7570
3. Push down the reverse travel pedal (B).
To stop travel and steering:
MX7570
· Push down brake pedal (C).
Using Reverse Implement Option
c CAUTION: Avoid injury! Rotating blades are dangerous. Children or bystanders may be injured by runover and rotating blades.
Before backing up, carefully check the area around the machine.
|
NOTE: Operating the mower while backing up is strongly discouraged. The Reverse Implement Option should be used only when operating another attachment or when the operator deems it necessary to reposition the machine with the mower engaged.
1. Stop forward travel.
2. Look behind the vehicle to be sure there are no bystanders.
MX10558
3. Lift and hold the PTO knob (A) up past the PTO engagement position while depressing reverse foot pedal slightly.
NOTE: If the engine and attachment stop while repositioning the machine, return PTO knob to the off position. Start engine and engage attachment. Begin again with Step 2.
4. As the machine begins to move rearward, release the PTO knob and reposition the machine.
5. Resume forward travel. The attachment should continue operating.
6. Repeat procedure to position the machine again.
Using Mower Lift Pedal
Raising Mower Deck:
MX4900
1. Push and hold lift pedal (A) down.
2. Pull lift lever (B) up to lock mower deck in the transport position.
3. Release lift pedal. Pedal should stay down and lift lever should stay locked.
Lowering Mower Deck:
MX4900
1. Push and hold lift pedal (A) down.
2. Push lift lever (B) down to unlock.
NOTE: Keep lift lever in the unlocked position while mowing. Mower floats along ground contour while maintaining desired cutting height.
3. Release lift pedal. Mower deck will be lowered to the set cutting height and in the float position.
Using Mower
1. Start engine and run at half-speed position for a couple of minutes to warm-up.
2. Lower mower to desired cutting height position.
MX7574
3. Push throttle lever (A) up to the full throttle position.
4. Pull PTO knob (B) up to start mower.
NOTE: The mower and engine will stop as the reverse foot pedal is depressed with mower engaged.
5. Disengage PTO before moving in reverse.
6. Push PTO knob (A) down to stop mower blades.
Mower Blade Selection
42C Blades
· Side Discharge Blades: Come as standard equipment on 42C mower deck. Provide optimum performance for side-discharging. Provide good performance when using both rear bagger chute and high-performance mulch plug kit under normal conditions.
· Mulch Blades: Provide optimum performance in all conditions when used with high-performance mulch plug kit (two blades supplied with kit). Provide good performance when side discharging under normal conditions. Not recommended for bagging under normal conditions, but may bag limited amount of dry grass and leaves.
IMPORTANT: Avoid damage! Bagging blades will damage mulch plug. Remove mulch plug when using bagging blades.
|
· Bagging Blades: Provide optimum bagging performance under all conditions. Provide good performance when side discharging but may create more noise and dust than necessary.
Freedom42 Blades
· Mower deck performance depends on using the correct mower blade for your mower. Use the following recommendation when choosing blades:
· Mulch blades are standard. (Blades must be ordered in a set, with a left and right blade.)
48C Blades
· Standard Blades: Designed for bagging, side discharging and all mowing conditions.
· Mulch Blades: Should be used with the Optional Mulch Kit.
Pushing Machine (Using Free-Wheeling Lever)
c CAUTION: Avoid injury! With the free-wheeling valve open, the machine will have unrestricted motion.
· The machine may free-wheel out of control if the free-wheeling valve is opened with the machine on an incline.
· Park the machine on a level surface before opening the free-wheeling valve.
|
IMPORTANT: Avoid damage! Transmission damage may occur if the machine is towed or moved incorrectly:
· Move unit by hand only.
· Do not use another vehicle to move unit.
· Do not tow unit.
|
1. Unlock the park brake.
MX7567
2. Push free-wheeling lever (A) all the way forward as far as it will go until it locks in the `push' position (B).
3. Push machine to desired location.
IMPORTANT: Avoid damage! The transmission might be damaged if the free-wheeling lever is not pushed back to operating position before attempting to start the engine. Do not start or operate the machine with the free-wheeling lever in the push position.
|
MX7567
4. Move free-wheeling lever (A) all the way back to the operating position (C).
Unplugging Mower or Optional Bagger
c CAUTION: Avoid injury! Rotating blades are dangerous:
· Park the machine safely and lock the park brake before getting off the seat.
· Turn the mower off.
· Stop the engine.
|
Before getting off the seat:
1. Stop machine.
2. Disengage mower blades.
3. Move throttle lever to slow position.
4. Lower mower to the ground.
5. Lock the park brake.
6. Stop the engine.
7. Remove the key.
8. Wait for all moving parts to stop.
Transporting Machine on Trailer
Be sure trailer has all the necessary lights and signs required by law.
c CAUTION: Avoid injury! Use extra care when loading or unloading the machine onto a trailer or truck.
· Park trailer on a level surface.
· Use of a trailer with sides is recommended.
· Do not use individual tire ramps. Use of a full width loading ramp is recommended.
· Keep wheels away from drop-offs and edges.
· Back slowly and in a straight line.
|
IMPORTANT: Avoid damage! Transmission damage may occur if the machine is towed or moved incorrectly:
· Move unit by hand only.
· Do not use another vehicle to move unit.
· Do not tow unit.
|
1. Park trailer on a level surface.
2. Use a full width loading ramp and drive forward onto heavy-duty trailer with sides.
3. Lower mower to trailer deck.
4. Lock park brake.
5. Fasten tractor to trailer with heavy-duty straps, chains, or cables. Both front and rear straps must be directed down and outward from tractor.
6. Strap down hood.
Using Weights
c CAUTION: Avoid injury! The machine may become unstable when operating on slopes and/or with some attachments.
Use recommended front or rear weights to improve stability when operating on slopes or using attachments.
Remove weights when not required.
|
NOTE: See your John Deere dealer for Front Weight Kit and Rear Traction Weight Kit.
· Install front weights for added stability when using equipment such as the rear-mounted grass bagger.
· Remove front weights when not required for using the rear-mounted grass bagger.
· Install rear traction weight kit to improve slope operation when mowing or when using the snow blade.
Installing Tire Chains
NOTE: Chains for the rear tires are available from your authorized dealer.
Mowing Tips
The following recommendations will produce the best lawn cut quality and appearance:
· Keep mower blades sharp. Dull blades will tear grass; tips of grass will then turn brown.
· Cutting grass too short may kill grass and let weeds grow easily. The suggested finished cut height range is 44 to 70 mm (1.75 to 2.75 in.).
· Adjust cutting height to remove only 1/3 of the grass at a time.
· When using the Freedom42 Mulching Mower: Shorter cut heights will provide better cut quality, but may leave noticeable clippings. Higher cut heights will reduce clippings, but cut quality may decline.
· Do not mow wet grass.
· Mow grass often. Short grass clippings will decay quickly.
· Mow with engine at full throttle.
· Adjust travel speed to match mowing conditions:
· Travel at slow speed when you mow thick, tall grass, make sharp turns, trim around objects, or when mulching.
· Travel at moderate speed when you mow thin grass.
· Use a different mowing pattern each time you mow. Overlap mowing paths 50 to 100 mm (2 to 4 in.).
· To allow for better cut quality mow a straight path and then slow the machine down to make a tight turn.
· Drive over ridges and through shallow ditches straight-on, not at an angle.
· When mulching near pavement, overlap the pavement by 50 mm (2 in.) to allow clippings to dispense over grass.
· A thick layer of mulched leaves can prevent sunlight from getting to grass and smother it. Taller grass heights allow mulched leaves to dispense easier in lawn. Mulch leaves several times if needed.
· Use a thatcher in late spring or summer to pull up dead grass and aerate ground.
|