
Operating
Engine Break-In
Poor engine performance can result from improper break-in or incomplete break-in time. Break-in is the period of initial run time that seats the piston rings to the cylinder wall.
New engines need to be run hard, under varying loads for at least 5 hours and may not be completely broken-in until after 50 hours. Follow these guidelines:
· Run engine at full throttle during operation. Use partial throttle only for 30-60 seconds to warm a cold engine.
· Run engine under load by mowing, blowing snow, etc.
· Check oil and coolant (if equipped) levels often. Top off as necessary.
· Follow the break-in service intervals.
Engine may show these symptoms during break-in:
· Excess exhaust smoke at startup and during operation.
· High oil consumption.
· Low power/compression.
· Slight surging at full throttle when not under load.
· Fuel in the oil.
Daily Operating Checklist
o Test safety systems.
o Check tire pressure.
o Check fuel level.
o Check engine oil level.
o Check transmission oil level.
o Check coolant level on liquid cooled engine.
o Remove grass and debris from machine.
o Clean air intake screen.
o Check area below machine for leaks.
Avoid Damage to Plastic and Painted Surfaces
· Do not wipe plastic parts unless rinsed first.
· Insect repellent spray may damage plastic and painted surfaces. Do not spray insect repellent near machine.
· Be careful not to spill fuel on machine. Fuel may damage surface. Wipe up spilled fuel immediately.
Operator Station Controls
MX30333
A - Attachment Lift Pedal
B - Light Switch
C - Indicator Lights
D - Hour Meter
E - PTO/RIO Switch
F - Brake Pedal
G - Forward Travel Pedal
H - Reverse Travel Pedal
I - Key Switch
J - Park Brake Lever
K - Cruise Control Lever
L - Mower Height Control Knob
M - Choke Lever
N - Throttle Lever
O - Attachment Lock Handle
Miscellaneous Controls
MX30479
A - Free-Wheeling Lever
MX8400
A - Fuel Tank Cap
Adjusting Seat
Adjusting Seat Position
M95967
1. Push lever (A) to the left.
2. Slide seat forward or rearward to desired position.
3. Release lever.
Adjusting Ride Comfort
IMPORTANT: Avoid damage! To prevent damage to seat switch and seat base, do not operate without suspension coils in place.
|
1. Lift seat.
2. Rotate suspension coils into desired position:
M96407
· Move coils to front position (A) for softest ride.
· Move coils to middle position (B) for average ride.
· Move coils to rear position (C) for firm ride.
NOTE: Additional suspension coils can be installed for extra support. See your John Deere dealer.
Adjusting Cutting Height
NOTE: Cutting height can be adjusted from approximately 25-102 mm (1-4 in.). Cut height is approximately 102 mm (4 in.) when lift lever is in transport position.
Mower must be raised completely before turning height control knob.
1. Park machine safely. (See Parking Safely in the SAFETY section.)
2. Raise mower deck completely by pressing lift pedal.
M95967
3. Turn mower height control knob (A) to desired cutting height. Mower will be at set cutting height when lowered.
4. Adjust mower wheels.
Adjusting Mower Wheels
c CAUTION: Avoid injury! Rotating blades are dangerous. Before adjusting or servicing mower:
· Disconnect spark plug wire(s) to prevent engine from starting accidently.
· Always wear gloves when handling mower blades or working near blades.
|
IMPORTANT: Avoid damage! The mower deck can be damaged if mower wheels are adjusted wrong:
· Mower wheels must not ride on the ground unless power flow is installed. Use of power flow requires special mower wheel adjustment.
· Check wheel adjustment each time cutting height is changed.
|
1. Park machine safely on a level surface. (See Parking Safely in the SAFETY section).
2. Inflate tires to correct pressure.
3. Press lift pedal and lock in place.
4. Adjust cutting height.
5. Lower mower to cutting position.
6. Measure distance between mower wheels and ground surface:
· Freedom42 Mower - All wheels should be 3-13 mm (1/8-1/2 in.) from ground.
· 42 Mower - All wheels should be 3-9 mm (1/8-3/8 in.) from ground.
· 48 and 54 Mower - All wheels should be 6-13 mm (1/4-1/2 in.) from ground.
7. Adjust mower wheels to correct height:
MX7590
· Freedom42 Mower - Remove bolt and washer (A) and nut (B). Move wheel and bushing (C) to proper hole position. Secure with bolt, washer, and nut. Tighten nut to 34 N·m (25 lb-ft).
MX8382 MX8381
Picture Note: 42 shown left, 48 shown right.
· 42 and 48 Mower - Remove spring locking pin (D) and drilled pin (E). Move wheel to proper hole position. Install pins.
MX8332
· 54 Mower - Pull pin (F) outward and move wheel to proper hole position. Release pin to lock wheel in position.
Adjusting Mower Level (Side-to-Side)
c CAUTION: Avoid injury! Rotating blades are dangerous. Before adjusting or servicing mower:
· Disconnect spark plug wire(s) to prevent engine from starting accidently.
· Always wear gloves when handling mower blades or working near blades.
|
NOTE: Mower wheels should not contact the ground when leveling the deck.
1. Park machine safely on a level surface. (See Parking Safely in the SAFETY section).
2. Inflate tires to the correct pressure.
3. Adjust cutting height to 50 mm (2 in.).
4. Lower mower to cutting position.
NOTE: The difference between blade measurements must not be more than 3 mm (1/8 in.).
5. Turn left blade parallel to axle and complete measurement. Hold drive belt and turn right blade parallel to machine axle and complete measurements.
MIF
Picture Note: A convenient leveling gauge (A) is available from your John Deere dealer.
6. Measure from each outside blade tip (B) to the level surface.
NOTE: Cutting height can closely match knob setting by adjusting lift links on both sides of deck.
Deck will not lock in transport position if adjusted too high.
M96012
Picture Note: Left side shown.
7. Adjust lift links, turn nut (C):
· Clockwise to raise left side of mower.
· Counterclockwise to lower left side of mower.
Adjusting Mower Level (Front-to-Rear)
c CAUTION: Avoid injury! Rotating blades are dangerous. Before adjusting or servicing mower:
· Disconnect spark plug wire(s) to prevent engine from starting accidently.
· Always wear gloves when handling mower blades or working near blades.
|
NOTE: Mower wheels should not contact the ground during leveling.
1. Park machine safely on a level surface. (See Parking Safely in the SAFETY section.)
2. Inflate tires to the correct pressure.
3. Adjust cutting height to 50 mm (2 in.).
4. Lower mower deck completely.
5. Turn right blade so blade tip points straight forward.
M40137
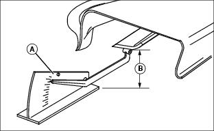
Picture Note: A convenient leveling gauge (A) is available from your John Deere dealer.
6. Measure distance (B) from blade tip to level surface:
· Freedom42 Mower - The difference between the front and rear blade tip measurements must not be more than 3 mm (1/8 in.)
· 42 Mower - The front blade tip must be 3-9 mm (1/8-3/8 in.) lower than rear blade tip.
· 48 and 54 Mower - The front blade tip must be 3-6 mm (1/8-1/4 in.) lower than rear blade tip.
7. Adjust front-to-rear mower level if necessary:
M95976
a. Loosen rear nut (C) on each side of front lift rod.
b. Turn front nut (D) on each side clockwise to raise front of mower or counterclockwise to lower it.
c. Tighten rear nuts after adjustment is complete.
8. Check adjustment by measuring blade tips again.
Testing Safety Systems
c CAUTION: Avoid injury! Engine exhaust fumes contain carbon monoxide and can cause serious illness or death.
Move the vehicle to an outside area before running the engine.
Do not run an engine in an enclosed area without adequate ventilation.
· Connect a pipe extension to the engine exhaust pipe to direct the exhaust fumes out of the area.
· Allow fresh outside air into the work area to clear the exhaust fumes out.
|
Use the following checkout procedure to check for normal operation of machine.
If there is a malfunction during one of these procedures, Do not operate machine. See your authorized dealer for service.
Perform these tests in a clear open area. Keep bystanders away.
Testing Park Brake Switch
1. Park machine safely. (See Parking Safely in the SAFETY section.)
2. Sit on seat.
3. Unlock the park brake.
4. Try to start engine.
Result: Engine must not crank. If engine cranks, there is a problem with your safety interlock circuit.
Testing Park Brake
1. Park machine safely. (See Parking Safely in the SAFETY section.)
2. Lock the park brake.
3. Try to push machine manually.
Result: Park brake must prevent machine from moving. If machine moves, park brake needs to be adjusted.
Testing PTO Switch
1. Park machine safely. (See Parking Safely in the SAFETY section.)
2. Sit on seat.
3. Lock the park brake.
4. Engage the PTO switch.
5. Try to start engine.
Result: Engine must not crank. If engine cranks, there is a problem with your safety interlock circuit.
Testing Seat Switch
Test 1
1. Start the engine.
2. Move throttle lever to maximum speed position.
3. Unlock the park brake.
4. Engage the PTO switch.
5. Raise up off seat. Do not get off machine.
Result: Engine should begin to stop. PTO should shut off immediately and mower blades should stop.
Test 2
1. Disengage the PTO switch.
2. Start the engine.
3. Unlock the park brake.
4. Raise up off seat. Do not get off machine.
Result: Engine should stop. If engine does not stop, there is a problem with your safety interlock circuit.
Test 3
1. Start the engine.
2. Lock the park brake.
3. Raise up off seat. Do not get off machine.
Result: Engine should continue to run.
Testing Reverse Implement Option (RIO)
c CAUTION: Avoid injury! Rotating blades are dangerous. Children or bystanders may be injured by runover and rotating blades.
Before backing up, carefully check the area around the machine.
|
1. Park machine safely. (See Parking Safely in the SAFETY section.)
2. Start the engine.
3. Engage PTO to start attachment.
4. Look behind the machine to be sure there are no bystanders.
5. Begin reverse travel by depressing reverse foot pedal.
Result: Attachment should stop operation. If attachment continues to operate as machine begins travel in reverse, do not continue to operate mower.
Using Park Brake
c CAUTION: Avoid injury! Children or bystanders may attempt to move or operate an unattended machine.
Always lock the park brake and remove the key before leaving the machine unattended.
|
Locking Park Brake
MX30336
1. Push and hold down brake pedal (A).
2. Pull up park brake lever (B) to lock park brake.
3. Release brake pedal. Pedal should stay down and park brake lever should stay up in locked position.
Unlocking Park Brake
1. Push and hold down brake pedal (A).
2. Push down park brake lever (B) to unlock park brake.
3. Release brake pedal. Pedal should come up to operating position.
Using Headlights
MX8386
· Press at top of light switch (A) to turn headlights on.
· Press at bottom of light switch (A) to turn headlights off.
Using Indicator Lights and Hour Meter
MX30334
A - Oil Pressure Indicator - will come on when you turn the key to the run position. Indicator should go out when engine is started. If indicator comes on during operation, engine oil pressure is too low. Stop engine and perform appropriate service.
B - Battery Discharge Indicator - will come on when you turn the key to the run position. Indicator should remain on during the starting cycle and then go off. The indicator may remain on at low idle or if battery charge is low and the PTO and headlights are turned on. If indicator comes on during normal operation, stop engine and perform appropriate service.
C - Coolant Temperature Indicator (Model LX289 Only, not shown) - will not come on when you turn the key to the run position. If indicator comes on during operation, coolant temperature is above normal operating temperature. Stop engine and perform appropriate service. Coolant light will come on momentarily when key is turned to the start position.
D - Hour Meter - shows the number of hours the engine has run. The hour meter will run with the engine off when the key is in the run position with the operator's seat occupied or the park brake locked with PTO off. Use the hour meter to determine when your machine has reached the recommended service intervals.
Checking Fuel Level
MX30480
Check fuel level in fuel tank (A).
Starting the Engine
c CAUTION: Avoid injury! Engine exhaust fumes contain carbon monoxide and can cause serious illness or death.
Move the vehicle to an outside area before running the engine.
Do not run an engine in an enclosed area without adequate ventilation.
· Connect a pipe extension to the engine exhaust pipe to direct the exhaust fumes out of the area.
· Allow fresh outside air into the work area to clear the exhaust fumes out.
|
NOTE: Engine will not start unless park brake is applied and PTO is disengaged.
1. Sit on seat.
2. Make sure PTO switch is disengaged.
3. Push down brake pedal.
MX8388
4. Adjust throttle setting:
· If engine is cold, move throttle lever (A) between the half throttle and fast throttle positions.
· If engine is warm, move throttle lever (A) to slow throttle position.
5. Adjust choke setting:
· If engine is cold, push and hold choke lever (B) all the way up to the choke position.
· If engine is warm, push and hold choke lever (B) half way up or do not use at all depending on engine temperature.
MX8389
6. Turn key to run position (C).
7. Make sure the oil pressure and battery discharge indicators illuminate.
IMPORTANT: Avoid damage! Starter may be damaged if operated longer than 20 seconds at a time. Wait two minutes between starting intervals if engine does not start immediately.
|
8. Turn key to start position (D) for no more than 5 seconds.
9. Release key to run position (C) and release choke lever when engine starts. If engine does not start:
a. Wait 10 seconds.
b. Hold choke lever in the choke position.
c. Turn key to start position again for no longer than 5 seconds. Release key and choke lever when engine starts.
d. Repeat procedure if necessary.
IMPORTANT: Avoid damage! Unnecessary engine idling can cause engine overheating, carbon build-up, and poor performance.
|
10. Run engine at half throttle for 30-60 seconds to allow warm-up before operating.
Stopping the Engine
1. Stop the machine.
MX8388
2. Move throttle lever (A) to the slow position. Allow engine to idle for several seconds.
MX8389
3. Turn key to stop position (B).
4. Lock the park brake.
5. Remove the key.
Using Travel Controls
c CAUTION: Avoid injury! Children or bystanders can be injured or killed by moving machine and rotating blades. Before traveling forward or rearward:
· Carefully check the area around the machine.
· Disengage mower before backing up.
|
Forward Travel
1. Start the engine.
2. Unlock the park brake.
MX30336
3. Push down slowly on forward pedal (A) until desired travel speed is obtained.
4. Release forward pedal and machine will automatically return to neutral and stop.
Reverse Travel
NOTE: Any operating attachment will stop as the reverse foot pedal is depressed with attachment engaged.
1. Stop the machine.
2. Push PTO knob down to the off position to disengage attachment.
3. Look behind the machine to be sure there are no bystanders nearby.
4. Push down slowly on reverse pedal (B).
Stopping
1. Release either travel pedal, machine will automatically return to neutral and stop.
2. Push down brake pedal (C).
Using the Reverse Implement Option (RIO)
c CAUTION: Avoid injury! Children or bystanders can be injured or killed by moving machine and rotating blades. Before traveling forward or rearward:
· Carefully check the area around the machine.
· Disengage mower before backing up.
|
NOTE: Operating the mower while backing up is strongly discouraged. The Reverse Implement Option should be used only when operating another attachment or when the operator deems it necessary to reposition the machine with the mower engaged.
1. Stop the machine. Allow attachment to run.
2. Look behind the machine to be sure there are no bystanders.
MX8383
3. Lift PTO switch (A) past the PTO engagement position while depressing reverse foot pedal slightly.
NOTE: If the attachment stops while positioning the machine, return PTO switch to off position. Repeat this procedure from the beginning.
4. As the machine begins to move backward, release the PTO switch and position the machine.
5. Resume forward travel. The attachment should continue operating.
6. Repeat procedure to position the machine again.
Using Mower Attachment/ Mower Lift Pedal
NOTE: Make sure the tension on the lift assist spring is properly adjusted to support the weight of the mower deck or attachment installed.
MOWING POSITION
Mower floats along ground contour while maintaining desired cutting height. The mower will always float up and back down onto the depth stop.
MX30336
1. Press lift pedal (A), make sure pedal latch handle (B) is in lower position, select cut height on knob, release pedal to lower deck
TRANSPORT POSITION
Holds mower above ground level while traveling to and from worksite.
1. Push forward on lift pedal.
2. Raise pedal latch handle to latch deck in transport (raised) position.
3. Remove foot from lift pedal and mower stays up.
Using Cruise Control
c CAUTION: Avoid injury!
Do not use cruise control when going down hills. Machine speed will increase.
Operate machine in a large, open area to learn how the cruise control works.
|
IMPORTANT: Avoid damage! The reverse pedal linkage will be restricted if the cruise control lever is not completely rearward in the OFF position.
Manually pull cruise control lever completely rearward to OFF when not in use.
|
Use cruise control when you want to maintain travel speed without having to hold the forward travel pedal down. Cruise control operates only for forward travel.
Engaging Cruise Control
MX30336
1. Put cruise control lever (A) in OFF position.
2. Move cruise control lever forward to the slow speed position to begin forward machine travel.
3. Continue to move lever forward to increase speed.
4. Release lever when desired cruise speed is reached.
Disengaging Cruise Control
· Move cruise control lever (A) completely rearward to OFF position, or
· Push down park brake pedal (B), then move cruise control lever (A) completely rearward to OFF position.
Using PTO (Power Take-Off)
NOTE: PTO operation will stop if reverse pedal is depressed. Understand the Reverse Implement Option (RIO) system before operating the PTO.
1. Start the engine. If necessary, allow engine to warm up before operating PTO.
NOTE: Always operate at maximum throttle speed when PTO is engaged.
MX30334
2. Move throttle lever (A) to fast position.
3. Move PTO switch (B) to desired position:
· Engage PTO - Lift up on switch lever to "l" position.
· Disengage PTO - Push down on switch lever to "O" position.
· Maintain PTO engagement in reverse - Lift and hold switch lever in the highest position.
Pushing Machine (Using Free-Wheeling Lever)
c CAUTION: Avoid injury! With the free-wheeling valve open, the machine will have unrestricted motion.
· The machine may free-wheel out of control if the free-wheeling valve is opened with the machine on an incline.
· Park the machine on a level surface before opening the free-wheeling valve.
|
IMPORTANT: Avoid damage! Transmission damage may occur if the machine is moved incorrectly:
· Move unit by hand only.
· Do not use another vehicle to move unit.
· Do not tow unit.
|
1. Unlock the park brake.
MX30479
2. Pull out on free-wheeling lever (A).
3. Push machine to desired location.
NOTE: The free-wheeling lever will return to operating position when brake pedal is pressed.
Unplugging Mower, Bagger, or Material Collection System
c CAUTION: Avoid injury! Do not attempt to unplug attachment with machine running.
· Rotating blades are dangerous. Shut off the engine and remove the key before getting off the seat to inspect the machine and attachment.
· Thrown objects can cause serious injury. Make sure all machine parts are stopped before raising hopper top or removing chutes.
|
Checking For Plugging
Check the flow indicator on MCS chute (if equipped) periodically for any indication of loss of air flow.
If grass builds up in front of mower discharge chute, check for plugged chute or problems with blower assembly (if equipped).
If there is a trail of clippings behind mower or clippings blow to the side, check for plugged chute, full collector bags, or problems with blower assembly.
Removing Debris From Inspection Points:
1. Park machine safely. Wait for all moving parts to stop before getting off to inspect machine.
2. Open hopper cover. Check chute outlet.
3. Remove chute from mower deck or blower assembly. Check chute inlet.
4. Check under mower deck for debris.
Transporting Machine on Trailer
Be sure trailer has all the necessary lights and signs required by law.
c CAUTION: Avoid injury! Use extra care when loading or unloading the machine onto a trailer or truck.
· Park trailer on a level surface.
· Keep wheels away from drop-offs and edges.
|
1. Park trailer on a level surface.
2. Drive forward onto heavy-duty trailer with sides.
3. Lower mower to trailer deck.
4. Lock the park brake.
5. Fasten machine to trailer with heavy-duty straps, chains, or cables. Both front and rear straps must be directed down and outward from machine.
6. Strap down hood.
Using Weights
c CAUTION: Avoid injury! The machine may become unstable when operating on slopes and/or with some attachments.
Use weights to improve stability when operating on slopes or using attachments.
|
NOTE: Install weights using the instructions provided with your weights. Remove weights when not required.
Using Front Weights
Install front wheel weights (Max of four suitcase weights) for better stability and steering control when you use equipment such as the rear-mounted grass bagger.
Using Rear Weights
Install rear weight bracket kit with suitcase weights (Max of two suitcase weights) when using front-mounted attachments such as a snowthrower or blade.
Installing Tire Chains
IMPORTANT: Avoid damage! Loose tire chains can cause machine damage. Periodically check chain tightness and adjust as necessary.
|
NOTE: Chains are available from your John Deere dealer. Do not use chains while mowing grass.
1. Park machine safely. (See Parking Safely in the SAFETY section.)
2. Lay chains out flat with the cross chain hook ends facing downward.
3. Remove any twists and tangles from cross chain and rim chain.
4. Drive machine onto chains.
M73743
5. Drape chain over tire with the lever fastener on outside of tire and cross link hooks (A) facing upward and away from tire.
6. Adjust chain for straightness and an even amount of cross chain links on each side of tire.
7. Place the first cross chain (opposite the end with fastener and inside hook) under tire.
8. Pull the inside rim chain tight and hook the inside hook.
M73744
9. Pull the outside rim chain tight and hook the outside lever fastener (B) by running the end through a free link (C).
M73745
10. Close the fastener by rotating it back 180° and engaging the hook (D) on the end of the fastener into a rim chain link (E).
Make sure the chain is centered on the tire with approximately the same number of free rim links (F) on the inside and outside.
NOTE: The chain should be as tight as possible. If chain is loose, unhook the fastener and pull chain tight again.
M73746
11. Tie excess rim chain links (G) back to the rim chain.
12. Drive forward on chains 9-12 m (30-40 ft.) and recheck for tightness. Adjust as necessary.
Mowing Tips
The following recommendations will produce the best lawn cut quality and appearance:
· Keep mower blades sharp. Dull blades will tear grass; tips of grass will then turn brown.
· Cutting grass too short may kill grass and let weeds grow easily.
· Adjust cutting height to remove only 1/3 of the grass at a time.
· Mow grass often. Short grass clippings will decay quickly.
· Mow with engine at full throttle.
· Adjust travel speed to match mowing conditions:
· Travel at slow speed when you mow thick, tall grass, make sharp turns, trim around objects, or when mulching.
· Travel at moderate speed when you mow thin grass.
· Use a different mowing pattern each time you mow. Overlap mowing paths 50 to 100 mm (2 to 4 in).
· Drive over ridges and through shallow ditches straight-on, not at an angle.
· A thick layer of mulched leaves can prevent sunlight from getting to grass and smother it. Taller grass heights allow mulched leaves to dispense easier in lawn. Mulch leaves several times if needed.
· Use a thatcher in late spring or summer to pull up dead grass and aerate ground.
|