
Operating
Stopping Tractor and Blade
When stopping tractor, do the following:
1. Put transmission in NEUTRAL position.
2. Lower blade to ground.
3. STOP engine.
MX30344
4. LOCK park brake (A).
5. Remove key (B).
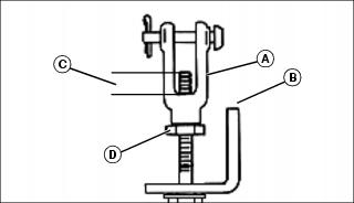
Releasing Blade From Tripped Position
M39236
c CAUTION: Avoid injury! Blade may cause injury when it snaps back to normal after being tripped. Use a safe tool to pry objects from between blade and blade support.
|
• Keep hands, feet and clothing away from blade.
• Keep clear of blade. Pry objects from between blade and blade support with a safe tool.
Raising and Lowering Blade
MX30484
• To raise blade: Push foot pedal (A) all the way down (towards front of machine), and pull up on lock lever (B) to lock into raised position.
• To lower blade: Push down slightly on foot pedal (A) and push down on lock lever (B) to unlock latch; Release lift pedal to lower blade to the ground.
Adjusting Lift Pedal Spring Tension
MX30777, MX30710
• Be sure lift spring adjustment bar (A) is set to 48 blade setting (B). Adjust tension, by rotating adjusting bolt (C) (in left front frame tunnel) clockwise to increase tension, and counterclockwise to decrease tension.
• If blade’s lift effort is too high increase spring tension, by rotating adjusting bolt (C) (in left front frame tunnel) clockwise to increase tension, and counterclockwise to decrease tension, however too much spring tension may cause blade to “float” along surface being bladed.
Adjusting Lift Height
c CAUTION: Avoid injury! Before adjusting lift height:
• STOP engine.
• LOCK park brake.
|
M41413b
1. Blade Lift can be adjusted by turning two yokes (A) on blade frame (B).
NOTE: Approximate setting for adjusting: adjust jam nuts until bolt exposed inside of yoke, dimension (C), is approximately 7 - 9 mm (0.28 - 0.35 in.).
• To INCREASE lift height: Loosen jam nut (D) and turn yokes (A) clockwise.
• To DECREASE lift height: Loosen jam nut (D) and turn yokes (A) counterclockwise.
2. Lift blade to check adjustment and make further adjustments, if necessary.
Leveling Side-to-Side
c CAUTION: Avoid injury! Before adjusting side-to-side:
• STOP engine.
• LOCK park brake.
|
1. Blade must be level side-to-side in RAISED position.
2. To level blade, adjust yokes on blade frame:
M41413b
• Loosen jam nut (A) on yoke (B) on Low side of blade.
• Adjust yoke until blade is level.
• Tighten jam nut.
• Adjust yokes as needed.
Adjusting Skid Shoes
c CAUTION: Avoid injury! Before adjusting skid shoes:
• STOP engine.
• LOCK park brake.
|
NOTE: Each Skid Shoe MUST be set at the same height.
FOR LEVELING OR CLEARING:
Lower each skid shoe to help prevent gouging.
FOR DIGGING:
Raise each skid shoe to lower working height of blade.
M92940
1. Remove spring locking pin and drilled pin (A) on both skid shoes.
2. Move each skid shoe (B) to desired position.
3. Install drilled pin and fasten with spring locking pin.
Adjusting Blade Angle
c CAUTION: Avoid injury! Before adjusting blade angle:
• STOP engine.
• LOCK park brake.
|
Blade can be LOCKED in five positions:
• Straight
• Left 15° or 30°
• Right 15° or 30°
To angle blade WITHOUT a Manual Angling Kit:
M92951
1. Raise lever (A).
2. Move blade to desired position and release lever. Move blade until it locks.
To angle blade WITH a Manual Angling Kit:
M92974
1. Turn handle (B) to the left.
2. Push or pull handle to angle blade.
3. Release handle.
4. Push or pull handle until blade LOCKS.
Using Spring Trip
c CAUTION: Avoid injury! Hitting an obstruction with latch pin LOCKED may damage blade and injure operator. Drive slow when you use blade with latch pin LOCKED.
|
M92954, M58956
FOR NORMAL OPERATION:
• Put latch pin (A) in the UNLOCKED position (B).
FOR DIGGING OR SPECIAL OPERATION:
• Put latch pin (A) in the LOCKED position (C).
Operating Tips
c CAUTION: Avoid injury! Do not use blade as a battering ram. Do not operate at a high speed. Hitting a solid object at high speeds can damage blade and injure operator.
|
1. Operate blade at slow travel speed.
2. This is a light material blade. Blade is not intended to move large amounts of heavy material. Use common sense when you move material.
3. Operate engine at FULL THROTTLE for best performance.
4. If blade penetrates too much:
• Raise blade.
• Adjust height of skid shoes.
5. Angle blade to left or right:
• To clear material by moving it to the side.
• To clear and level at same time.
• To clear snow or light material.
• To lessen power needed to move material.
• To lessen rear wheel slip.
6. Use blade in straight-across position:
• To move material straight ahead.
• For light leveling.
7. To remove wet material - snow or slush - from a hard surface, install optional rubber squeegee. (See your John Deere dealer for squeegee.)
8. After you are finished using blade:
• Clean blade with water under pressure.
• Park blade on hard, level surface.
• STOP engine.
• Lower blade to the ground.
• LOCK park brake and REMOVE key.
Transporting
IMPORTANT: Avoid damage! ALWAYS LOWER BLADE to trailer deck when transporting.
|
1. Drive tractor and blade onto heavy-duty trailer.
2. LOWER BLADE to trailer deck.
3. STOP engine.
4. LOCK park brake.
5. Fasten tractor and blade to deck with straps, chains, or cables.
6. Trailer must have lights and signs required by law.
|