
Preparing Vehicle
Remove Mulch Kit
The mulch kit is not compatible with the installation of the POWER FLOW Bagger. If a mulch kit is installed on your mower, you must remove the mulching insert, cover plate, and mulching blades. (See the installation instructions shipped with your mulch kit.) The front lip sections provided with the mulch kit may remain on the deck and will improve bagging performance.
The standard blades shipped with your mower must be installed to the mower deck for use when bagging.
Install Double Sheave
c CAUTION: Avoid injury! Rotating blades are dangerous. Before adjusting or servicing mower:
• Disconnect spark plug wire(s) or battery negative (-) cable to prevent engine from starting accidently.
• Always wear gloves when handling mower blades or working near blades.
|
IMPORTANT: Avoid damage! Perform all steps in this procedure exactly as described. Failure to complete the steps or ignore the given torque specifications could result in serious equipment damage.
|
1. Put mower deck in the lowest position.
MX17879
2. Remove and discard two cap screws (A). Remove and save cap screw (B) and right deck shield (C).
MX17880
3. Remove mower belt from sheave (D).
4. Remove and save sheave nut (E) and sheave.
IMPORTANT: Avoid damage! Hexagon-shaped hole in double sheave must align with hexagon portion of shaft of deck. Push up on blade to see hex of shaft.
|
5. Install double sheave (G) with sheave nut (F).
MX17881
6. Put mower belt on bottom sheave of double sheave.
7. Install block of wood between blade and deck to keep blade from turning.
8. Tighten sheave nut to 82 N•m (60 lb-ft).
IMPORTANT: Avoid damage! To avoid machine damage to spindle, blade nut must be loosened and tightened to specification for proper spindle operation.
|
9. Loosen nut and tighten nut to 82 N•m (60 lb-ft).
NOTE: Use screwdriver with large blade end to prevent slot from distorting. Work disk back and forth with screwdriver.
MX17895
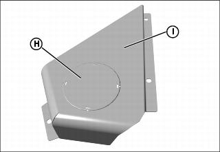
10. Use large blade screwdriver in slots to pry and knock out circular disk (H) in right deck shield (I). File off burrs.
NOTE: If the shield on your deck does not have the knockout feature, see your John Deere Dealer.
MX17882A
Picture Note: Deck removed for illustration purposes only.
11. Install shield on deck with original flange cap screw (B). Leave cap screw finger tight.
Install Power Flow Mounting Bracket
c CAUTION: Avoid injury! To prevent injury from thrown objects, do not operate mower without deflector shield in place.
|
1. Tape mower deflector shield up out of the way.
MX17883
2. Install rear bracket (A) on deck with two M8 carriage bolts (C) and M8 lock nuts (B).
Install Belt Shield Support and Belt Shield
M75284a
• Install spring (A) on belt shield support (B).
NOTE: Spring leg (C) MUST be on top side of belt shield.
M75284
Picture Note: Bottom side of belt shield shown.
• Fasten wire support assembly to plastic belt shield (D) with tie strap (E). Cut off excess end of tie strap.
IMPORTANT: Avoid damage! Always leave belt shield in place to prevent sheave from hitting tractor fender deck.
|
MX17884
• Install plastic belt shield assembly (F) on deck using one long spacer (G), one M8x60 flange cap screw (H), one short spacer (I), and one M8x40 flange cap screw (J). Tighten cap screws.
|