
Service Mower
Removing Mower
1. Park machine safely. (See Parking Safely in the Safety section.)
2. Allow engine and muffler to cool completely.
c CAUTION: Avoid injury! Rotating blades are dangerous. Before adjusting or servicing mower:
· Disconnect spark plug wire(s) or battery negative (-) cable to prevent engine from starting accidently.
· Always wear gloves when handling mower blades or working near blades.
|
3. Adjust mower cutting height to lowest position.
4. Move mower engagement lever to stop position.
5. Put wood blocks under each side of mower deck.
c CAUTION: Avoid injury! Lift pedal is spring-assisted and may have unexpected movement.
Lock lift pedal when installing or removing mower deck.
|
NOTE: For lift assist, you may need to lower deck and then pull lift pedal back by hand to lock the lift lock lever.
6. Lower mower deck onto blocks, pull back lift pedal, and slide lift lock lever up to lock draft arms down.
MX31368
7. Push back on tensioning lever (A), remove mower drive belt from engine drive sheave (B), and slowly release tensioning lever.
MX31367
8. Remove spring locking pin (C) from front draft rod (D).
9. Remove front draft rod (D) from hole in tractor bracket (E) and from mower brackets (F).
MX11140
Picture Note: Close-up of draft arm and J-pin
MX11141
Picture Note: J-pin pulled back to show hole alignment for draft arm and deck bracket
10. Pull and rotate J-pin (G) to release and move draft arm (H) away from deck bracket (I). Repeat on other side.
c CAUTION: Avoid injury! Lift pedal is spring-assisted and can snap back when deck is removed.
Hold lift pedal securely when releasing from lock (lower) position.
|
11. Raise draft arms to transport position:
a. Pull and hold lift pedal by hand.
b. Unlock lift latch handle.
c. Push down and hold lift pedal.
d. Pull up lift lock lever to lock draft arms in transport position.
12. Remove wood blocks from both sides and slide mower out from under tractor.
Installing Mower
1. Park machine safely. (See Parking Safely in the Safety section.)
2. Allow engine and muffler to cool completely.
3. Adjust mower cutting height to lowest position.
c CAUTION: Avoid injury! Rotating blades are dangerous. Before adjusting or servicing mower:
· Disconnect spark plug wire(s) or battery negative (-) cable to prevent engine from starting accidentally.
· Always wear gloves when handling mower blades or working near blades.
|
MX11141
Picture Note: J-pin pulled back to show hole alignment for draft arm and deck bracket
4. Slide mower deck, guide wheels in front, under tractor and line up deck bracket (A) with draft arm (B).
5. Put wood blocks under each side of mower deck.
6. Unlock lift lock lever.
c CAUTION: Avoid injury! Lift pedal is spring-assisted and may have unexpected movement.
Lock lift pedal when installing or removing mower deck.
|
7. Pull lift pedal by hand to lower draft arms. Hold pedal securely and lock lift lock lever.
MX11140
8. Pull back J-pin (C) and insert through deck bracket (A) and draft arm (B). Make sure pin installs completely through deck bracket.
MX31367
9. Install front draft rod (D) into mower bracket (E) and then into hole in tractor bracket (F). Make sure nut and rounded bushing are on front side of tractor bracket.
10. Install spring locking pin (G) with loop of pin hanging down.
11. Push back on tensioning lever (H), put mower drive belt on engine drive sheave (I), and slowly release tensioning lever. Make sure belt is on all sheaves and idlers and is inside all mower belt guides.
IMPORTANT: Avoid damage! The belt will be damaged if installed wrong. Route the belt properly through belt guides. See belt routing label on mower deck.
|
MX31368
12. Remove wood blocks from both sides of mower.
13. Level mower.
Replacing Mower Drive Belt
1. Park machine safely. (See Parking Safely in Safety section.)
2. Allow engine and muffler to cool completely.
3. Remove mower if desired.
MX31369
4. Remove three nuts (A) and left belt cover (B).
5. Loosen nut on stationary idler (C) and remove belt from around belt guides (D).
6. Loosen nut and move belt guide (E) to clear belt from around stationary sheave (F).
MX31370
7. Remove two nuts (G) and right belt cover (H).
8. Loosen nut and move belt guide (I) to clear belt from around center spindle sheave (J).
9. Loosen nut on tensioner sheave (K) to clear belt from around belt guide (L).
10. Remove mower belt (M).
11. Clean top of mower.
MX31371
12. Install mower deck belt (M). Use diagram above for belt routing.
13. Move belt guide (I) into position and tighten nut for guide for the center spindle sheave (J).
14. Guide belt around tensioning sheave (K) and belt guide (L), and tighten sheave nut.
15. Guide belt around stationary sheave (C) and guides (D) and tighten sheave nut.
16. Install belt around right sheave, and install belt cover (H) and two nuts.
17. Move belt guide (E) into position and tighten nut for guide for the stationary sheave (F).
18. Install belt around left spindle sheave, and install belt cover (B) and three nuts.
19. Install mower deck.
Checking for Bent Mower Blades
c CAUTION: Avoid injury! Mower blades are sharp. Always wear gloves when handling mower blades or working near blades.
Replace blades if defective. Never straighten or weld them.
|
1. Park machine safely. (See Parking Safely in the SAFETY section.)
2. Raise mower to highest position to access blades.
MX11181
Picture Note: Mower deck with side discharge used for illustration
3. Measure distance (A) between blade tip and flat ground surface.
4. Rotate blade 180° and measure distance between other blade tip and flat ground surface.
5. Install new blade if the difference between the two measurements is more than 3 mm (1/8 in.).
6. Repeat for all blades.
Servicing Mower Blades
c CAUTION: Avoid injury! Mower blades are sharp. Always wear gloves when handling mower blades or working near blades.
|
Removing Mower Blades
1. Park machine safely. (See Parking Safely in the Safety section.)
2. Raise mower deck to gain access to mower blades. If necessary, remove mower deck after allowing engine and muffler to cool completely.
3. Block mower blade with a piece of wood to prevent it from rotating.
M88119a
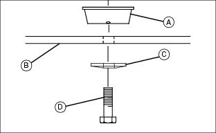
4. Loosen and remove cap screw (A), blade washer (B) and blade (C).
5. Inspect blades; sharpen, balance or replace blades as necessary.
Installing Mower Blades
NOTE: Do not lubricate cap screw.
1. Check that deflector cup (A) is properly seated between mower spindle and blade (B).
MIF
2. Position mower blade (B) with the cutting edge towards the ground onto the mower spindle.
3. Install blade washer (C) with cup side toward the blade.
IMPORTANT: Avoid damage! Improperly installed blades can loosen during operation. Do not lubricate or use power tools when installing the blade bolt or the bolt will be ineffective.
· Use a hand torque wrench and tighten bolts to blade bolt torque of 68 N·m (50 lb-ft).
|
4. Install and hand tighten cap screw (D) until mower blade is in full contact with spindle.
5. Block mower blade with a piece of wood to prevent rotating and tighten cap screw to 68 N·m (50 lb-ft).
Sharpening Blades
c CAUTION: Avoid injury! Mower blades are dangerous!
· Always wear gloves while working on blades.
· Always wear safety eye protection when grinding.
|
· Sharpen blades with grinder, hand file, or electric blade sharpener.
MIF
· Keep original bevel (A) when grinding.
· Blade should have 0.40 mm (1/64 in.) cutting edge (B) or less.
· Balance blades before installing.
Balancing Blades
c CAUTION: Avoid injury! Mower blades are sharp. Always wear gloves when handling mower blades or working near blades.
|
1. Clean blade.
M61524
2. Put blade on nail in a vise. Turn blade to horizontal position.
3. Check balance. If blade is not balanced, heavy end of blade will drop.
4. Grind bevel of heavy end. Do not change blade bevel.
|