
Service Mower
Removing Mower
1. Park machine safely. (See Parking Safely in the Safety section.)
2. Allow engine and muffler to cool completely.
c CAUTION: Avoid injury! Rotating blades are dangerous. Before adjusting or servicing mower:
· Disconnect spark plug wire(s) or battery negative (-) cable to prevent engine from starting accidently.
· Always wear gloves when handling mower blades or working near blades.
|
3. Adjust mower cutting height to lowest position.
4. Put wood blocks under each side of mower deck.
c CAUTION: Avoid injury! Lift pedal is spring-assisted and may have unexpected movement.
Lock lift pedal when installing or removing mower deck.
|
NOTE: Because a lift assist is installed on your machine, you may need to lower deck and then pull lift pedal back by hand to lock the lift lever.
5. Lower mower deck onto blocks, pull back lift pedal by hand, and pull lift pedal lever to lock.
MX11103
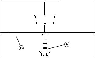
6. Remove nuts and spacers (A) and belt covers (B) from left side of deck.
MX11102
Picture Note: Mower engagement rod is located on left side of mower deck.
MX11102a
Picture Note: Close-up of mower engagement rod and adjustment pin.
7. Remove spring locking pin and washer (C) from adjustment pin (D) on end of mower engagement rod (E).
8. Remove adjustment pin from hole in arm (F) and place mower engagement rod on mower deck.
MX11108
9. Loosen screw (G) and remove nut (H) on sheave to loosen belt guide.
10. Remove belt from guides and sheaves.
MX11109
11. Pull belt down from engine drive sheave (I) to remove belt from sheave (I) and belt guides (J).
MX11139
12. Remove spring locking pin (K) from front draft rod (L).
13. Remove front draft rod from hole in machine bracket (M) and from mower bracket (N).
MX11100
14. Pull and rotate J-pin (O) to release and move rear draft arm (P) away from deck bracket (Q). Repeat on other side.
15. Raise draft arms to transport position:
a. Pull and hold lift pedal by hand.
b. Unlock lift latch handle.
c. Hold lift pedal and allow it to move forward.
d. Pull up latch handle to lock draft arms in transport position.
16. Push deck slightly forward to allow mower chute to drop from rear of machine.
17. Remove wood blocks from both sides of machine.
18. Hold discharge chute down and slide mower out from under the machine.
Installing Mower
1. Park machine safely. (See Parking Safely in the Safety section.)
2. Allow engine and muffler to cool completely.
c CAUTION: Avoid injury! Rotating blades are dangerous. Before adjusting or servicing mower:
· Disconnect spark plug wire(s) or battery negative (-) cable to prevent engine from starting accidently.
· Always wear gloves when handling mower blades or working near blades.
|
3. Adjust mower cutting height to lowest position.
MX11141
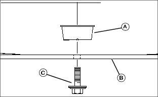
4. Slide mower deck, guide wheels in front, under tractor and line up deck bracket (A) with draft arm (B).
5. Align mower discharge chute with rear opening in machine. Mower chute should fit inside of machine chute.
6. Put wood blocks under each side of mower deck.
7. Unlock lift latch handle.
c CAUTION: Avoid injury! Lift pedal is spring-assisted and may have unexpected movement.
Lock lift pedal when installing or removing mower deck.
|
8. Pull lift pedal by hand to lower draft arms. Hold pedal securely and lock lift latch handle.
MX11100
9. Pull back J-pin (C) and insert through deck bracket (A) and draft arm (B). Make sure pin installs completely through deck bracket. Repeat for other side.
MX11139
10. Install front draft rod (D) into mower bracket (E) and then into hole in machine bracket (F). Make sure nut and rounded bushing are on front side of machine bracket.
11. Install spring locking pin (G) with loop of pin hanging down.
IMPORTANT: Avoid damage! The belt will be damaged if installed wrong. Route the belt properly through belt guides. See belt routing label on mower deck.
|
MX11109a
12. Put mower drive belt on engine drive sheave (H).
13. Route belt through each belt guide (I).
MX11108
14. Put belt on front sheaves (J) and route through belt guides.
15. Install and tighten nut (K) and screw (L) to secure belt guides.
M145385
16. Follow belt routing shown above. (Label is also located on left side of deck.) Route belt around all sheaves and inside all belt guides.
17. Remove wood blocks from both sides of mower.
IMPORTANT: Avoid damage! If the mower engagement rod is not adjusted properly, the mower belt may slip or drag on blade sheave resulting in belt damage.
|
NOTE: Make sure:
· Mower is at lowest possible cutting height.
· Mower is at mowing position.
· Mower engagement lever is pulled back into stop position.
· Gauge wheels are not touching the ground.
MX11102a
18. Push mower engagement rod (M) until tight and sheaves near rod do not move.
19. Align adjustment pin (N) on end of mower engagement rod (N) with hole in arm (O).
20. If pin does not line up, loosen lock nut (P) and turn pin until pin slips freely into hole. Tighten lock nut.
21. Insert adjustment pin into hole in arm.
22. Install washer and spring locking pin (Q) to fasten adjustment pin to arm.
MX11073
23. Install belt covers (R) on left side of deck and secure with spacers and nuts (S).
24. Level mower.
Replacing Mower Drive Belt
1. Park machine safely. (See Parking Safely in Safety section.)
2. Allow engine and muffler to cool completely.
3. Remove mower deck.
MX11111
4. Loosen nut (A) on idler sheave and on flat idler.
5. Remove mower drive belt.
6. Install belt on mower deck as shown.
7. Align bracket (B) by inserting locator into hole on deck bracket.
8. Tighten nut (A) on idler sheave and on flat idler.
9. Install mower deck and adjust mower engagement rod, if necessary.
Adjusting Mower Deck Timing Belt
IMPORTANT: Avoid damage! Damage may occur to the belt or blades after a major blade impact:
· Check blades for damage and timing.
· Check the timing belt for damage and proper tensioning.
|
1. Park machine safely. (See Parking Safely in the Safety section).
2. Allow engine and muffler to cool completely.
c CAUTION: Avoid injury! Mower blades are sharp. Always wear gloves when handling mower blades or working near blades.
|
3. Remove mower deck.
NOTE: If blades are not positioned at 90° as shown below, belt damage may have occurred. Replace timing belt.
MX11112
Picture Note: Blades shown in correct (timed) position, 90° from each other.
4. Position mower blades (A) and (B) 90° from each other.
MX11113
5. Remove three cap screws and washers (C) and remove cover (D).
MX11114
6. Loosen two idler nuts (E) and then finger tighten.
MX11115a
Picture Note: End of spring, not washer, aligns with end of bracket
7. Rotate adjusting nut (F) clockwise until end of tensioning spring (G) aligns with end of tensioner bracket (H).
8. Turn blades several rotations to make sure that belt is riding properly in sprockets and idlers.
MX11116
9. Place a screwdriver in slot (I) and rotate the belt guide underneath clockwise until guide contacts belt, and then rotate counterclockwise 1/8 turn.
MX11114
10. Tighten idler nuts (E) to 30 N·m (22 lb-ft).
MX11113
11. Install cover (D) using three cap screws and washers (C).
12. Install mower deck and adjust mower engagement rod, if necessary.
Replacing Mower Deck Timing Belt
1. Park machine safely. (See Parking Safely in the Safety Section).
2. Allow engine and muffler to cool completely.
3. Remove mower deck.
4. Remove drive belt.
MX11113
5. Remove three cap screws and washers (A) and remove cover (B).
MX11114
6. Remove adjusting nut and washer (C), two nuts (D) and idler arm (E).
MX11117
7. Remove two idler nuts (F) and upper idler arm (G).
8. Block mower blade with a piece of wood to prevent it from spinning.
MX11118
9. Remove nut (H) and drive sheave (I) and then hand tighten nut onto blade spindle (J) to prevent spindle shaft from dropping.
MX11119
10. Remove two belt keepers (K) from left sprocket.
MX11080
11. Remove belt keeper (L) and belt guide (M) from right sprocket.
12. Remove damaged mower deck timing belt.
IMPORTANT: Avoid damage! Handle timing belts with care.
· Do not crimp.
· Do not fold.
· Do not twist.
|
MX11119
13. Put new timing belt around left sprocket (N) making sure teeth of belt are fully engaged in teeth of sprocket.
14. Hold belt in position and install two belt keepers (K), one on each side of left sprocket.
MX11081
15. Route belt around center idlers as shown, install center bracket (G) and fasten with two nuts (F). Tighten nuts.
c CAUTION: Avoid injury! Mower blades are sharp. Always wear gloves when handling mower blades or working near blades.
|
MX11112
16. Position mower blades (O) and (P) 90° from each other.
MX11082
17. Route belt around right idlers and right sprocket (Q) as shown making sure teeth of belt are fully engaged in teeth of sprocket.
MX11083
18. Install belt keeper (L) and belt guide (M) on right sprocket.
IMPORTANT: Avoid damage! Belt and blade damage may occur from an incorrectly installed drive sheave. Align drive sheave properly with blade spindle before tightening sheave hardware.
|
19. Move idler arm to raise brake and install drive sheave on left blade spindle:
MX11084
a. Align groove (R) in drive sheave with key (S) in left blade spindle.
MX11118
b. Install nut (H) on blade spindle (J) and tighten to 145 N·m (107 lb-ft).
MX11114
20. Put end of idler arm (E) through hook of tensioning rod (T) and fasten to right idlers with two nuts (D). Make sure belt guide (M) underneath idler arm is engaged in hole (U) of idler arm. Do not tighten nuts.
MX11114
21. Check that blades are still timed (90° from each other). If necessary, remove belt keeper (L), adjust belt timing and reinstall belt keeper.
MX11114
22. Compress idler arm at position (V) against strap (W) to allow installation of adjusting nut and washer.
23. Install adjusting nut and washer on end of tensioning rod.
24. Adjust tension on timing belt:
MX11115
Picture Note: End of spring, not washer, aligns with end of bracket
a. Rotate adjusting nut (C) clockwise until end of tensioning spring (X) aligns with end of tensioner assembly bracket (Y).
b. Turn blades several rotations and observe that belt is riding properly in sprockets and idlers.
MX11116
c. Put a screwdriver in slot (Z) and rotate belt guide (M) underneath arm clockwise until guide contacts belt and then counterclockwise 1/8 turn.
MX11114
25. Tighten idler nuts (D) to 30 N·m (22 lb-ft).
26. Check that blades are still timed (90° from each other). If not, adjust mower deck timing belt.
MX11113
27. Install cover (B) using three cap screws and washers (A).
28. Install mower deck and adjust mower engagement rod, if necessary.
Adjusting Spindle Brake
c CAUTION: Avoid injury! The mower blades should stop in approximately five seconds when the mower or PTO is disengaged.
If you believe that your blades may not be stopping in that period of time, take your machine to your authorized dealer where they can safely check and service your machine.
|
1. Park machine safely. (See Parking safely in the Safety section.)
2. Adjust cutting height control to lowest position.
3. Lower deck.
4. Push mower engagement lever forward.
5. Remove rear drive belt cover.
M99807
6. Measure the minimum distance between brake pad (A) and spindle sheave (B). Brake pad to spindle sheave distance should be 1.0 - 1.5 mm (0.039 - 0.059 in.).
· Turn adjusting nut (C) clockwise to move brake pad (A) away from spindle sheave (B).
· Turn adjusting nut (C) counterclockwise to move brake pad (A) toward spindle sheave (B).
7. Raise deck to highest (transport) position.
8. Check that brake pad does not touch spindle sheave. Adjust as needed.
Checking for Bent Mower Blades
c CAUTION: Avoid injury! Mower blades are sharp. Always wear gloves when handling mower blades or working near blades.
Replace blades if defective. Never straighten or weld them.
|
1. Park machine safely. (See Parking Safely in the SAFETY section.)
2. Raise mower deck to highest position to access blades.
MX4897
Picture Note: Mower deck with side discharge used for illustration
3. Measure distance (A) between blade tip and flat ground surface.
4. Rotate blade 180° and measure distance between other blade tip and flat ground surface.
5. Install new blade if the difference between the two measurements is more than 3 mm (1/8 in.).
6. Repeat for all blades.
Servicing Mower Blades
c CAUTION: Avoid injury! Rotating blades are dangerous. Before adjusting or servicing mower:
· Disconnect spark plug wire(s) or battery negative (-) cable to prevent engine from starting accidently.
· Always wear gloves when handling mower blades or working near blades.
|
Removing Mower Blades
1. Park machine safely. (See Parking Safely in the Safety section.)
2. Raise mower deck to gain access to mower blades. If necessary, remove mower deck.
3. Hold mower blade with glove to prevent blade from rotating.
MX11064
4. Loosen and remove bolt with washer (A), and blade (B).
5. Inspect blades; sharpen, balance or replace blades as necessary.
Installing Mower Blades
1. Check mower to be sure you are installing the blades on the correct side. Right and left sides are marked on rear draft brackets of mower deck.
MX11072
· There are direction arrows located on each outside edge of the mower. There is a right and a left side blade. The blades are marked for identification.
MX11064
2. Check that deflector cup (A) is properly seated between mower spindle and blade (B).
3. Position mower blade (B), with the cutting edge towards the ground, onto the mower spindle and align key on bottom of spindle with slot in blade.
IMPORTANT: Avoid damage! Improperly installed blades can loosen during operation. Do not lubricate or use power tools when installing the blade bolt or the bolt will be ineffective.
Use a hand torque wrench and tighten bolts to blade bolt torque of: 57 N·m (42 lb-ft).
|
4. Install and hand tighten bolt with washer (C) until mower blade is in full contact with spindle.
5. Hold mower blade with glove to prevent rotating and tighten bolts to 57 N·m (42 lb-ft.).
6. Check mower deck timing and adjust if necessary.
Sharpening Blades
c CAUTION: Avoid injury! Mower blades are dangerous!
· Always wear gloves while working on blades.
· Always wear safety eye protection when grinding.
|
· Sharpen blades with grinder, hand file, or electric blade sharpener.
MIF
· Keep original bevel (A) when grinding.
· Blade should have 0.40 mm (1/64 in.) cutting edge (B) or less.
· Balance blades before installing.
Balancing Blades
c CAUTION: Avoid injury! Mower blades are sharp. Always wear gloves when handling mower blades or working near blades.
|
1. Clean blade.
M61524
2. Put blade on nail in a vise. Turn blade to horizontal position.
3. Check balance. If blade is not balanced, heavy end of blade will drop.
4. Grind bevel of heavy end. Do not change blade bevel.
Removing Grass Collector
c CAUTION: Avoid injury! Rotating blades are dangerous. Blades may throw debris through raised chute.
Park machine safely before opening grass collector.
|
1. Park machine safely. (See Parking Safely in the Safety section.)
MX11086
2. Push knob (A) down to open grass collector.
MX11094
3. Disconnect gas cylinders (B) from machine, one on each side.
· Move fastener (C) up and then pull out to release from stud.
MX11088
4. Pull release handle (D) up to unlock inside support brackets.
5. Lift grass collector off rear of machine.
Installing Grass Collector
c CAUTION: Avoid injury! Rotating blades are dangerous. Blades may throw debris through raised chute.
Park machine safely before opening grass collector.
|
1. Park machine safely. (See Parking Safely in the Safety section.)
MX11089
2. Pull release handle (A) out to put support brackets (B) in the unlocked (open) position.
3. Align inside bar of grass collector with open support brackets and set bar into brackets.
MX11088
4. Push release handle (A) down to close support brackets.
MX11094
5. Attach gas cylinders (C) to machine, one on each side, by aligning slot in fastener (D) with ball joint (E) and releasing fastener down to close.
MX11090
6. Push grass collector down to close.
|