
Service Mower - 42 Inch Mulching Mower
Removing Mower
c CAUTION: Avoid injury! Rotating blades are dangerous. Before adjusting or servicing mower:
· Disconnect spark plug wire(s) or battery negative (-) cable to prevent engine from starting accidently.
· Always wear gloves when handling mower blades or working near blades.
|
1. Park machine safely. (See Parking Safely in the SAFETY section.)
2. Press lift pedal in the transport position.
3. Turn mower height control knob to "0" position.
c CAUTION: Avoid injury! Lift pedal is spring-assisted and may have unexpected movement.
Lock the lift pedal in rearward position before removing or installing the mower.
|
4. Release pedal, pull back and pull up on lock handle.
c CAUTION: Avoid injury! Drive belt tension rod is spring-assisted and under tension. Keep a secure grasp on rod at all times while releasing or applying drive belt tension.
|
MX0237
5. Remove drive belt tension:
a. Grasp and hold tension rod (A) securely.
b. Disengage rod from retaining bracket (B).
c. Move rod as far as possible toward rear wheel to remove all belt tension.
6. Hold tension rod in the released position. Remove mower drive belt (C) from engine drive sheave.
7. Move tension rod to the latched position.
M95976
8. Pull out and push down on lever (D) to release front lift rod assembly.
9. Remove front lift rod assembly (E) from machine and mower deck.
MX3862
10. Lift up on rear of mower using handle (F). Pull outward on J-pin (G) to disconnect draft arms. Repeat at other side.
11. Install draft arms on spring holders.
12. Slide mower deck out from under machine.
Installing Mower
c CAUTION: Avoid injury! Rotating blades are dangerous. Before adjusting or servicing mower:
· Disconnect spark plug wire(s) or battery negative (-) cable to prevent engine from starting accidently.
· Always wear gloves when handling mower blades or working near blades.
|
IMPORTANT: Avoid damage! If equipped, remove tire chains before installing mower to machine to prevent mower damage.
|
1. Park machine safely. (See Parking Safely in the SAFETY section.)
2. Press lift pedal in the transport position.
3. Turn mower height control knob to "0" position.
c CAUTION: Avoid injury! Lift pedal is spring-assisted and may have unexpected movement.
Lock the lift pedal in rearward position before removing or installing the mower.
|
4. Pull back lift pedal and lock handle up.
5. Install draft arms in spring holder.
6. Slide mower under machine.
MX3862
7. Place lift arms (A) between mower lift brackets (B).
8. Make sure belt is routed to the inside of lift link (C).
9. Lift up on rear of mower using handle (D). Release J-pin (E) to connect mower deck to lift arms. Repeat at other side.
MX0240
10. Hook front lift rod assembly (F) into mower bracket.
M95976
11. Place front lift rod (G) into frame hooks so lever (H) is at left side of machine. Make sure rod is seated in frame hooks.
12. Push up lever (H) until tab (I) locks into hole in frame.
c CAUTION: Avoid injury! Drive belt tension rod is spring-assisted and under tension. Keep a secure grasp on rod at all times while releasing or applying drive belt tension.
|
MX0237
13. Remove drive belt tension rod (J) from bracket (K) and pivot rod clockwise as far as possible.
14. Hold tension rod in the released position. Install mower drive belt (L) onto engine drive sheave.
c CAUTION: Avoid injury! Drive belt tension rod is spring-assisted and under tension. Keep a secure grasp on rod at all times while releasing or applying drive belt tension.
|
15. Pivot the drive belt tension rod toward front of machine to tighten drive belt. Hook tension rod into bracket on mower.
16. Adjust the lift assist spring if necessary.
17. Adjust mower level front-to-rear and side-to-side.
18. Adjust mower wheels for desired cutting height.
19. Pull back on lift pedal and push down handle to unlock.
Adjusting Lift Assist Spring
NOTE: The weight of the mower affects ease of lifting. Adjust the lift assist spring for your particular mower deck model.
MX30708
1. Make sure yellow indicator (A) is aligned with the proper mark for the mower deck model installed. If not, adjust the lift assist spring so the indicator is aligned with the correct mower deck mark.
2. Turn adjusting bolt (B) at front of machine frame to adjust lift assist spring:
· Clockwise - Increases spring tension and moves indicator toward front of machine for heavier mowers.
· Counterclockwise - Decreases spring tension and moves indicator toward rear of machine for lighter mowers.
Checking Mower Blade Timing
IMPORTANT: Avoid damage! Mower blade impact can cause blades to become out of time. Do not operate mower before checking blade condition and timing.
|
1. Park machine safely. (See Parking Safely in the SAFETY section).
2. Remove mower deck.
3. Check condition of mower blades. Replace if damaged.
IMPORTANT: Avoid damage! Mower blades can collide if not properly timed. Blades must be aligned perpendicular (90°) to each other.
|
MX0238
4. Make sure mower blades (A) are aligned perpendicular (90°) to each other. If not, adjust mower timing belt.
Adjusting Mower Timing Belt
1. Park machine safely. (See Parking Safely in the SAFETY section).
2. Remove mower deck.
MX3868
3. Remove drive belt from right spindle sheave (A).
4. Remove five nuts (B).
c CAUTION: Avoid injury! Belt tension rod is spring-assisted and under tension. Keep a secure grasp on rod at all times while releasing or applying drive belt tension.
|
5. Remove drive belt tension rod (C) from bracket and pivot rod clockwise as far as possible.
6. Hold tension rod in the released position and remove deck cover (D). Release tension rod slowly.
MX3867
7. Check timing belt (E) for damage.
· If belt is damaged, replace it.
· If belt is not damaged, complete remaining steps to adjust belt.
8. Loosen center nut (F) on idler assembly. Do not remove the nut.
IMPORTANT: Avoid damage! Mower blades can collide if not properly timed. Blades must be aligned perpendicular (90°) to each other.
|
9. Make sure mower blades are aligned perpendicular (90°) to each other.
10. Rotate the spindle sprockets clockwise several turns and check belt is seated properly in sprockets and idlers.
MX0234
11. Adjust timing belt tension:
a. Loosen jam nut (G) and adjusting nut (H) so there is a small gap between washer (I) and spring bushing (J).
b. Turn adjusting nut (H) clockwise until washer (I) makes solid contact with spring bushing (J).
12. Tighten center nut on idler assembly to 73 N·m (54 lb-ft).
13. Tighten jam nut against adjusting nut to 27 N·m (20 lb-ft).
14. Hold tension rod in the released position and install the deck cover over timing belt and right spindle. Release tension rod slowly.
15. Make sure deck cover is seated on shoulder of cover support spacers and secure with five nuts.
16. Install drive belt on right spindle sheave.
17. Pivot the drive belt tension rod counterclockwise and hook into bracket on mower.
18. Install mower deck.
Replacing Mower Timing Belt
1. Park machine safely. (See Parking Safely in the SAFETY section).
2. Remove mower deck.
MX3868
3. Remove drive belt from right spindle sheave (A).
4. Remove five nuts (B).
c CAUTION: Avoid injury! Belt tension rod is spring-assisted and under tension. Keep a secure grasp on rod at all times while releasing or applying drive belt tension.
|
5. Remove drive belt tension rod (C) from bracket and pivot rod clockwise as far as possible.
6. Hold tension rod in the released position and remove deck cover (D). Release tension rod slowly.
MX0234
7. Turn jam nut (E) and adjusting nut (F) counterclockwise to end of threaded rod. Remove the tensioning spring assembly.
MX3867
8. Remove center nut and washer (G) from the idler assembly. Remove idler assembly (H) from left support plate. Do not loosen the other idler assembly hardware.
MX3863
9. Remove spacer (I) located between the idler assembly plates. Remove idler assembly (H) from timing belt.
MX3867
10. Loosen belt guides (J) and rotate away from belt.
11. Remove timing belt (K).
IMPORTANT: Avoid damage! Mower blades can collide if not properly timed. Blades must be aligned perpendicular (90°) to each other.
|
NOTE: The drain holes in sheave (L) and indentations in timing sprocket (M) are in alignment with the mower blades.
MX0236
12. Position mower blades (N) perpendicular (90°) to each other.
IMPORTANT: Avoid damage! Handle timing belt with care. Do not crimp, fold, or twist the belt.
|
13. Install new timing belt:
MX3867
a. Route belt around right spindle sprocket (O) located under mower drive belt sheave.
MX3863
b. Route belt around outside of idlers (P). Pull a belt loop between the idlers and through idler assembly (H).
c. Insert spacer (I) between idlers (P).
d. Install idler assembly onto stud of left support plate.
e. Wrap belt loop around spindle sprocket (Q).
MX3867
14. Install washer and center nut (G) on idler assembly. Leave nut one turn loose.
15. Make sure mower blades are still positioned perpendicular (90°) to each other.
IMPORTANT: Avoid damage! Do not overtighten the belt tensioning spring assembly.
|
MX0234
16. Install tensioning spring assembly and adjust timing belt:
a. Align notch (R) of idler assembly with tab on spring bushing (S).
b. Rotate adjusting nut (F) clockwise until washer (T) makes solid contact with spring bushing.
c. Turn adjusting nut an additional 1/2 turn to allow for new belt stretch. Do not overtighten.
d. Rotate right spindle sheave several turns clockwise and observe belt is seated properly in sprockets and idlers.
e. Tighten jam nut (E) against adjusting nut.
17. Tighten center nut on idler assembly to 73 N·m (54 lb-ft).
MX0235
18. Adjust belt guides:
a. Hold a 1 mm (0.039 in.) thickness gauge between belt guides and sprocket rim at location (U).
b. Rotate belt guides (J) against thickness gauge.
c. Tighten belt guide nuts to 24 N·m (18 lb-ft).
d. Remove thickness gage.
e. Rotate the spindle clockwise and make sure belt does not contact belt guides. Clearance between belt and guides must be 1
19. Hold tension rod in the released position and install the deck cover over timing belt and right spindle. Release tension rod slowly.
20. Make sure deck cover is seated on shoulder of cover support spacers and secure with five nuts.
21. Install drive belt on right spindle.
c CAUTION: Avoid injury! Belt tension rod is spring-assisted and under tension. Keep a secure grasp on rod at all times while releasing or applying drive belt tension.
|
22. Pivot the drive belt tension rod counterclockwise and hook into bracket on mower.
23. Install mower deck.
Replacing Mower Drive (Primary)
IMPORTANT: Avoid damage! Mower blades can collide if not properly timed. Blades must be aligned perpendicular (90°) to each other.
|
1. Park machine safely. (See Parking Safely in the SAFETY section).
2. Remove mower deck.
MX0239
3. Loosen idler sheave (A) and tensioning sheave (B).
4. Remove drive belt (C).
5. Clean belt with a clean cloth.
6. Inspect belt for wear or damage. Replace as necessary.
IMPORTANT: Avoid damage! Make sure belt is routed to the inside of the belt guide.
|
7. Install belt to mower so it is routed to the inside of belt guide (D).
8. Tighten idler sheave and tensioning sheave.
9. Install the mower.
Checking for Bent Mower Blades
c CAUTION: Avoid injury! Mower blades are sharp. Always wear gloves when handling mower blades or working near blades.
Replace blades if defective. Never straighten or weld them.
|
1. Park machine safely. (See Parking Safely in the SAFETY section.)
2. Raise mower to highest position to access blades.
MX11181
Picture Note: Mower deck with side discharge used for illustration
3. Measure distance (A) between blade tip and flat ground surface.
4. Rotate blade 180° and measure distance between other blade tip and flat ground surface.
5. Install new blade if the difference between the two measurements is more than 3 mm (1/8 in.).
6. Repeat for all blades.
Servicing Mower Blades
c CAUTION: Avoid injury! Mower blades are sharp. Always wear gloves when handling mower blades or working near blades.
|
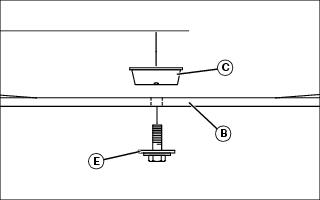
Removing Mower Blades
1. Park machine safely. (See Parking Safely in the SAFETY section.)
2. Raise or remove mower deck.
3. Hold mower blade with glove to prevent blade from spinning.
MIF
4. Loosen and remove bolt with washer (A) and blade (B).
5. Inspect blade condition. Sharpen, balance, or replace blades as necessary.
Installing Mower Blades
IMPORTANT: Avoid damage! Mower blades must be installed properly to prevent loosening and damage:
· Bottom side of blades are marked RIGHT and LEFT with directional arrows for proper installation.
· Do not lubricate or use power tools to install blade bolts. Use hand torque wrench to tighten blade bolts.
|
MX0237
1. Identify right and left sides of mower deck. Rear draft brackets (A) are marked "R" (right) and "L" (left).
2. Identify "RIGHT" and "LEFT" blades as marked on bottom side of each blade.
MIF
3. Position correct side mower blade (B) onto mower spindle with cutting edge towards the ground. Align key on bottom of spindle with slot in blade.
4. Make sure deflector cup (C) is seated properly between mower spindle and blade.
MX0238
5. Locate directional arrows (D) on outside edges of mower deck. Make sure directional arrow on blade matches directional arrow on mower.
6. Install bolt with washer (E). Hand tighten bolt until blade makes complete contact with spindle.
7. Hold mower blade with glove to prevent blade from spinning. Tighten blade bolt to 62 N·m (46 lb-ft).
8. Check mower blade timing and adjust if necessary.
Sharpening Blades
c CAUTION: Avoid injury! Mower blades are dangerous!
· Always wear gloves while working on blades.
· Always wear safety eye protection when grinding.
|
· Sharpen blades with grinder, hand file, or electric blade sharpener.
MIF
· Keep original bevel (A) when grinding.
· Blade should have 0.40 mm (1/64 in.) cutting edge (B) or less.
· Balance blades before installing.
Balancing Blades
c CAUTION: Avoid injury! Mower blades are sharp. Always wear gloves when handling mower blades or working near blades.
|
1. Clean blade.
M61524
2. Put blade on nail in a vise. Turn blade to horizontal position.
3. Check balance. If blade is not balanced, heavy end of blade will drop.
4. Grind bevel of heavy end. Do not change blade bevel.
|