
Service Engine
Engine Warranty Maintenance Statement
Maintenance, repair, or replacement of the emission control devices and systems on this engine, which are being done at the customers expense, may be performed by any non-road engine repair establishment or individual. Warranty repairs must be performed by an authorized John Deere dealer.
Avoid Fumes
c CAUTION: Avoid injury! Engine exhaust fumes contain carbon monoxide and can cause serious illness or death.
Move machine to an outside area before running engine.
Do not run engine in an enclosed area without adequate ventilation.
· Connect a pipe extension to engine exhaust pipe to direct exhaust fumes out of area.
· Allow fresh outside air into work area to clear exhaust fumes out.
|
Engine Oil
Use oil viscosity based on the expected air temperature range during the period between oil changes.
The following John Deere oils are preferred:
· TURF-GARD
· PLUS- 4
Other oils may be used if above John Deere oils are not available, provided they meet the following specification:
· API Service Classification SG or higher
Checking Engine Oil Level
IMPORTANT: Avoid damage! Failure to check oil level regularly could lead to serious engine problems if oil level is low:
· Check oil level before operating.
· Check oil level when engine is cold and not running.
· Keep level between full and add marks.
· Shut off engine before adding oil.
|
NOTE: Check oil twice per day if engine is run over four hours per day.
Make sure engine is cold when checking engine oil level.
1. Park machine safely. (See Parking Safely in Safety section.)
2. Lift hood.
MX30345
Picture Note: GT245 shown.
3. Clean area around dipstick (A) to prevent debris from falling into crankcase.
4. Remove dipstick. Wipe with clean cloth.
5. Install dipstick in tube but do not tighten. Allow dipstick threads to rest on top of tube and rotate cap counterclockwise until it "clicks" or drops into place.
6. Remove dipstick.
M88476
7. Check oil level on dipstick. Oil must be between add and full marks (B).
8. If oil level is low, add oil to bring oil level no higher than full mark on dipstick.
9. Install and tighten dipstick. Lower hood.
Changing Engine Oil and Filter
1. Run engine to warm oil.
2. Park machine safely. (See Parking Safely in Safety section.)
3. Lift hood.
M96013
Picture Note: GT245.
4. Put drain pan under drain valve (A). If available, install drain hose.
5. Open drain valve and drain oil into oil drain pan. Allow oil to drain completely.
6. Remove dipstick (B).
7. Change oil filter:
a. Wipe dirt from around oil filter (C).
b. Place a drain pan or funnel under filter tray.
c. Remove old filter and wipe off filter tray.
d. Apply a light coat of fresh oil to filter seal.
e. Install replacement oil filter by turning oil filter to right (clockwise) until rubber seal contacts filter base. Tighten filter an additional one-half turn.
8. Close drain valve.
9. Add oil:
· GT235 and GT245: 1.7 L (1.8 qt)
10. Install and tighten dipstick.
11. Start and run engine at idle to check for leaks. Stop engine. Fix any leaks before operating.
12. Check oil level, add oil if necessary.
Cleaning Air Intake Screen and Engine Fins
IMPORTANT: Avoid damage! Engine requires a large amount of air intake when running. Reduced air intake can cause overheating:
· Keep air intake screen and cooling fins clean.
· Keep covers and screens in place.
|
1. Park machine safely. (See Parking Safely in Safety section.)
MX8407
2. Clean air intake screen (A), cooling fins, and external surfaces (B), with rag, brush, vacuum or compressed air.
3. Lower hood.
Servicing Air Cleaner (GT235)
1. Park machine safely. (See Parking Safely in Safety section.)
c CAUTION: Avoid injury! Touching hot surfaces can burn skin. Engine and components will be hot if engine has been running. Allow engine to cool before servicing.
|
2. Allow engine to cool.
3. Raise or remove hood.
M97137
4. Release latches (A) and remove air cleaner cover (B).
IMPORTANT: Avoid damage! Dirt and debris can enter engine through a damaged filter element:
· Do not wash paper element.
· Do not attempt to clean paper element by tapping against another object.
· Do not use pressurized air to clean element.
· Replace element only if it is very dirty, damaged or seal is cracked.
|
M97141
5. Inspect foam precleaner (C) without removing it. If precleaner is dirty:
a. Remove precleaner carefully without removing paper element (D).
b. Wash it in a solution of warm water and liquid detergent. Rinse, squeeze out excess water in a dry cloth, and allow to air dry.
c. Add approximately 30 ml (1 oz) of clean engine oil to precleaner. Squeeze precleaner to distribute oil evenly.
6. Inspect paper element (D) without removing it. If element is damaged or very dirty:
a. Remove wing nut (E).
b. Remove paper element carefully from air cleaner housing. Discard paper element.
c. Clean air cleaner housing carefully to prevent dirt from entering carburetor.
d. Install new paper element into air cleaner. Make sure element is seated properly.
e. Install wing nut.
7. Install precleaner on paper element.
8. Install and latch air cleaner cover.
9. Install or lower hood.
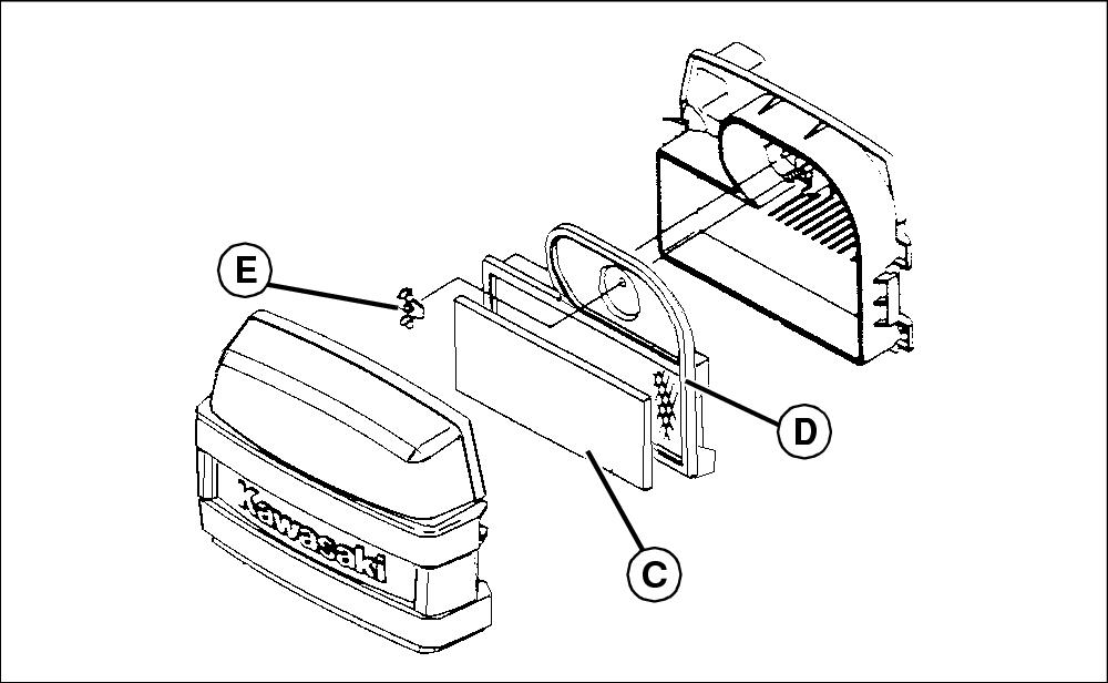
Servicing Air Cleaner (GT245)
1. Park machine safely. (See Parking Safely in Safety section.)
c CAUTION: Avoid injury! Touching hot surfaces can burn skin. Engine and components will be hot if engine has been running. Allow engine to cool before servicing.
|
2. Allow engine to cool.
3. Remove hood.
M96120
4. Release plastic retainers (A) and remove air cleaner cover (B).
IMPORTANT: Avoid damage! Dirt and debris can enter engine through a damaged filter element:
· Do not wash paper element.
· Do not attempt to clean paper element by tapping against another object.
· Do not use pressurized air to clean element.
· Replace element only if it is very dirty, damaged or seal is cracked.
|
M96121
5. Inspect foam precleaner (C) without removing it. If precleaner is dirty:
a. Remove precleaner carefully without removing paper element (D).
b. Wash it in a solution of warm water and liquid detergent. Rinse, squeeze out excess water in a dry cloth, and allow to air dry.
c. Add approximately 30 ml (1 oz) of clean engine oil to precleaner. Squeeze precleaner to distribute oil evenly.
6. Inspect paper element (D) without removing it. If element is damaged or very dirty:
a. Remove wing nuts (E).
b. Remove paper element carefully from air cleaner housing. Discard paper element.
c. Clean air cleaner housing carefully to prevent dirt from entering carburetor.
d. Install new paper element into air cleaner. Make sure element is seated properly.
e. Install wing nuts (E).
7. Install precleaner on paper element.
8. Install and fasten air cleaner cover using original plastic retainers.
9. Install hood.
Checking Spark Plugs
c CAUTION: Avoid injury! Touching hot surfaces can burn skin. Engine and components will be hot if engine has been running. Allow engine to cool before servicing.
|
1. Park machine safely. (See Parking Safely in Safety section.)
2. Allow engine to cool.
3. Raise or remove hood.
MX30346
Picture Note: GT245 shown.
4. Disconnect spark plug wire(s) (A).
5. Remove spark plug(s).
6. Clean each spark plug carefully with a wire brush.
7. Inspect spark plugs for:
· Cracked porcelain.
· Pitted or damaged electrodes.
· Other wear or damage.
NOTE: In Canada, replace spark plug with resistor plug only.
8. Replace spark plugs as necessary.
M85200
9. Check plug gap (B) with a wire feeler gauge. To change gap, bend outer electrode (C).
· GT235 - Gap must be 1.00 mm (0.040 in.).
· GT245 - Gap must be 0.75 mm (0.030 in.).
10. Install and tighten spark plugs:
· GT235 - 15 N·m (11 lb-ft).
· GT245 - 20 N·m (15 lb-ft)
11. Connect spark plug wires.
12. Install or lower hood.
Adjusting Carburetor
NOTE: Carburetor is calibrated by engine manufacturer and is not adjustable.
If engine is operated at altitudes above 1829 m (6,000 ft), some carburetors may require a special high altitude main jet. See your John Deere dealer.
If engine is hard to start or runs rough, check troubleshooting section of this manual.
Possible engine surging will occur at high throttle with transmission in "N" neutral and mower engagement lever disengaged. This is a normal condition due to emission control system.
If engine is still not functioning correctly after performing checks in troubleshooting section, contact your John Deere dealer.
Replacing Fuel Filter
c CAUTION: Avoid injury! Fuel vapors are explosive and flammable:
· Do not smoke while handling fuel.
· Keep fuel away from flames or sparks.
· Shut off engine before servicing.
· Cool engine before servicing.
· Work in a well-ventilated area.
· Clean up spilled fuel immediately.
|
NOTE: Change filter when fuel is low to prevent excessive fuel spillage.
1. Park machine safely. (See Parking Safely in Safety section.)
2. Allow engine to cool.
3. Raise hood.
MX8393
4. Place a drain pan under fuel filter (A).
5. Note direction of arrow on fuel filter so new filter can be installed in same direction.
6. Use a pliers to slide hose clamps (B) away from fuel filter.
7. Disconnect hoses from filter.
IMPORTANT: Avoid damage! Incorrect installation of fuel filter may cause engine damage. Install filter with arrow pointing in direction of fuel flow for proper operation.
|
8. Install new filter with arrow pointing in direction of fuel flow. Connect hoses to new filter.
9. Slide hose clamps in position to secure filter.
10. Check for leaks.
11. Lower hood.
|