
Operating
Daily Operating Checklist
o Test safety systems.
o Check fuel level.
o Check engine oil level.
o Remove grass and debris from engine compartment and muffler area, and on top of mower deck before and after operating machine.
o Clean air intake screen.
o Check area below machine for leaks.
Avoid Damage to Plastic and Painted Surfaces
• Do not wipe plastic parts unless rinsed first.
• Insect repellent spray may damage plastic and painted surfaces. Do not spray insect repellent near machine.
• Be careful not to spill fuel on machine. Fuel may damage surface. Wipe up spilled fuel immediately.
• Prolonged exposure to sunlight will damage the hood surface.
Adjusting Seat
Adjusting Seat Position
MX36378
1. Push lever (A) to the left.
2. Slide seat forward or rearward to desired position.
3. Release lever.
Adjusting Ride Comfort
IMPORTANT: Avoid damage! To prevent damage to seat switch and seat base, do not operate without suspension coils in place.
|
1. Lift seat.
2. Rotate suspension coils into desired position:
MX36267
• Move coils to front position (A) for softest ride.
• Move coils to middle position (B) for average ride.
• Move coils to rear position (C) for firm ride.
NOTE: Additional suspension coils can be installed for extra support. See your John Deere dealer.
Adjusting Cutting Height
Cutting height can be adjusted from approximately 25-100 mm (1-4 in.). When mower deck is in transport position cutting height is approximately 100 mm (4 in.).
Mower cutting height increments are identified on decal around the cutting height knob. To change or attain cutting height desired:
1. Check tire pressure and adjust as needed.
MX35842
2. Push lift pedal (A) to raise mower deck to highest (transport) position. Lock in raised position with mower lift lock lever (B).
3. Turn mower cutting height knob (C) to desired cutting height position. Mower will be at this cutting height each time it is lowered.
4. Lower mower deck.
5. Adjust mower deck wheels.
Checking and Adjusting Mower Level
c CAUTION: Avoid injury! Rotating blades are dangerous. Before adjusting or servicing mower:
• Disconnect spark plug wire(s) or battery negative (-) cable to prevent engine from starting accidently.
• Always wear gloves when handling mower blades or working near blades.
|
NOTE: Mower wheels should not contact the ground when leveling the deck.
Method One
1. Park machine safely on a level surface. (See Parking Safely in the SAFETY section).
2. Inflate tires to the correct pressure.
MX23121
3. The label for the cutting height knob is located on the console of the machine. This label shows deck leveling position (A) and location of deck leveling adjustment points (B). The location of adjustment points will vary slightly between decks:
• Adjustment point 1 is located on the left rear deck rim.
• Adjustment point 2 is located on the right rear deck rim.
• Adjustment point 3 is located on the front deck hanger bracket.
4. Set mower cutting height knob (C) to the deck leveling position for your specific mower deck, and lower deck against stop:
• For X300R models, use position 2.75 (A).
5. Adjust mower deck gage wheels as necessary so they do not contact the ground surface.
MX36309
6. Remove the mower deck level gage (D) stored in the mower cutting height knob (C).
7. Adjust mower deck side-to-side level:
NOTE: Adjustment points 1 and 2 on 42 mowers have a recessed area (E) for side-to-side measurement.
MX22016a, MX36291
MX35843
a. Use gage (D) to measure the height between the floor and lower deck rim at adjustment point 1 on left rear deck rim. Adjust the left rear adjustment nut (F) until the gage just slips under the deck rim at adjustment point 1.
b. Use gage (D) to measure the height between the floor and lower deck rim at adjustment point 2 on right rear deck rim. Adjust the right rear adjustment nut until the gage just slips under the deck rim at adjustment point 2.
NOTE: If an adjustment of more than 1/8 in. is required, adjust both points alternately. A large adjustment on one side can move the other side in the opposite direction.
c. Repeat step a and b, as necessary.
8. Adjust mower deck front-to-back level:
NOTE: Adjustment point 3 has a stamped “3” on side of front deck hanger bracket (G).
MX36292
a. Use gage (D) to measure the height between the floor and front deck hanger bracket at adjustment point 3.
MX36204
b. Adjust mower level, if necessary, by loosening rear nut (H) equally on each side of front lift rod. Turn front nut (I) equally on each side clockwise to raise front of mower or counterclockwise to lower it until gage just slips under adjustment point 3. Tighten rear nuts after adjustment is complete.
NOTE: Before storing gage, verify that deck will latch in transport position. If it does not latch, turn both rear adjusting nuts counter-clockwise equally to lower rear of deck until deck latch will engage. Check front draft arm adjustment, adjust if necessary.
9. Return the gage to its storage position.
Method Two
1. Park machine safely. (See Parking Safely in the SAFETY section.)
2. Inflate tires to the correct pressure.
3. Set mower cutting height knob to preferred cutting height, and lower deck into the mowing position.
4. Measure mower level (side-to-side).
MIF
Picture Note: A convenient leveling gauge (A) (AM130907) is available from your dealer.
a. Position mower blades as follows and measure from each outside blade tip (B) to the level surface.
MX4896
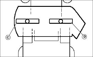
b. Turn left blade (C) as shown. Hold drive belt and turn right blade (D) as shown. Take measurement for both blades.
The difference between blade measurements must not be more than 3 mm (1/8 in.).
MX35843
c. Adjust mower level, if necessary, by turning nuts (E) clockwise to raise the side of the mower deck, or counterclockwise to lower the mower deck.
5. Measure mower level (front-to-rear).
MX4896a
a. Turn right blade (D) so blade tip points straight forward.
b. Measure from blade tip to the surface. Take measurement for both blades.
42 Mowers - The front blade tip must be 3 mm (1/8 in.) lower than rear blade tip.
MX36204
c. Adjust mower level, if necessary, by loosening rear nut (F) equally on each side of front lift rod. Turn front nut (G) equally on each side clockwise to raise front of mower or counterclockwise to lower it. Tighten rear nuts after adjustment is complete.
NOTE: Verify that deck will latch in transport position. If it does not latch, turn both rear adjusting nuts counter-clockwise equally to lower rear of deck until deck latch will engage. Check front lift rod adjustment, adjust if necessary.
Adjusting Mower Gage Wheels
c CAUTION: Avoid injury! Rotating blades are dangerous. Before adjusting or servicing mower:
• Disconnect spark plug wire(s) or battery negative (-) cable to prevent engine from starting accidently.
• Always wear gloves when handling mower blades or working near blades.
|
IMPORTANT: Avoid damage! The mower deck can be damaged if mower wheels are adjusted wrong:
• Wheels must not ride on ground supporting mower weight.
• Check wheel adjustment each time cutting height is changed.
|
1. Park machine safely on a level surface. (See Parking Safely in the SAFETY section).
2. Inflate tires to correct pressure.
3. Raise mower deck, by pushing lift pedal to raise mower deck to transport position. Lock in raised position with mower lift lock lever.
4. Adjust cutting height.
5. Lower mower to cutting position.
6. Measure distance between mower wheels and ground surface. All wheels should be 3-13 mm (1/8-1/2 in.) from ground.
MX37998
7. Adjust mower wheels to correct height. Remove nut (A) and shoulder bolt (B). Move wheel (C) to proper hole position. Secure with shoulder bolt and nut. Tighten nut to 34 N•m (25 lb-ft).
Testing Safety Systems
c CAUTION: Avoid injury! Engine exhaust fumes contain carbon monoxide and can cause serious illness or death.
Do not run an engine in an enclosed area, such as a garage, even with doors or windows opened.
Move the machine to an outside area before running the engine.
|
The safety systems installed on your machine should be checked before each machine use. Be sure you have read the machine operator manual and are completely familiar with the operation of the machine before performing these safety system checks.
Use the following checkout procedures to check for normal operation of machine.
If there is a malfunction during one of these procedures, do not operate machine. See your authorized dealer for service.
Perform these tests in a clear open area. Keep bystanders away.
Testing Park Brake Switch
1. Park machine safely. (See Parking Safely in the SAFETY section.)
2. Sit on seat.
3. Unlock the park brake.
4. Try to start engine.
Result: Engine must not crank. If engine cranks, there is a problem with your safety interlock circuit.
Testing Park Brake
1. Park machine safely. (See Parking Safely in the SAFETY section.)
2. Engage bypass valve lever.
3. Lock the park brake.
4. Try to push machine manually.
Result: Park brake must prevent machine from moving. If machine moves, parking brake needs to be adjusted.
Testing Mower Engagement (PTO) Switch
1. Park machine safely. (See Parking Safely in the SAFETY section.)
2. Sit on seat.
3. Lock the park brake.
4. Engage the mower.
5. Try to start engine.
Result: Engine must not crank. If engine cranks, there is a problem with your safety interlock circuit.
Testing Seat Switch
Test 1
1. Start the engine.
2. Move throttle lever to maximum speed position.
3. Unlock the park brake.
4. Engage the PTO switch.
5. Raise up off seat. Do not get off machine.
Result: Engine should begin to stop. PTO should shut off immediately and mower blades should stop.
Test 2
1. Disengage the PTO switch.
2. Start the engine.
3. Unlock the park brake.
4. Raise up off seat. Do not get off machine.
Result: Engine should stop. If engine does not stop, there is a problem with your safety interlock circuit.
Test 3
1. Start the engine.
2. Lock the park brake.
3. Raise up off seat. Do not get off machine.
Result: Engine should continue to run.
Testing Reverse Implement Option (RIO)
c CAUTION: Avoid injury! Rotating blades are dangerous. Children or bystanders may be injured by runover and rotating blades.
Before backing up, carefully check the area around the machine.
|
1. Park machine safely. (See Parking Safely in the SAFETY section.)
2. Start the engine.
3. Engage PTO to start attachment.
4. Look behind the vehicle to be sure there are no bystanders.
5. Begin reverse travel by depressing reverse foot pedal.
Result: Attachment should stop operation. If attachment continues to operate as machine begins travel in reverse, do not continue to operate machine.
Using Park Brake
c CAUTION: Avoid injury! Children or bystanders may attempt to move or operate an unattended machine.
Always lock the park brake and remove the key before leaving the machine unattended.
|
Locking Park Brake
1. Push and hold down brake pedal.
2. Pull up park brake lever to lock park brake.
3. Release brake pedal. Pedal should stay down and park brake lever should stay up in locked position.
Unlocking Park Brake
1. Push and hold down brake pedal.
2. Push down park brake lever to unlock park brake.
3. Release brake pedal. Pedal should come up to operating position.
Using Key Switch and Headlights
M94336a
A - STOP Position
B - Headlights On Position
C - Run Position
D - Start Position
Engine Off
NOTE: Headlights will drain the battery rapidly if key switch is left in headlights on position (B) with the engine off.
• To turn headlights on, turn key switch to headlights on position (B).
• To turn headlights off, turn key switch to STOP position (A).
Engine On
• To turn headlights on, start engine, then turn key switch from run position (C) to headlights on position (B).
• To turn headlights off, turn key switch from headlights on position (B) to run position (C).
Using Hour Meter
• The hour meter shows the number of hours the engine has run. The hour meter will run with the engine off when the key is in the run position with the operator’s seat occupied or the park brake locked with mower engagement off. Use the hour meter to determine when your machine has reached the recommended service intervals.
• Turn the key to STOP position when not using the machine.
• Hour meter cannot be reset.
Checking Fuel Level
MX38047
Check fuel level in fuel tank (A).
Starting the Engine
c CAUTION: Avoid injury! Engine exhaust fumes contain carbon monoxide and can cause serious illness or death.
Move the machine to an outside area before running the engine.
Do not run an engine in an enclosed area without adequate ventilation.
• Connect a pipe extension to the engine exhaust pipe to direct the exhaust fumes out of the area.
• Allow fresh outside air into the work area to clear the exhaust fumes out.
|
NOTE: Engine will not start unless park brake is applied and mower is disengaged.
1. Sit on seat.
2. Make sure mower /PTO engagement switch is disengaged.
3. Push down brake pedal.
MX36280a
4. Adjust throttle setting:
• If engine is cold, move throttle lever (A) between the half throttle and fast throttle positions.
• If engine is warm, move throttle lever (A) to slow throttle position.
5. Adjust choke setting:
• If engine is cold, push and hold choke lever (B) all the way up to the choke position.
• If engine is warm, push and hold choke lever (B) half way up or do not use at all depending on engine temperature.
IMPORTANT: Avoid damage! Starter may be damaged if starter is operated for more than 20 seconds at a time:
• Wait two minutes before trying again if engine does not start.
|
6. Turn key (C) to start position for no more than 5 seconds.
7. Release key to run position and release choke lever when engine starts. If engine does not start:
a. Wait 10 seconds.
b. Hold choke lever in the choke position.
c. Turn key to start position again for no longer than 5 seconds. Release key and choke lever when engine starts.
d. Repeat procedure if necessary.
IMPORTANT: Avoid damage! Unnecessary engine idling may cause engine damage. Excessive idling can cause engine overheating, carbon build-up, and poor performance.
|
8. Run engine at half throttle for 30-60 seconds to allow warm-up before operating.
Stopping the Engine
1. Stop the machine.
2. Move throttle lever to half throttle position and allow engine to run at half throttle for several seconds.
3. Turn key to stop position.
4. Lock the park brake.
5. Remove the key.
Using Travel Controls
c CAUTION: Avoid injury! Children or bystanders may be injured by runover and rotating blades. Before traveling forward or rearward:
• Carefully check the area around the machine.
• Disengage the mower before backing up.
|
Forward Travel
1. Start the engine.
2. Unlock the park brake.
3. Push down slowly on forward pedal until desired travel speed is obtained.
4. Release forward pedal and machine will automatically return to neutral and stop.
Reverse Travel
NOTE: Any operating attachment will stop as the reverse foot pedal is depressed with attachment engaged. Reverse attachment operation is possible using the Reverse Implement Option (RIO).
1. Stop the machine.
2. Push mower engagement knob down to the off position to disengage attachment.
3. Look down and behind the machine to be sure there are no bystanders nearby.
4. Push down slowly on reverse pedal.
Stopping
1. Release either travel pedal, machine will automatically return to neutral and stop.
2. Push down brake pedal.
Using Cruise Control
c CAUTION: Avoid injury! Do not use cruise control when going down hills. Machine speed will increase. Operate machine in a large, open area to learn how the cruise control works.
|
Use cruise control when you want to maintain travel speed without having to hold the forward travel pedal down. Cruise control operates only for forward travel.
Engaging Cruise Control
1. Push forward pedal down until you reach desired travel speed.
2. Lift up cruise lever.
3. Remove foot from forward pedal.
4. Release cruise lever.
Disengaging Cruise Control
NOTE: Cruise control will also disengage if forward travel pedal is pressed.
• Push brake pedal down.
Using the Reverse Implement Option (RIO)
c CAUTION: Avoid injury! Children or bystanders may be injured by runover and rotating blades. Before traveling forward or rearward:
• Carefully check the area around the machine.
• Disengage the mower before backing up.
|
NOTE: Operating the mower while backing up is strongly discouraged. The Reverse Implement Option should be used only when operating another attachment or when the operator deems it necessary to reposition the machine with the mower engaged.
1. Stop forward travel. Allow attachment to run.
2. Look down and behind the machine to be sure there are no bystanders.
MX36280a
3. Lift mower engagement switch (A) past the mower engagement position then depress reverse foot pedal (B) slightly.
NOTE: If the attachment stops while positioning the machine, return mower engagement lever to off position. Repeat this procedure from the beginning.
4. As the machine begins to move backward, release the mower engagement lever and position the machine.
5. Resume forward travel. The attachment should continue operating.
6. Repeat procedure to position the machine again.
Using Mower Attachment/ Mower Lift Pedal
NOTE: If the machine is equipped with a lift assist spring, make sure the tension is properly adjusted to support the weight of the mower deck or attachment installed.
Mowing Position
Mower floats along ground contour while maintaining desired cutting height. The mower will always float up and back down onto the depth stop.
1. Press lift pedal, make sure mower lift lock lever is in lower position, select cut height on knob, release pedal to lower deck.
Transport Position
Holds mower above ground level while traveling to and from worksite.
1. Push forward on lift pedal.
2. Raise mower lift lock lever to latch deck in transport (raised) position.
3. Remove foot from lift pedal and mower stays up.
Using Mower Engagement Lever
NOTE: Mower engagement operation will stop if reverse pedal is depressed. Understand the Reverse Implement Option (RIO) system before operating the mower.
1. Start the engine. If necessary, allow engine to warm up before operating mower.
NOTE: Always operate at maximum throttle speed when mower is engaged.
2. Move throttle lever to fast position.
3. Move mower engagement lever to desired position:
• Engage mower - Lift up on mower engagement lever to “l” position.
• Disengage mower - Push down on mower engagement lever to “O” position.
• Maintain mower engagement in reverse - Lift and hold mower engagement lever in the highest position. Depress reverse foot pedal to start moving in reverse, release mower engagement lever.
Using Grass Collector
1. Push down mower engagement lever to stop mower blades.
c CAUTION: Avoid injury! Do not attempt to unplug attachment with machine running.
• Rotating blades are dangerous. Shut off the engine and remove the key before getting off the seat to inspect the machine and attachment.
• Thrown objects can cause serious injury. Make sure all machine parts are stopped before raising hopper top or removing chutes.
|
NOTE: Mower engagement operation will stop if the grass collector is full. Do not engage mower until grass collector has been emptied.
2. Drive to dumping location, stop tractor and lock the park brake.
MX38008
3. Pull handle (A) upward (B) and then forward and down (C) to open grass collector.
4. Drive forward away from grass pile to empty grass clippings.
5. Push rearward on handle until collector locks in the closed position. Push down on handle to place in lowered position.
Adjusting Grass Collector Latch
MX38007
1. If grass collector does not tightly latch closed, move spring (A) onto either hole (B) to increase tension on latch lever (C).
Moving Machine by Hand
c CAUTION: Avoid injury! When the bypass valve is open, the machine will have unrestricted motion.
• Do not open the bypass valve when the machine is stopped on an incline to prevent it from going downhill out of control.
|
IMPORTANT: Avoid damage! Transmission damage may occur if the machine is towed or moved incorrectly:
• Move machine by hand only.
• Do not use another vehicle to move machine.
• Do not tow machine.
|
1. Unlock the park brake.
MX38009
2. Open grass collector (A).
3. Pull out bypass valve lever (B) at rear of machine.
4. Push machine to desired location.
IMPORTANT: Avoid damage! The transmission might be damaged if the bypass valve lever is not pushed back to operating position before attempting to start the engine. Do not start or operate the machine with the bypass valve lever in the push position.
|
5. Push in bypass valve lever.
6. Close grass collector.
Checking for Plugging
c CAUTION: Avoid injury! Do not attempt to unplug attachment with machine running.
• Rotating blades are dangerous. Shut off the engine and remove the key before getting off the seat to inspect the machine and attachment.
• Thrown objects can cause serious injury. Make sure all machine parts are stopped before raising hopper top or removing chutes.
|
Checking For Plugging While Driving
If there is a trail of clippings behind mower or clippings blow to the side, check for:
• full collector bag,
• plugged chute,
• plugged pressure sending boot housing or hose (See Cleaning Pressure Sensor in the SERVICE MOWER section.),
• or problem with deck blower assembly.
Transporting Machine on Trailer
NOTE: Trailer capacity must exceed combined machine weight and attachment weight. (See Specifications section in operator’s manual).
Be sure trailer has all the necessary lights and signs required by law.
c CAUTION: Avoid injury! Use extra care when loading or unloading the machine onto a trailer or truck.
• Park trailer on a level surface.
• Use of a trailer with sides is recommended.
• Keep wheels away from drop-offs and edges.
• Back slowly and in a straight line.
• Close fuel shut-off valve, if your machine is equipped.
|
IMPORTANT: Avoid damage! Transporting a machine on a trailer or on a truck bed at high speeds can result in hood or engine cover raising and possibly coming off machine if not secured.
• Position machine on trailer so hood or engine cover opens from rear of trailer to prevent wind from blowing hood or cover open.
• Secure hood or engine cover with existing machine locks or latches.
• Secure hood or engine cover with tie down straps if no locks or latches exist.
|
1. Park trailer on level surface.
2. Raise mower deck, if installed, before driving machine onto trailer.
3. Drive machine onto heavy-duty trailer. Position machine on trailer so hood or engine cover will not raise in wind while being transported.
4. Lower mower deck completely.
5. Lock park brake.
6. Turn off machine and remove key.
7. Fasten machine at the axle or frame to trailer with heavy-duty straps, chains, or cables. Both front and rear straps must be directed down and outward from machine.
8. Secure hood to prevent from lifting while driving.
Using Weights
c CAUTION: Avoid injury! The machine may become unstable when operating on slopes and/or with some attachments.
Use weights to improve stability when operating on slopes or using attachments.
Remove weights when not required.
|
IMPORTANT: Avoid damage! Never use liquid in tires or wheel weights as ballast. Transmission damage can occur.
When rear ballast is needed, use only the approved rear weight bracket and attaching weights.
|
NOTE: See your authorized dealer for recommended weights.
• Install front weights for added stability and steering control when you use equipment such as the rear-mounted grass bagger.
• Install rear weights when using the snow blade or snowblower.
• Remove weights when not required.
Using Tire Chains
IMPORTANT: Avoid damage! Do not use chains with mower deck or tiller.
|
Tire chains are recommended for use with most front attachments. Remove tire chains before installing mower deck.
See your attachment Operator’s Manual for tire chain recommendation. See your authorized dealer for the chains.
Mowing Tips
The following recommendations will produce the best lawn cut quality and appearance:
• Keep mower blades sharp. Dull blades will tear grass; tips of grass will then turn brown.
• Cutting grass too short may kill grass and let weeds grow easily. The suggested finished cut height range is 44 - 70 mm (1.75 - 2.75 in.).
• Adjust cutting height to remove only 1/3 of the grass at a time.
• Do not mow wet grass.
• Mow grass often. Short grass clippings will decay quickly.
• Mow with engine at full throttle.
• Adjust travel speed to match mowing conditions:
• Travel at slow speed when you mow thick, tall grass, make sharp turns or trim around objects.
• Travel at moderate speed when you mow thin grass.
• Use a different mowing pattern each time you mow. Overlap mowing paths 50 - 100 mm (2 - 4 in.).
• Drive over ridges and through shallow ditches straight-on, not at an angle.
MIF
• Mow around the outside twice, then mow inside in straight passes. Best cut is achieved when mowing in a straight line.
• When mowing or mulching near pavement, overlap the pavement by 50 mm (2 in.) to allow clippings to dispense over grass.
• A thick layer of mulched leaves can prevent sunlight from getting to grass and smother it. Taller grass heights allow mulched leaves to dispense easier in lawn. Mulch leaves several times if needed.
• Use a thatcher in late spring or summer to pull up dead grass and aerate ground.
• For Mulching Mower: Shorter cut heights will provide better cut quality, but may leave noticeable clippings. Higher cut heights will reduce clippings, but cut quality may decline.
Bagging Tips
IMPORTANT: Avoid damage! Don’t leave clippings in grass collector bucket. Damp clippings can be a fire hazard.
|
For best performance, grass collector needs good airflow. To help increase airflow:
• Keep underside of deck and chute clean.
• Keep screens on grass collector bucket clean.
• Cut grass high.
• Mow at full throttle.
• Clean grass collector after each use with water from garden hose. (See Cleaning Mower Deck and Grass Collector in Service Miscellaneous section.) Let bucket dry before use.
|