
Service Engine
Engine Warranty Maintenance Statement
Maintenance, repair, or replacement of the emission control devices and systems on this engine, which are being done at the customer’s expense, may be performed by any non-road engine repair establishment or individual. Warranty repairs must be performed by an authorized John Deere dealer.
Avoid Fumes
CAUTION: Avoid injury! Engine exhaust fumes contain carbon monoxide and can cause serious illness or death.
Do not run an engine in an enclosed area, such as a garage, even with doors or windows opened.
Move the machine to an outside area before running the engine.
|
Engine Oil
Use oil viscosity based on the expected air temperature range during the period between oil changes.
The following John Deere oils are preferred:
• TURF-GARD™
• PLUS- 4™
Other oils may be used if above John Deere oils are not available, provided they meet the following specification:
• API Service Classification SJ or higher
hecking Engine Oil Level
IMPORTANT: Avoid damage! Failure to check the oil level regularly could lead to serious engine problems if oil level is out of the operating range:
• Check oil level before operating.
• Check oil level when the engine is cold and not running.
• Keep oil level between the dipstick marks.
• Shut off engine before adding oil.
|
NOTE: Check oil twice a day if you run engine over 4 hours in a day.
Make sure engine is cold when checking engine oil level.
1. Park machine safely. (See Parking Safely in the SAFETY section.)
IMPORTANT: Avoid damage! Dirt and contamination can enter engine when checking oil level. Clean area around dipstick before loosening or removing.
|
2. Clean area around dipstick to prevent debris from falling into crankcase.
MX39807
Picture Note: Single cylinder Briggs and Stratton shown.
MX39802
Picture Note: Twin cylinder Briggs and Stratton shown.
MX37910
Picture Note: Twin cylinder Kawasaki shown.
3. Remove dipstick (A). Wipe with clean cloth.
4. Install dipstick:
• Briggs and Stratton Engines: Install and tighten dipstick.
• Kawasaki Engines: Install dipstick in tube but do not tighten. Allow dipstick threads to rest on top of tube and rotate cap counterclockwise until it “clicks” or drops into place.
5. Remove dipstick.
6. Check oil level on dipstick. Oil must be between ADD and FULL marks.
7. If oil level is low, add oil to bring oil level no higher than FULL mark on dipstick. Do not overfill.
8. Install and tighten dipstick.
hanging Engine Oil and Filter
IMPORTANT: Avoid damage! Operating in extreme conditions may require more frequent service intervals:
• Engine components may become dirty or plugged when operating in extreme heat, dust or other severe conditions.
• Engine oil can degrade if machine is operated constantly at slow or low engine speeds or for frequent short periods of time.
|
1. Run engine to warm oil.
2. Park machine safely on level surface. (See Parking Safely in the SAFETY section.)
IMPORTANT: Avoid damage! Dirt and contamination can enter engine when checking oil level. Clean area around dipstick before loosening or removing.
|
3. Clean area around dipstick to prevent debris from falling into crankcase.
Single cylinder Briggs and Stratton:
MX37942
MX38113
1. Put drain pan under hole (A) of drain valve (B), and remove drain cap (C).
2. Install drain hose (D) onto end of drain valve. Loosen engine dipstick. Turn drain valve counterclockwise and pull outward to allow oil to drain completely.
3. Push drain valve inward, and turn clockwise to tighten. Remove drain hose, and install drain cap.
4. Add oil no higher than FULL mark on dipstick. Begin with approximately 1.2 L (1.25 qt). Do not overfill.
5. Install and tighten dipstick.
6. Start and run engine at idle to check for leaks. Stop engine. Fix any leaks before operating.
7. Check oil level. Add oil if necessary.
Twin cylinder Briggs and Stratton:
MX39802
MX38114
1. Raise seat, and put drain pan under drain valve (A).
2. Install drain hose (B) onto bottom end of drain valve. Loosen fitting (C) to drain oil into drain pan.
3. Loosen dipstick (D), and allow oil to drain completely.
MX39803
4. Wipe dirt from around oil filter (E). Place a drain pan under oil filter, and remove old filter.
5. Put a light coat of fresh, clean oil on the new filter gasket.
6. Install replacement oil filter by turning oil filter to the right (clockwise) until the rubber gasket contacts filter base. Tighten filter an additional one-half turn.
7. Tighten oil drain fitting (C), and remove drain hose (B).
8. Add oil no higher than FULL mark on dipstick. Begin with approximately 1.6 L (1.75 qt). Do not overfill.
9. Install and tighten dipstick.
10. Start and run engine at idle to check for leaks. Stop engine. Fix any leaks before operating.
11. Check oil level. Add oil if necessary.
Twin cylinder Kawasaki:
MX37910
1. Put drain pan under drain valve (A), and loosen drain valve to drain oil into drain pan.
2. Loosen dipstick (B), and allow oil to drain completely.
3. Wipe dirt from around oil filter (C). Place a drain pan under oil filter, and remove old filter.
4. Put a light coat of fresh, clean oil on the new filter gasket.
5. Install replacement oil filter by turning oil filter to the right (clockwise) until the rubber gasket contacts filter base. Tighten filter an additional one-half turn.
6. Tighten oil drain valve (A).
7. Add oil no higher than FULL mark on dipstick. Begin with approximately 1.5 L (1.6 qt). Do not overfill.
8. Install and tighten dipstick.
9. Start and run engine at idle to check for leaks. Stop engine. Fix any leaks before operating.
10. Check oil level. Add oil if necessary.
leaning Air Intake Screen and Engine Fins
CAUTION: Avoid injury! Compressed air can cause debris to fly a long distance.
• Clear work area of bystanders.
• Wear eye protection when using compressed air for cleaning purposes.
• Reduce compressed air pressure to 210 kPa (30 psi).
|
IMPORTANT: Avoid damage! An obstructed air intake screen can cause engine damage due to overheating. Keep air intake screen and other external surfaces of the engine, including cooling fins, clean at all times to allow adequate air intake.
|
1. Park machine safely. (See Parking Safely in the SAFETY Section.)
2. Clean air intake screen on top of engine and external surfaces with rag, brush, vacuum or compressed air.
hecking and Cleaning Air Cleaner Elements (Single Cylinder Briggs & Stratton)
1. Park machine safely. (See Parking Safely in the SAFETY section.)
2. Let engine cool.
3. Clean dirt and debris from the air cleaner cover.
MX39804
4. Lift latch (A) to unlock cover (B). Lift cover forward and remove.
IMPORTANT: Avoid damage! Dirt and debris can enter the engine through a damaged filter element:
• Do not wash paper element.
• Do not attempt to clean paper element by tapping against another object.
• Do not use pressurized air to clean element.
• Replace element only if it is very dirty, damaged or the seal is cracked.
|
MX7679
5. Inspect the foam precleaner (C) without removing it. If the foam precleaner is dirty:
a. Remove it from the filter carefully, leaving the paper element (D) in the air cleaner housing.
b. Wash precleaner in a solution of warm water and liquid detergent. Do not use oil.
. Rinse precleaner thoroughly. Squeeze out excess water in a dry cloth until precleaner is completely dry.
6. Inspect the paper filter element (D) without removing it. If the paper filter element is damaged or dirty:
• Carefully remove the element from the air cleaner housing.
7. Clean air cleaner base very carefully, preventing any dirt from falling into carburetor.
8. Install new paper filter element.
9. Install foam precleaner on paper filter element.
10. Install air cleaner cover and push latch down to lock.
hecking and Cleaning Air Cleaner Elements (Twin Cylinder Briggs & Stratton)
1. Park machine safely. (See Parking Safely in the SAFETY section.)
2. Let engine cool.
3. Clean dirt and debris from the air cleaner cover.
MX39805
4. Loosen two knobs (A) and remove cover (B).
IMPORTANT: Avoid damage! To prevent engine damage, do not allow any foreign objects to fall into the carburetor air intake.
|
MX39806
5. Do not drop anything into the carburetor air intake (C). If anything falls into the carburetor air intake it must be removed.
6. Lift out filter cartridge (D) and inspect it for damage.
IMPORTANT: Avoid damage! Dirt and debris can enter the engine through a damaged filter element:
• Do not wash paper element.
• Do not attempt to clean paper element by tapping against another object.
• Do not use pressurized air to clean element.
• Replace element only if it is very dirty, damaged or the seal is cracked.
|
7. Inspect the foam precleaner (E) without removing it. If the foam precleaner is dirty:
a. Remove it from the filter carefully.
b. Wash precleaner in a solution of warm water and liquid detergent.
. Rinse precleaner thoroughly. Squeeze out excess water in a dry cloth until precleaner is completely dry.
8. Clean air cleaner housing carefully. Prevent any dirt from falling into carburetor.
9. Install foam precleaner mesh side up.
10. Install cartridge. Make sure cartridge and seal are properly seated and sealing the carburetor air intake area.
11. Install air cleaner cover and tighten knobs. Do not overtighten.
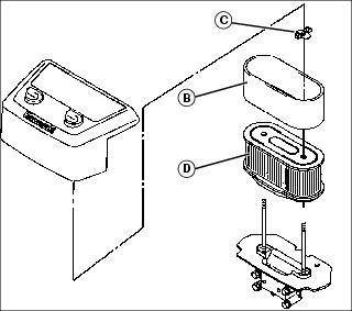
hecking and Cleaning Air Cleaner Elements (Twin Cylinder Kawasaki)
1. Park machine safely (See Parking Safely in the SAFETY section).
2. Let engine cool.
3. Clean dirt and debris from the air cleaner cover.
MX37910
4. Loosen two knobs (A) and remove cover (B).
MX37945
5. Inspect the foam precleaner (B) without removing it.
6. If the foam precleaner is dirty:
• Remove the filter carefully.
• Wash precleaner in a solution of warm water and liquid detergent.
• Rinse precleaner thoroughly. Squeeze out excess water in a dry cloth until precleaner is completely dry.
IMPORTANT: Avoid damage! Dirt and debris can enter the engine through a damaged filter element:
• Do not wash paper element.
• Do not attempt to clean paper element by tapping against another object.
• Do not use pressurized air to clean element.
• Replace element only if it is very dirty, damaged or the seal is cracked.
|
7. Remove foam precleaner (B), wing nuts (C), and paper element (D). Inspect paper element.
8. If the paper filter element is damaged or dirty, replace filter.
9. Clean air cleaner base very carefully, preventing any dirt from falling into carburetor.
10. Install foam precleaner (B) onto paper filter element (D). Install paper element onto carburetor base, and secure with two wing nuts (C). Install air cleaner cover and tighten wing nuts.
hecking Spark Plug
CAUTION: Avoid injury! Touching hot surfaces can burn skin. The engine, components, and fluids will be hot if the engine has been running. Allow the engine to cool before servicing or working near the engine and components.
|
1. Park machine safely (See Parking Safely in the SAFETY section).
MX39807
Picture Note: Single cylinder Briggs and Stratton shown.
MX39805
Picture Note: Twin cylinder Briggs and Stratton shown.
MX37910
Picture Note: Twin cylinder Kawasaki shown.
2. Disconnect spark plug wire (A). For the twin cylinder engines, there is one on each side of engine.
3. Remove each spark plug.
4. Clean spark plug carefully with a wire brush.
5. Inspect spark plug for:
• Cracked porcelain.
• Pitted or damaged electrodes.
• Other wear or damage.
NOTE: In Canada, replace spark plug with resistor plug only.
6. Replace spark plugs as necessary.
M85200
7. Check plug gap (B) with a wire feeler gauge. To change gap, move the outer electrode. Gap must be 0.75 mm (0.030 in.).
8. Install spark plugs and tighten to 20 N•m (180 lb-in.).
9. Connect spark plug wire(s).
Adjusting Carburetor
NOTE: Carburetor is calibrated by the engine manufacturer and is not adjustable.
If engine is operated at altitudes above 1006 m (3,300 ft), some carburetors may require a special high altitude main jet. See your authorized dealer.
If engine is hard to start or runs rough, check the TROUBLESHOOTING section of this manual.
Possible engine surging will occur at high throttle with transmission in “N” neutral and mower engagement lever disengaged. This is a normal condition due to the emission control system.
After performing the checks in the troubleshooting section and your engine is still not performing correctly, contact your authorized dealer.
Replacing Fuel Filter
CAUTION: Avoid injury! Fuel vapors are explosive and flammable:
• Do not smoke while handling fuel.
• Keep fuel away from flames or sparks.
• Shut off engine before servicing.
• Cool engine before servicing.
• Work in a well-ventilated area.
• Clean up spilled fuel immediately.
|
NOTE: Change filter when fuel is low.
1. Park machine safely. (See Parking Safely in the SAFETY section).
2. Let engine cool.
3. Raise operator’s seat.
4. Put a drain pan under fuel filter.
MX37908
Picture Note: Single cylinder Briggs and Stratton shown.
MX37909
Picture Note: Twin cylinder Briggs and Stratton shown.
MX37910
Picture Note: Twin cylinder Kawasaki shown.
5. Slide hose clamps on both sides of fuel filter (A) away from fuel filter ends using pliers.
6. Disconnect hoses from filter.
IMPORTANT: Avoid damage! Incorrect installation of fuel filter may cause engine damage. Install the filter with the arrow pointing in the direction of fuel flow (towards the engine) for proper operation.
|
7. Connect hoses to new filter making sure the filter arrow is pointing in the direction of the fuel flow.
8. Install clamps and check for leaks.
leaning Engine Screen Guard
The Briggs and Stratton single and twin cylinder engines incorporate a removable guard over the rotating flywheel cover at the top of the engine. The guard should be removed to check for and remove any debris daily in conjuction with checking engine oil level.
MX39808
1. Locate rotating screen guard (A) at top of engine, and the two retaining tabs (B), embossed with a finger symbol.
MX39809
2. Push in on the two retaining tabs and lift off guard (A).
3. Clean guard and flywheel cover of debris.
4. Re-install guard after cleaning.
|