
Operating
Raising and Lowering Snowblower
1. Review Using Hydraulic Dual Selective Control Valve (SCV) and Using Dual Selective Control Valve Lock Lever instructions in your tractor operator’s manual.
2. Move dual SCV lever forward to lower the snowblower.
3. Move dual SCV lever rearward to raise the snowblower.
Operating Snowblower
Review Using the Power-Take-Off (PTO) Safely and Using Rear and Mid-PTO instructions in your tractor operator’s manual.
Review Using Hydraulic Dual Selective Control Valve (SCV) and Using Dual Selective Control Valve Lock Lever instructions in your tractor operator’s manual.
Engaging Snowblower
1. Start tractor engine.
IMPORTANT: Avoid damage! Lever must be in float position to allow implement to follow ground contours.
|
2. Push dual SCV lever forward to completely lower snowblower to the ground and lock in float position.
3. Adjust engine throttle setting to rpm indicated in tractor operator’s manual.
4. Engage PTO.
NOTE: Operate snowblower at full throttle position for best performance.
5. Move engine throttle to full throttle position.
6. Unlock tractor park brake.
7. Begin forward travel slowly.
Disengaging Snowblower
1. Stop tractor forward travel.
2. Adjust engine throttle setting to rpm indicated in tractor operator’s manual.
3. Run snowblower for several minutes after blowing snow to prevent freeze-up of auger and impeller.
4. Disengage PTO.
5. Push dual SCV lever forward to completely lower snowblower to the ground.
Turning Discharge Chute
1. Review Using Hydraulic Dual Selective Control Valve (SCV) and Using Dual Selective Control Valve Lock Lever instructions in your tractor operator’s manual.
2. Move dual SCV lever to the right to rotate chute to the right.
3. Move dual SCV lever to the left to rotate chute to the left.
Adjusting Spout
1. Park machine safely.
MX11501
2. Loosen knob (A).
3. Turn spout to desired position.
4. Tighten knob.
Adjusting Skid Shoes
1. Raise snowblower.
2. Put blocks under scraper blade on both sides of snowblower.
3. Lock park brake.
4. Stop engine and remove key.
5. Lower snowblower onto blocks.
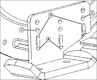
NOTE: Before using snowblower on gravel or rough surfaces, mount both skid shoes at lowest position. (A negative clearance means the shoe is mounted above the blade.)
Skid Shoe Mounting
|
Position
|
Blade Clearance
|
A
|
-10 mm
|
-3/8 in.
|
B
|
12 mm
|
1/2 in.
|
C
|
25 mm
|
1 in.
|
D
|
45 mm
|
1 3/4 in.
|
*THE OPTIONAL HEAVY DUTY FLAT SCRAPER BLADE WOULD ALLOW 10 mm (3/8 IN.) ADDITIONAL CLEARANCE
|
NOTE: Use position A or B with skid shoe mounted inside only.
Use position C with skid shoe mounted either inside or outside.
Use position D with skid shoe mounted outside only.
M77297a
Picture Note: Skid shoe mounted on inside: use position A, B, or C.
M77298
Picture Note: Skid shoe mounted on outside: use position C or D.
For smooth surface work
1. Remove screws and locknuts on each skid shoe.
2. Insert screws to position A or B.
3. Tighten locknuts.
For gravel or rough surface work
1. Remove screws and locknuts from each skid shoe.
2. Insert screws in position C or D.
3. Tighten locknuts.
|