
Operating
Daily Operating Checklist
o Test safety systems.
o Check fuel level. (See SERVICE MISCELLANEOUS section, Using Proper Fuel and Stabilizer)
o Check engine oil level.
o Remove grass and debris from engine compartment and muffler area, and on top of mower deck, before and after operating machine.
o Clean air intake screen.
o Check area below machine for leaks.
Avoid Damage to Plastic and Painted Surfaces
• Do not wipe plastic parts unless rinsed first. Using a dry cloth may cause scratches.
• Insect repellent spray may damage plastic and painted surfaces. Do not spray insect repellent near machine.
• Be careful not to spill fuel on machine. Fuel may damage surface. Wipe up spilled fuel immediately.
• Prolonged exposure to sunlight will damage hood surfaces.
Mounting and Dismounting Machine
MX51461
• Do not step on the mower deck when mounting and dismounting the machine.
• Mount the machine from the front using step (A) and/or the foot plate (B).
• Park machine safely before dismounting (see Parking Safely in the SAFETY section).
• Keep the foot plate clean.
Adjusting Seat
MX51837
1. Tip seat forward.
2. Loosen four seat bolts with a 13mm wrench or the height of cut (HOC) pin.
3. Slide seat to desired position and tighten bolts to 20 N•m (15 lb-ft).
Adjusting Motion Control Levers
1. Park machine safely. (See Parking Safely in the SAFETY section.)
MX51459
2. To adjust motion control lever height, remove two bolts and nuts and raise or lower each control lever to your comfort level.
• For highest lever position, use holes (A).
• For lowest lever position, use holes (B).
3. You can also adjust motion control levers slightly forward or rearward (C) within slotted holes.
Adjusting Cutting Height
Cutting height can be adjusted from approximately 25-100 mm (1-4 in.). When mower deck is in transport position cutting height is approximately 100 mm (4 in.).
1. Check tire pressure and adjust as needed.
MX50270
2. Pull upward on mower deck lift lever (A) and pull lever towards center of machine to lock in raised position.
3. Insert the pin (B) in the proper hole for the desired height of cut.
4. Lower mower deck:
• Lift slightly on mower deck lift lever, push slightly outward, and lower lift lever (A) onto pin (B).
Adjusting Mower Level
c CAUTION: Avoid injury! Rotating blades are dangerous. Before adjusting or servicing mower:
• Disconnect spark plug wire(s) or battery negative (-) cable to prevent engine from starting accidently.
• Always wear gloves when handling mower blades or working near blades.
|
NOTE: Mower wheels should not contact the ground when leveling the deck.
1. Park machine safely. (See Parking Safely in the SAFETY section.)
2. Inflate tires to the correct pressure.
3. Position caster wheels to the forward driving position.
4. Set mower to preferred cutting height, and lower deck into the mowing position.
5. Measure mower level (side-to-side).
MIF
Picture Note: A convenient leveling gauge (A) (AM130907) is available from your dealer.
a. Position mower blades as follows and measure from each outside blade tip (B) to the level surface.
MX4896
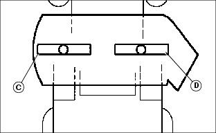
b. Turn left blade (C) as shown. Hold
and turn right blade (D) as shown. Take measurement for both blades.
The difference between blade measurements must not be more than 3 mm (1/8 in.).
MX50269
c. Adjust mower level, if necessary, by turning rear nuts (E) clockwise to raise the side of the mower deck, or counterclockwise to lower the mower deck.
6. Measure mower level (front-to-rear).
MX4896a
a. Turn right blade (D) so blade tip points straight forward.
b. Measure from blade tip to the surface. Take measurement for both blades. The front blade tip must be 3 - 6 mm (1/8 - 1/4 in.) lower than rear blade tip.
MX51442
c. 42 in. mower deck: Remove access panel and adjust mower level, if necessary, by loosening rear nut (F) on front lift rod. Turn front nut (G) clockwise to raise front of mower or counterclockwise to lower it. Tighten rear nut after adjustment is complete.
MX51440
Picture Note: 48TD in. deck shown.
d. 48TD mower decks: Adjust mower level, if necessary, by loosening rear nuts (H) on front lift rod. Turn front nuts (I) clockwise to raise front of mower or counterclockwise to lower it.
NOTE: Verify that deck will latch in transport position. If it does not latch, turn both rear adjusting nuts counter-clockwise equally to lower rear of deck until deck latch will engage. Check front lift rod adjustment, adjust if necessary.
Adjusting Mower Wheels
c CAUTION: Avoid injury! Rotating blades are dangerous. Before adjusting or servicing mower:
• Disconnect spark plug wire(s) or battery negative (-) cable to prevent engine from starting accidently.
• Always wear gloves when handling mower blades or working near blades.
|
IMPORTANT: Avoid damage! The mower deck can be damaged if mower wheels are adjusted wrong:
• Wheels must not ride on ground supporting mower weight.
• Check wheel adjustment each time cutting height is changed.
|
1. Park machine safely on a level surface. (See Parking Safely in the SAFETY section).
2. Inflate tires to correct pressure.
3. Raise mower deck lift lever, and lock in transport position.
4. Adjust mower wheels to correct height:
42 and 48 Inch Mower
MX39714
Picture Note: 42 Inch Mower shown.
Position 1 (A)
|
25 - 38 mm (1 - 1-1/2 in.) Height of Cut
|
Position 2 (B)
|
44 - 50 mm (1-3/4 - 2 in.) Height of Cut
|
Position 3 (C)
|
57 - 69 mm (2-1/4 - 2-3/4 in.) Height of Cut
|
Position 4 (D)
|
76 - 101 mm (3 - 4 in.) Height of Cut
|
• Remove shoulder bolt (E) and nut (F). Move wheel (G) to proper hole position. Secure with shoulder bolt and nut. Tighten nut to 34 N•m (25 lb-ft).
Testing Safety Systems
c CAUTION: Avoid injury! Engine exhaust fumes contain carbon monoxide and can cause serious illness or death.
Do not run an engine in an enclosed area, such as a garage, even with doors or windows opened.
Move the machine to an outside area before running the engine.
|
The safety systems installed on your machine should be checked before each machine use. Be sure you have read the machine operator manual and are completely familiar with the operation of the machine before performing these safety system checks.
Use the following checkout procedures to check for normal operation of machine.
If there is a malfunction during one of these procedures, do not operate machine. See your authorized dealer for service.
Perform these tests in a clear open area. Keep bystanders away.
Testing Park Brake Switch
1. Park machine safely. (See Parking Safely in the SAFETY section.)
2. Sit on seat.
3. Unlock the park brake.
4. Try to start engine.
Result: Engine must not crank. If engine cranks, there is a problem with your safety interlock circuit.
Testing Park Brake
1. Park machine safely. (See Parking Safely in the SAFETY section.)
2. Engage bypass valve control rods.
3. Lock the park brake.
4. Try to push machine manually.
Result: Park brake must prevent machine from moving. If machine moves, parking brake needs to be adjusted.
Testing Mower Engagement (PTO) Switch
1. Park machine safely. (See Parking Safely in the SAFETY section.)
2. Sit on seat.
3. Lock the park brake.
4. Engage the mower.
5. Try to start engine.
Result: Engine must not crank. If engine cranks, there is a problem with your safety interlock circuit.
Testing Seat Switch
1. Park machine safely. (See Parking Safely in the SAFETY Section.)
2. First test:
a. Lock park brake.
b. Start engine.
c. Move throttle lever up to maximum engine speed.
d. Engage mower.
e. Raise up off seat. Do not get off machine.
Result: Engine and mower blades should stop. If engine and mower blades do not stop, there is a problem with your safety interlock circuit.
3. Second test:
a. Disengage mower.
b. Start engine.
c. Unlock park brake.
d. Raise up off seat. Do not get off machine.
Result: Engine should stop. If engine does not stop, there is a problem with your safety interlock circuit.
4. Third test:
a. Lock park brake.
b. Disengage mower.
c. Start engine.
d. Raise up off seat. Do not get off machine.
Result: Engine should continue to run. If engine stops, there is a problem with your safety interlock circuit.
Testing Motion Control Lever Switch
1. Park machine safely. (See Parking Safely in the SAFETY Section.)
2. Sit on seat.
3. First test:
a. With the park brake locked, start engine.
b. Move right motion control lever inward.
Result: Engine should stop. If engine does not stop, there is a problem with your safety interlock circuit.
4. Second test:
a. Start engine.
b. Release park brake.
c. Move right motion control lever inward.
Result: Engine should continue to run. If engine stops, there is a problem with your safety interlock circuit.
5. Repeat first and second test using left motion control lever.
Using Park Brake
c CAUTION: Avoid injury! Children or bystanders may attempt to move or operate an unattended machine.
Always lock the park brake and remove the key before leaving the machine unattended.
|
Setting Park Brake
1. Raise park brake lever to lock park brake.
Releasing Park Brake
1. Lower park brake lever to unlock park brake.
Using Key Switch
MX31338
A - STOP (off) position - With key in the STOP position, all switched power is off, and engine should not run.
B - Run (on) position - Turn key from STOP to this position, and all switched power circuits will be on.
C - Start position - Turn key to start position to crank the engine. Release key after engine has started and it will automatically return to the on position. The engine will continue to run.
Using Mower Engagement Switch
• To Engage Mower - Pull mower engagement knob up.
• To Disengage Mower - Push mower engagement knob down.
Using the Hourmeter
• The hour meter shows the number of hours the engine has run. The hour meter does not accumulate hours with the engine off when the key is in the run position. Use the hour meter to determine when your machine has reached the recommended service intervals.
• Turn the key to STOP position when not using the machine.
• Hour meter cannot be reset.
Using the Motion Control Levers
c CAUTION: Avoid injury! Learn use of the motion control levers and practice at half throttle until becoming proficient and comfortable with the operation of the machine.
Do not move motion control levers from forward to reverse or reverse to forward position rapidly. Sudden direction changes could cause loss of control or damage the machine.
|
Before using the machine, become familiar with the motion control levers and how they respond. It is essential to know how the machine accelerates, steers and stops.
The functions of the motion control levers are:
• Dual function neutral position.
• Steering.
• Acceleration.
• Braking.
Start/shutdown Position
MX51451
• Motion control levers must be in the start/shutdown position (A) and the park brake (B) locked to start the engine.
• Forward and reverse movement of the motion control levers is prevented when levers are moved to the start/shutdown position.
• Operator can exit mower with the engine running when the mower engagement switch is disengaged, the motion control levers are in the start/shutdown position and the park brake is locked.
• Motion control levers must be in the start/shutdown position to safely enter and exit the operator seat.
Neutral Position
MX51452
• Machine speed, motion, and direction can be controlled when the engine is running, motion control levers are in the neutral position (C), and the park brake (D) is unlocked.
• To stop the machine for an emergency, move the motion control levers quickly back to the neutral position.
Forward and Reverse Travel
Straight forward and reverse travel takes practice. If the machine does not track in a straight line when going forward or reverse, the motion control lever tracking may need adjusting.
1. Move throttle lever to the mow position.
2. Unlock park brake.
3. Move both motion control levers from the start/shutdown position inward to the neutral position.
4. Move the motion control levers forward to begin forward travel.
5. Move the motion control levers rearward to begin reverse travel.
6. To stop travel, move motion control levers back to the neutral position.
Forward Travel
MX51453
1. Gradually move both motion control levers evenly forward (A) from neutral. To speed up, move the levers farther forward. To slow down smoothly, slowly move the levers toward neutral.
Reverse Travel
MX51454
1. Look down and behind, then gradually move both motion control levers evenly rearward (B) from neutral. To speed up, move the levers farther rearward. To slow down smoothly, slowly move the levers toward neutral.
Left Turn
MX51455
1. To turn slightly to the left, push right control lever (C) further forward than the left control lever (D).
MX51456
2. To turn sharply to the left, push right control lever (C) forward and pull left control lever (D) rearward at the same time.
Right Turn
MX51457
1. To turn slightly to the right, push left control lever (D) further forward than the right control lever (C).
MX51458
2. To turn sharply to the right, push left control lever (D) forward and pull right control lever (C) rearward at the same time.
Starting the Engine
c CAUTION: Avoid injury! Engine exhaust fumes contain carbon monoxide and can cause serious illness or death.
Do not run an engine in an enclosed area, such as a garage, even with doors or windows opened.
Move the machine to an outside area before running the engine.
|
1. Sit on the operator seat.
2. Lock park brake.
3. Push the mower engagement knob down to disengage the mower.
4. Set both motion control levers to the start/shutdown position.
5. Move throttle lever to set engine speed:
• Cold start: Set throttle lever to the start position.
• Warm start: Set throttle lever to the mow position.
IMPORTANT: Avoid damage! Starter may be damaged if starter is operated for more than 20 seconds at a time:
• Wait two minutes before trying again if engine does not start.
|
6. Turn key switch to the start position.
7. After engine starts, release key switch to the run position and move throttle to mow position.
IMPORTANT: Avoid damage! Unnecessary engine idling may cause engine damage. Excessive idling can cause engine overheating, carbon build-up, and poor performance.
|
8. Allow the engine to warm up for 20 seconds.
9. Release park brake.
10. Set both motion control levers to the neutral position.
Engaging Mower
c CAUTION: Avoid injury! Clear mowing area of all bystanders when operating this machine. Thrown objects could cause serious injury or death.
Keep hands and feet away from blades and discharge opening.
Do not mow in reverse unless absolutely necessary.
|
1. Adjust mower to desired cutting height.
2. Start engine.
3. Release park brake.
4. Move both motion control levers to the neutral position.
5. Set throttle lever to the RUN position.
NOTE: For smoother engagement, deck can be engaged at transport position and then lowered to desired cut height.
6. Pull mower engagement switch up to engage mower.
NOTE: The travel speed and turn rate will vary with the amount that the control levers are moved.
7. Push motion control levers forward slowly. Mow at a safe travel speed.
Stopping the Engine
1. Stop machine on a level surface, not on a slope.
2. Push the mower engagement switch down to disengage mower.
3. Move the motion control levers to the start/shutdown position.
4. Lock park brake.
5. Move throttle lever to the shutdown position.
6. Allow the engine to cool down for 20 seconds.
7. Turn ignition key to STOP (off) position.
c CAUTION: Avoid injury! Children or bystanders may attempt to move or operate an unattended machine.
Always lock the park brake and remove the key before leaving the machine unattended.
|
8. Remove key.
Moving Machine by Hand
c CAUTION: Avoid injury! When the bypass valve is open, the machine will have unrestricted motion.
• Do not open the bypass valve when the machine is stopped on an incline to prevent it from going downhill out of control.
|
IMPORTANT: Avoid damage! Transmission damage may occur if the machine is towed or moved incorrectly:
• Move machine by hand only.
• Do not use another vehicle to move machine.
• Do not tow machine.
|
When the machine needs to be moved without starting the engine, use the bypass valves:
MX50268, MX50268a
1. Push bypass control rods (A) forward and into detent slot (B) to engage bypass valve.
2. Release park brake.
3. Push machine to desired location and lock park brake.
NOTE: The bypass control rods should be disengaged before starting and operating the machine.
MX50268
4. Move both bypass control rods from their detent slot and push the rods back to the disengaged position (C).
Unplugging Mower, Bagger, or Material Collection System
c CAUTION: Avoid injury! Do not attempt to unplug attachment with machine running.
• Rotating blades are dangerous. Shut off the engine and remove the key before getting off the seat to inspect the machine and attachment.
• Thrown objects can cause serious injury. Make sure all machine parts are stopped before raising hopper top or removing chutes.
|
Checking For Plugging While Driving
If grass builds up in front of mower discharge chute, check for plugged chute or problems with blower assembly (if equipped).
If there is a trail of clippings behind mower or clippings blow to the side, check for plugged chute, full collector bags, or problems with blower assembly.
Removing Debris From Inspection Points:
c CAUTION: Avoid injury! Do not use hands or feet to clear plugged mower deck or blower assembly. Stored energy can cause blades to rotate.
|
1. Park machine safely. Wait for all moving parts to stop before getting off to inspect machine.
2. Open hopper cover. Check chute outlet.
3. Remove chute from mower deck or blower assembly. Check chute inlet.
4. Check under mower deck for debris.
Using Wash Port to Clean Mower Deck
NOTE: Follow this procedure after each use to prevent buildup and remove corrosive lawn chemicals.
1. Park machine safely. (See Parking Safely in the Safety section).
MX38397
2. Attach quick-coupler to garden hose.
3. Attach garden hose with quick-coupler to wash port (A) on the mower deck.
4. Turn on water.
5. Start engine.
6. Run at full throttle.
7. Engage mower blades.
8. Flush water under deck for approximately one minute.
9. Disengage mower blades.
10. Stop engine.
11. Turn off water and remove garden hose and quick-coupler from wash port.
12. Remove quick-coupler from garden hose and store for future use.
Transporting Machine on Trailer
NOTE: Trailer capacity must exceed combined machine weight and attachment weight. (See Specifications section in operator’s manual).
Be sure trailer has all the necessary lights and signs required by law.
c CAUTION: Avoid injury! Use extra care when loading or unloading the machine onto a trailer or truck. Machine wheels can go off the ramp or trailer, causing the machine to tip over.
• To load, back slowly and in a straight line. Keep wheels away from drop-offs and edges.
• Do not use two separate loading ramps. Use a full width loading ramp at least 30 cm (12 in.) wider than machine to keep caster wheels from going off the ramp edge.
• Use a trailer with sides.
|
1. Park trailer on level surface.
2. Raise mower deck before driving machine onto trailer.
MX22500
3. Back machine onto heavy-duty trailer with full-width ramp.
4. Lower mower deck completely.
5. Lock park brake.
MX51461
6. Fasten front of machine at both sides of the frame at point (A) to trailer with heavy-duty straps, chains, or cables. Straps must be directed down, forward and outward from machine.
7. Turn off machine and remove key.
MX51447, MX51448
8. Fasten rear of machine at both sides of frame at points (B) to trailer with heavy-duty straps, chains, or cables. Straps must be directed down, rearward and outward from machine.
MX51450
If an attachment bar is on the unit, secure the vehicle using the center of the top bar (C).
Mowing Tips
• Mow grass with throttle lever in the full fast / mow position.
• Mow grass when it is dry.
• Keep mower deck and discharge chute clean.
• Mow with sharp blades.
• Properly level mower deck for a smooth cut.
• Mow grass frequently.
• Use a travel speed that fits the conditions:
• Mow tall or wet grass twice. Cut grass at half desired height – then cut at desired height.
• Travel slow when mowing tall or thick grass.
• Avoid damaging grass by slipping or skidding machine drive wheels. Practice smooth control lever movements.
• When performing sharp turns, do not allow inside machine drive wheel to stop and twist on grass.
Blade Choices
Several types of blades are available for EZtrak mowers:
• 3-N-1 blades. These are general purpose blades that are best suited for side-discharge operation, but can be used with a mulch cover installed. They are not designed for optimal performance when mulching. 3-N-1 blades are installed on Z200 series mowers when shipped from the factory.
• Side discharge blades. These blades are designed for optimal performance when side discharging.
• Bagger blades. These blades are designed for optimal performance when used with a Z200 series bagger.
• Mulching blades. These blades are designed for optimal performance when used with a mulch cover or mulch plug installed.
NOTE: For part number information, see Part Numbers in the Getting Quality Service section.
|