
Service Transmission
Hydraulic Oil
Use the following oil viscosity based on the air temperature range. Operating outside of the recommended oil air temperature range may cause premature hydrostatic transmission failure.
IMPORTANT: Avoid damage! Only use a quality oil in this transmission. Do not mix any other oils in this transmission. Do not use BIO-HY-GARD in this transmission. Do not use "Type F" (Red) Automatic Transmission Fluid in this transmission.
|
The following oil is recommended:
· JD Plus 50 15W-40 Synthetic Blend
Oil must meet the following:
· API Service Classification SG or higher
Check Hydraulic Oil Level
IMPORTANT: Avoid damage! Check oil level in reservoir tank when oil is cold.
Do not overfill oil reservoir tank. Oil will expand during operation and could overflow.
|
1. Park machine safely. (See Parking Safely in the SAFETY section.)
MX21225
2. Unscrew and remove hydraulic reservoir cap/dipstick (A) from the hydraulic oil reservoir.
3. Clean dipstick with a clean rag.
4. Install dipstick but do not screw onto threads.
5. Remove dipstick and check oil level. Oil level should be at top mark on dipstick.
6. If necessary, add oil through the oil reservoir filler neck (B).
7. Install cap on filler neck.
Change Hydraulic Oil and Filter
c CAUTION: Avoid injury! Escaping fluid under high pressure can penetrate the skin and cause serious injury. Avoid the hazard by relieving pressure before connecting hydraulic or other lines. Tighten all connections before applying pressure.
· Search for leaks with a piece of cardboard. Protect hands and body from high pressure fluids.
· If an accident occurs, see a doctor immediately. Any fluid injected into the skin must be surgically removed within a few hours or gangrene may result. Doctors unfamiliar with this type of injury should reference a knowledgeable medical source. Such information is available from Deere & Company Medical Department in Moline, Illinois, U.S.A. In the United States and Canada only, this information may be obtained by calling 1-800-822-8262.
|
IMPORTANT: Avoid damage! Contamination of hydraulic fluid could cause transmission damage or failure. Do not open oil reservoir cap unless absolutely necessary.
Severe or unusual conditions may require a more frequent service interval.
|
1. Park machine safely. (See Parking Safely in the SAFETY section.)
2. Allow engine and hydraulic oil reservoir to cool.
MX21225
3. Remove cap (A) from the oil reservoir tank.
MX18452
4. Turn hydraulic oil filter (B) counterclockwise to remove.
5. Allow hydraulic oil to drain into a drain pan with at least a 9.9 L (10.5 qt) capacity.
6. Apply a film of clean oil on gasket of new filter.
7. Install filter. Turn filter clockwise until gasket makes contact with the mounting surface. Tighten 1/2 to 3/4 turn after gasket contact.
NOTE: Reservoir capacity is approximately 8.5 L (9 qt). Total system capacity with filter is approximately 9.9 L (10.5 qt).
8. Fill oil reservoir with approximately 8.5 L (9 qt) of oil.
9. Install reservoir cap.
10. Start engine.
11. Move throttle lever to the 3/4 fast idle position.
12. Unlock park brake.
c CAUTION: Avoid injury! Help prevent serious bodily injury. Remain alert to other people and the surroundings when operating the machine.
|
13. Run engine in full forward position for five minutes and then cycle motion control levers forward and rearward several times. Check for leaks around filter.
14. Stop the engine. Check oil level. Add oil as necessary.
Cleaning Hydraulic Oil Pump Fan and Cooling Fins
c CAUTION: Avoid injury! Compressed air can cause debris to fly a long distance.
· Clear work area of bystanders.
· Wear eye protection when using compressed air for cleaning purposes.
· Reduce compressed air pressure to 210 kPa (30 psi).
|
IMPORTANT: Avoid damage! To ensure proper cooling, keep the engine cooling fins and surrounding area clean at all times. Operating the engine with obstructed cooling fins could cause engine damage due to overheating.
|
1. Park machine safely. (See Parking Safely in the SAFETY section.)
MX21383
2. Clean hydraulic oil cooler fins (A) around exterior of pump and fan (B) with a rag, brush, or compressed air.
Checking and Replacing Pump Drive Belt
c CAUTION: Avoid injury! Entanglement in a belt or sheave can cause serious injury. Stop engine and wait for all moving parts to stop.
|
NOTE: The transmission drive belt is self-adjusted using a spring tensioner and does not require a tension adjustment.
Checking Belt:
1. Park machine safely. (See Parking Safely in the SAFETY section.)
MX18390
2. Inspect belt (A) for excessive wear, damage or stretching while in position on the transmission sheave and drive belt tensioner sheave.
Replacing Belt
1. Remove mower deck drive belt. (See Remove Mower Deck Drive Belt in the SERVICE MOWER section.)
2. Remove belt from drive sheaves and idler sheave.
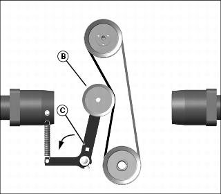
MX18463
· To make removal and installation of the belt easier, carefully rotate the spring loaded idler (B) away from belt using an extension on a 1/2 in. drive breaker bar in the 1/2 in. drive square (C).
3. Install belt onto drive sheaves and idler sheave as shown.
Checking and Adjusting Neutral Creep
c CAUTION: Avoid injury! Do not attempt this adjustment unless you are a qualified and properly trained technician. Improper adjustment can result in an unsafe machine.
|
Checking Motion Control Linkages
1. Raise rear of machine only enough for rear tires to rotate freely.
c CAUTION: Avoid injury! Engine exhaust fumes contain carbon monoxide and can cause serious illness or death.
Move the vehicle to an outside area before running the engine.
Do not run an engine in an enclosed area without adequate ventilation.
· Connect a pipe extension to the engine exhaust pipe to direct the exhaust fumes out of the area.
· Allow fresh outside air into the work area to clear the exhaust fumes out.
|
NOTE: Check and adjust motion control linkages with the machine parked on a hard, level surface.
2. Start engine.
3. Set throttle lever to the fast position.
4. Unlock park brake.
5. If the rear drive wheels begin to creep, an adjustment is required.
Adjusting Motion Control Linkages
1. Stop engine and lock park brake.
MX21227
2. Move both motion control levers (A) to the neutral lock position.
3. Lift operator seat up and tilt forward.
MX18447
4. Locate left and right motion control linkages (B).
5. Adjust the appropriate linkage as follows:
c CAUTION: Avoid injury! Use extreme caution when adjusting for neutral creep. Drive wheels are free to spin when machine is raised off the floor and the engine is started.
Do not have engine running any longer than necessary to do adjustment. Shut off engine and remove key as soon as possible after adjustment is made.
|
NOTE: If you are correcting a forward creep, move the ball joint rearward in the slot. If you are correcting a rearward creep, move the ball joint forward in the slot.
MX18448
a. Loosen ball joint (C).
b. Slide ball joint (C) in slot until the wheel stops rotating completely.
c. Tighten ball joint to 20 N·m (15 lbft).
6. Check for creep as outlined in Checking Motion Control Linkages and adjust as necessary.
7. Sit on operator's seat and start engine.
8. Move both motion control levers completely rearward and release. The levers should return back to the neutral position (completely centered in the slot).
The drive wheels must stop completely. If a drive wheel does not completely stop rotating or the lever is not centered in the neutral lock slot, a damper mount adjustment is necessary:
MX18477
· Adjust damper in slot (D) as necessary. Tighten nut to 20 N·m (15 lbft).
9. Stop engine.
10. Move both motion control levers to the neutral lock position.
11. Check alignment of motion control levers and adjust as necessary. (See Checking and Adjusting Creep in this section.)
12. If ball joint is adjusted to the end of the slot and you are unable to stop tire rotation, disconnect ball joint and lengthen or shorten ball joint link one turn. If the machine creeps forward, lengthen the link, if the machine creeps rearward, shorten the link. Repeat adjustment process.
13. Lower seat.
14. Lower machine.
Adjusting Tracking
If the machine does not track in a straight line while going forward, adjust the tracking:
1. Park machine safely. (See Parking Safely in the SAFETY section.)
2. Lift operator seat up and tilt forward.
MX18447
3. Remove nut (A) from ball joint (B or C) on traction control lever (D or E) and rotate ball joint.
· If machine tracks to right, remove nut from left traction lever (D) and rotate ball joint (B) counterclockwise one rotation.
· If machine tracks to left, remove nut from right traction lever (E) and rotate ball joint (C) counterclockwise one rotation.
4. Repeat the previous step as necessary to adjust the tracking.
5. Lower seat.
Adjusting Speed
1. Park machine safely. (See Parking Safely in the SAFETY section.)
2. Lift operator seat up and tilt forward.
NOTE: Adjust both ball joints the same amount.
MX18447
3. Remove nut (A) from ball joint and rotate.
· To increase reverse speed, remove nuts from ball joints and rotate ball joints counterclockwise.
· To increase forward speed, remove nuts from ball joints and rotate ball joints clockwise.
4. Repeat the previous procedure as necessary to adjust speed.
5. Lower seat.
|