
Installing
Hitching Trailer
c CAUTION: Avoid injury! Keep hands and feet from under hitch coupler when attaching or removing it from machine.
|
NOTE: Machine must be equipped with 47.6 mm (1-7/8 in. hitch ball) for greensmower trailer use.
1. Park machine safely. (See Parking Safely in the SAFETY section.)
MX16733
Picture Note: Top view of hitch coupler shown.
2. Lift up on hitch coupler latch lever (A). Lift drawbar and connect hich coupler to hitch ball on machine.
3. Press latch lever (A) on coupler down fully.
MX16885
4. Remove blocks (B) from wheels.
Install Axle Brackets
Install Axle Brackets for Model 220 E-Cut WBGM
MX42816
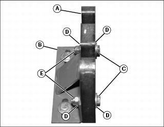
1. Assemble axle catch (A) to axle catch bracket (B) using two 5/16 x 1 in. cap screws (C), four washers (D), and two locknuts (E). Repeat to assemble remaining axle catch assemblies. Tighten securely.
NOTE: If trailer will only be used for one greensmower, it is not necessary to install the hold-down components (F) for a second greensmower in the rear of the trailer. Retain these components for later use.
MX42814
2. Position an axle catch assembly (G) on the trailer bed as shown and install two 5/16 x 1 in. cap screws and washers through the bracket and trailer bed.
MX42815
Picture Note: Trailer shown on end for clarity.
3. On the trailer bottom, position an axle catch plate (I) on the 5/16 x 1 in. cap screws, and install two washers and locknuts (J).
4. Center the catch assembly cap screws in the bracket slotted holes, and tighten securely. Repeat to assemble a second axle catch assembly (H) to the trailer bed.
5. Repeat the previous steps to install the rear axle catch assemblies if required.
MX16893
6. Assemble tube latch (K) to short tube tie-down bracket (L) with two locknuts (M) as shown. Tighten locknuts so tube latch is snug, but not tight. Latch must be free to rotate.
NOTE: Do not tighten kit hardware in the following steps until instructed.
MX42817
7. Position the short tube tie-down bracket assembly (N) to the inside front left side of the trailer. Install two 5/16 x 5/8 in. bolts with washers (O) through the slotted bracket holes and the top holes in the bed sidewall. Install two washers and 5/16 in. locknuts (Do not tighten).
MX42818
8. Position the long tube tie-down bracket (P) to the inside front right side of the trailer. Install two 5/16 x 5/8 in. bolts with washers (Q) through the slotted bracket holes and the top holes in the bed sidewall. Install two washers and 5/16 in. locknuts (Do not tighten).
9. Repeat the previous steps to install the rear set of tie-down brackets if required.
c CAUTION: Avoid injury! Do not attempt to load or unload greensmower trailer unless it is secured to machine.
|
10. Hitch greensmower trailer to machine. Lower tailgate and load greensmower on trailer as follows.
a. Drive greensmower onto trailer slowly.
MX42819
b. When greensmower is approaching the axle catch assemblies (R), press down on the handlebar to raise the cutting unit motor until it clears the axle catches.
c. Continue moving forward. When the axles contact the axle catch assemblies (R), lift the traction unit, then lower the axles into the rear slots of the axle catch brackets (S).
MX42820
11. Insert the tie-down bar over the cutting unit yoke (T) and into the long tube bracket (U) on the right side of the trailer.
MX42821
12. Slide the welded washer (V) end of the tie-down bar into the short tube bracket (W) and rotate the locking latch (X) into place on the inside of the tube washer.
13. Hold the tie-down bar brackets in position and tighten the hardware securely.
14. Repeat the previous steps to assemble the rear set of tie-down brackets if required.
15. The tie-down bars are stored in the tubes (Y) in the front corners of the trailer.
Install Axle Brackets for Model 180C, 220C or 260C WBGM
MX42816
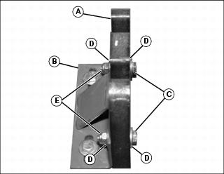
1. Assemble axle catch (A) to axle catch bracket (B) using two 5/16 x 1 in. cap screws (C), four washers (D), and two locknuts (E). Repeat to assemble remaining axle catch assemblies. Tighten securely.
NOTE: If trailer will only be used for one greensmower, it is not necessary to install the hold-down components for a second greensmower in the rear of the trailer. Retain these components for later use.
Install axle catch in position (F) for 18 in. greensmower, (G) for 22 in. greensmower, or (H) for 26 in. greensmower.
Do not tighten kit hardware in the following steps until instructed.
MX42975
2. Position an axle catch assembly (I) on the front left side of trailer bed in the required location and install two 5/16 x 1 in. cap screws (J) and washers through the bracket and trailer bed.
MX42815
Picture Note: Trailer shown on end for clarity.
3. On the trailer bottom, position an axle catch plate (K) on the 5/16 x 1 in. cap screws, and install two washers and locknuts (L). Do not tighten.
4. Repeat to assemble a second axle catch assembly on the right side of the trailer bed.
MX42976
5. Install long tube tie-down bracket (M) to inner front right side of greensmower trailer using two 5/16 x 5/8 in. cap screws, four washers and two locknuts (N). Do not tighten.
MX16893
6. Assemble tube latch (O) to short tube tie-down bracket (P) with two locknuts (Q) as shown. Tighten locknuts so tube latch is snug, but not tight. Latch must be free to rotate.
MX42977
7. Install short tube tie-down bracket (R) to inner left side of greensmower trailer using two 5/16 x 5/8 in. cap screws, four washers and two locknuts (S). Do not tighten.
8. Repeat the previous steps to install the rear set of tie-down brackets if required.
c CAUTION: Avoid injury! Do not attempt to load or unload greensmower trailer unless it is secured to machine.
|
9. Hitch greensmower trailer to machine and lower tailgate.
MX42978
10. Drive greensmower onto trailer slowly. When the axles contact the axle catch assemblies, lift the traction unit, then lower the axles into the rear slots of the axle catch brackets (T).
NOTE: Install straight end of tie-down bar into long tube tie-down bracket on right side of trailer first.
MX42979
11. Install tie-down bar and lock in place using tube latch (U).
NOTE: Adjust tie-down tube bracket positions on trailer side walls if required so tie-down bar securely holds grasscatcher brackets (V) firmly in place.
12. Position greensmower, axle catch brackets and tie-down tube brackets to allow the tie-down bar to seat solidly at the base of the greensmower grasscatcher brackets.
13. Keep slight downward pressure on the tie-down components and tighten all hardware securely.
14. Repeat the previous steps to assemble the rear set of tie-down brackets if required.
MX42821
15. The tie-down bars are stored in the tubes (W) in the front corners of the trailer.
|