Verify Material Divider Position

N98569-UN-24MAY12

N101310-UN-18DEC12

N98566-UN-21MAY12

N98567-UN-24MAY12
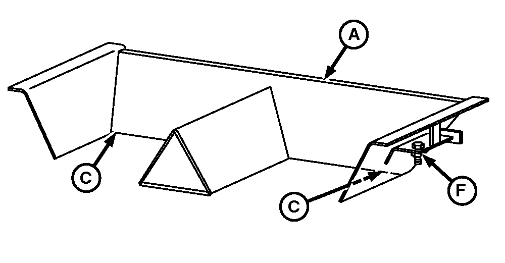
A - Material Divider
B - Material Deflector
C - Material Divider Drop Off
D - Material Divider “V”
E - Spinner Hub Cap Screws
F - Hardware
G - Measurement—31cm (12-1/4 in.)
Verify material divider (A) is properly aligned with fan
frame and spinners.
-
Material divider needs to be placed at specified measurement
(G) back from the deflector plate. Measure from fan frame deflector
plate (B) to material divider drop off points (C). Loosen hardware
(F) and adjust as necessary.
-
Assure that the unit is square within the sills. Measure diagonally
from material divider “V” (D) to the center of the spinner
hub cap screws (E). Loosen hardware (F) and adjust as necessary.
|
|
CS12167,00002A8-19-20130509
|
|