-
CAUTION: Stay out of the spreader. If it’s necessary to
enter the spreader, return to the shop, empty body, turn off all power,
set vehicle brakes, lock engine starting switch and remove keys before
entering. Tag all controls to prohibit operation. Tags should be placed,
and later removed, only by person working in the body.
Use only lifting devices that meet or exceed OSHA standard 1910.184.
Never exceed work load limits or lift equipment over people. Empty
spreader before lifting. Loads may shift or fall if improperly supported,
causing injury.
Verify second product bin is completely empty of material before
beginning removal procedure.
-

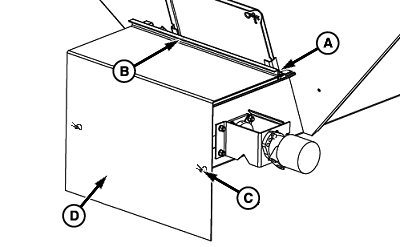
N98714-UN-31MAY12
A - Hardware, 3/8 x 1 in. Cap Screw, Washer and Nut
(6 used)
B - Hold-down
C - Spring Pin (2 used)
D - Cover
Remove hardware (A), hold-down (B), spring pins (C) and cover
(D).
-

N103533-UN-26APR13
A - Hardware
B - Second Product Bin Hillside Divider
Remove and retain hardware (A) from both sides and second
product bin hillside divider (B). Retain hillside divider hardware
in original holes for future use.
-

N98625-UN-30MAY12
A - Rate Controller
B - Connector
Disconnect rate controller (A) at connector (B).
-

N101305-UN-26APR13
A - Female Connector from Spreader
B - Female Connector from Motor
Disconnect second product bin conveyor drive hoses at (A)
and (B).
-
Connect hose from motor to male end on motor and hose from spreader
to male end on spreader.
-

N98717-UN-30JAN14
A - Bin 2 Connector
B - Bin 1 Connector
C - Hardware
D - Lubrication Lines
Disconnect bin level sensors (A and B).
-
Remove and retain hardware (C) and bin level sensor.
-
Disconnect lubrication lines (D) from grease bank.
-

N97126-UN-27FEB12
A - 4 Point Lifting Device
Remove and retain second product bin mounting hardware.
-
Fasten four point lifting device (A) to lift hooks in second
product bin.
-
NOTE: Second product bin weighs approximately 431 kg (950 lb.).
Hoist empty second product bin from spreader as shown.
-

N98718-UN-31MAY12
A - Hardware, Previously Removed
B - Removable Endgate
C - Endgate Hardware
D - Bin Sensor Connection
Using previously removed hardware (A) install bin level sensor
in removable endgate (B).
-
NOTE: Removable endgate weighs approximately 158 kg (350 lb.),
use appropriately rated lifting equipment.
Using proper lifting device position endgate in spreader and
retain using hardware (C).
-
Connect bin level sensor to harness connection labeled bin 1.
-

N101386-UN-03JAN13

N101387-UN-03JAN13
A - Jack Rod
B - Spring Pin
C - Grease Lines
D - Bracket
Install jack rod (A) and spring pin (B).
-
Retain grease lines (C) to bracket (D).
-

N98719-UN-31MAY12
A - Hillside Divider
B - Hardware
C - Feedgate
D - Material Divider
Install hillside divider (A) using hardware (B).
-
Adjust hillside divider so that the middle divider is centered
with feedgate (C) and material divider (D). Loosen hardware and adjust
if necessary.