
N109666-UN-30JAN14
High Yield Position Shown—Lime
(R4045 Only)

N97429-UN-13MAR12
Standard Yield Shown (Fertilizer)

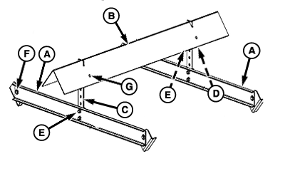
N97121-UN-24MAY12
A - Hanger—V Weldment
B - Inverted V—7 ft.
C - Bar—Adjusting
D - Bracket—V (2 used)
E - Cap Screw, Washer and Nut, 5/8 x 1-3/4 in. (4 used)
F - Cap Screw, Washer and Nut, 1/2 x 1-1/4 in. (4 used)
G - Cap Screw, Washer and Nut, 5/16 x 1 in. (4 used)
H - Bracket (4 used)
I - Cap Screw, Washer and Nut, 1/2 x 1-1/4 in. (8 used)
Assemble inverted V to desired configuration using parts
(A—G).