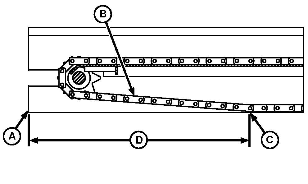
Verify Correct Chain Tension—Belt Over Chain Conveyor
Only

N97839-UN-27APR12
A - Rear Sill Edge
B - Conveyor Chain
C - Contact Point
D - Dimension
Measure from rear of sill (A) to where conveyor chain (B)
contacts with bottom of sill (C).
Verify that measurements on both sides of conveyor are equal
and within specified range.
| Item | Measurement | Specification |
|
Conveyor Chain Tension Dimension | Distance | 91-102 cm (36-40 in.) |
Adjust at front idler pulley if necessary.
|
|
CS12167,0000572-19-20140321
|
|