Determine Material Bulk Density

  1. NOTE: A small variance in density can drastically effect spread rate. Use density scale every load to ensure proper amount is applied.

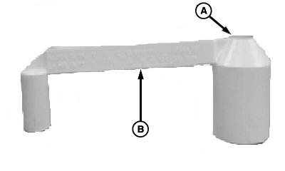
    In order to maintain consistency load the cup the same way every time.

    N98675
    N98675-UN-23MAY12

    A - Cup

    B - Density Scale

    Fill cup (A) a with material to be spread.



  2. Position scale (B) on finger so it is balanced.

  3. Enter reading from balance point into Spreadstar™ system. (See Spreader Product Setup in Spreadstar™ section of this manual.)


Spreadstar is a trademark of Deere & Company

OUO6092,00009B8-19-20150519