Spread Pattern Test Procedure

N107964-UN-31OCT13
Spread Pattern Testing
-

N98681-UN-30MAY12
Figure A—Test Course Setup
A - Collection Tray
Select testing course (Figure A), measuring 37 m x 122 m
(120 ft. x 400 ft.), should have a slope of less than two degrees.
NOTE: All testing should be done when the wind velocity is less
than 8.05 km (5 mph). If wind is present, testing must be done with
spreader traveling parallel (within ± 15 degrees) to the wind
direction.
-

N98679-UN-24MAY12
A - Plastic Grid
B - Collection Tray
C - Rope
D - Placement Indicator
Insert a plastic grid (A) into each of the 21 collection
trays (B).
-
Position the 21 collection trays on six-foot 182.88 cm (6 ft.)
centers with the longest dimension of the tray parallel to the direction
of travel. Using provided rope (C) with indicator marks (D).
-
NOTE: Do not allow loaded spreader to sit for more than four
hours prior to testing.
Position spreader at the beginning of the course so that vehicle
will straddle center collection tray. Set gate opening based on desired
rate/acre according to theoretical application charts supplied with
each unit.
-
NOTE: Prior to driving the spreader through the test course,
it should be driven at least 137 m (450 ft.) at spreader test speeds. Each test must be repeated driving the same direction (not back
and forth).
Drive spreader completely through course at normal operating
speeds.
-

N97289-UN-05MAR12
Figure B—Spread Chart
Example
Using the data sheets supplied with the kit, document all
spreader adjustments required.
-

N98687-UN-01JUN12

N98680-UN-23MAY12
A - Funnel
B - Collection Tray
C - Test Tubes
Using the funnel (A), transfer the contents of each collection
tray (B) into its corresponding test tube (C) beginning at one end
of the trays and working towards the opposite end.
-
Record the volume in each test tube in the box on the data sheet
under the corresponding tray position. (Figure B).
NOTE: It is highly recommended that ONLY ONE ADJUSTMENT be made
between test samples taken. If more than one adjustment is made, it
will be difficult to determine which adjustment was responsible for
the change in pattern shape.
DETERMINE DRIVING CENTERS
Once you attain a desirable pattern (Figure E), optimum-driving
centers can be determined. To determine optimum driving centers (effective
spead width), locate the points on both the left and right side of
the pattern where the amount of material applied is half the amount
at the center of the pattern. The distance between these two points
represents the driving centers to be used (effective spread width).
When blended fertilizers are being applied, a visual inspection
of the samples should be made to determine whether the blend within
the effective spread width is consistent with the desired blend. If
the blend is not consistent, a narrower overall spread width should
be used and a new optimum driving center (effective spread width)
should be determined.
Once the effective spread width has been established, change
spread width in Spreadstar to match actual spread width.
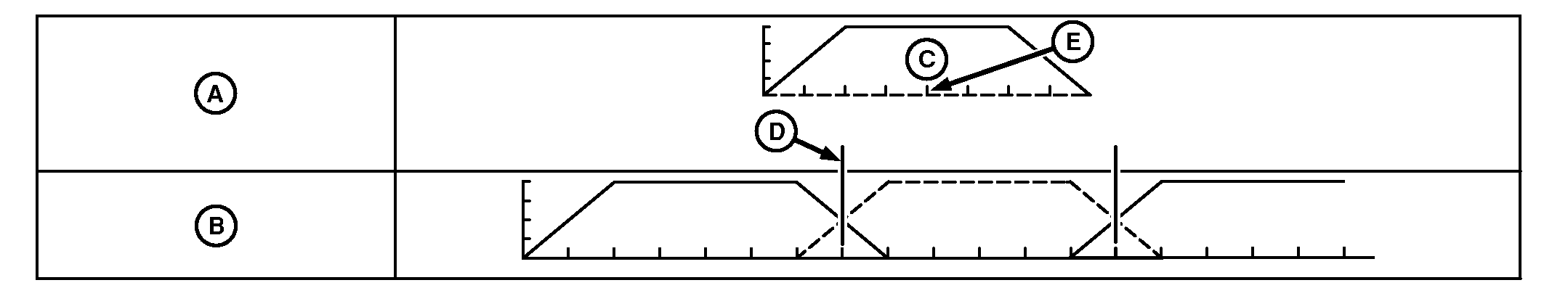
DRIVING METHODS
The perimeter (Figure C) and switch back (Figure D) driving
methods are both acceptable.
NOTE: Utilizing the switch back method amplifies non-symmetrical
patterns by blending right side on right and left side on left. The
perimeter method compensates for nonsymmetrical patterns by blending
the right side of the pattern with the left side of the adjacent pattern
or vice versa.

N97292-UN-30MAY12
Figure E—Ideal Method
A - Flat Top Pattern
B - Ideal Pattern Overlap
C - Flat Top
D - Spread Width
E - Center of Pattern

N97290-UN-05MAR12

N97291-UN-05MAR12
|
Spreadstar is a trademark of Deere & Company
|
OUO6092,00009BA-19-20150519
|
|