Hose Installation Guide

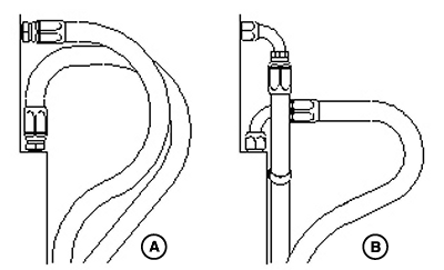
N97036-UN-27FEB12
A - Wrong
B - Right
Use elbows and adapters in the installation to relieve strain
on the assembly, and to provide easier and neater installations that
are accessible for inspection and maintenance. Remember that metal
end fittings cannot be considered as part of the flexible portion
of the assembly.

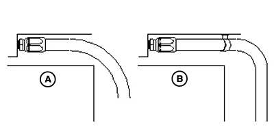
N97037-UN-27FEB12
A - Wrong
B - Right
Install hose runs to avoid rubbing or abrasion. Clamps are often
needed to support long runs of hose or to keep hose away from moving
parts. It is important that the clamps be of the correct size. A clamp
that is too large will allow the hose to move in the clamp causing
abrasion at this point.

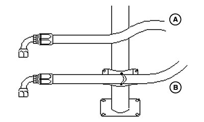
N97038-UN-27FEB12
A - Wrong
B - Right
In straight hose installations allow enough slack in the hose
line to provide for changes in length that will occur when pressure
is applied. This change in length can be from +2% to -4%.

N97039-UN-27FEB12
A - Wrong
B - Right
Do not twist hose during installation. This can be determined
by the printed layline on the hose. Pressure applied to a twisted
hose can cause hose failure or loosening of the connections.

N97040-UN-27FEB12
A - Wrong
B - Right
Keep hose away from hot parts. High ambient temperature will
shorten hose life. If you cannot route it away from the heat source,
insulate it.

N97041-UN-27FEB12
A - Wrong
B - Right
Keep the bend radius of the hose as large as possible to avoid
hose collapsing and restriction of flow. Follow catalog specs on minimum
bend radius.
|
|
OUO6435,0000696-19-20120307
|
|