Install Dual Conveyor Cover
-

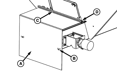
N97223-UN-13APR12
A - Cover
B - Spring Pin (2 used)
C - Hold-down
D - Hardware, 3/8 x 1 in. Cap Screw, Washer and Nut
(6 used)
Place cover (A) on second product bin sills as shown and
insert spring pins (B) through cover pins.
-
Position hold-down (C) over cover and attach with hardware (D).
|
|
OUO6435,000069D-19-20120604
|
|