Install Roll Tarp
Install End Caps
-
IMPORTANT: The DN456 or DN485 box needs to be installed on the
chassis before installing tarp. Installed tarp will not allow access
to lift hooks to hoist the box. Supplied kits contain
stainless steel hardware, replacement parts used should be stainless
steel.

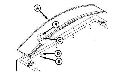
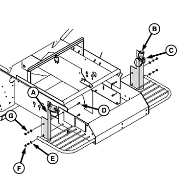
N117480-UN-15APR15
A - Washer
B - Cap Screw
C - Bracket
D - Nut
E - Lock Washer
Align holes in bracket (C) to holes in top rail. Secure using
supplied nut (D), cap screw (B), washer (A), and lock washer (E).
-
Repeat procedure to install remaining brackets.
-
NOTE: Front-end cap shown, back-end cap is similar.

N117481-UN-15APR15
A - End Cap
B - Cap Screws (5 used)
C - Washers (5 used)
D - Lock Washers (5 used)
E - Nuts (5 used)
Attach end cap (A) with supplied cap screws (B), nuts (E),
lock washers (D), washers (C).
-
Repeat procedure for opposite endcap.
-

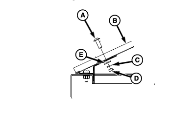
N117482-UN-15APR15
A - Button Head Cap Screw
B - End Cap
C - Lock Washer
D - Nut
E - Washer
Align bracket holes with end cap holes. Secure with supplied
button head cap screws (A), nuts (D), lock washers (C), and washers
(E).
-
Repeat procedure for remaining brackets.
-

N117479-UN-15APR15
A - End Cap
B - Lifting Point
Push up on end cap (A), at point (B), while fastening to
bracket to ensure that end cap is level with spreader box.
Install Bows
-

N117309-UN-13APR15
A - Bow
B - Cap Screw
C - Washer
D - Nut
Attach supplied nuts (D), cap screws (B), washers (C), and
bows (A) to top of spreader box. Repeat on opposite side.
-
Repeat procedure for each bow.
-
IMPORTANT: Ensure that ridge strap buckle is facing down to
prevent damage to tarp.

N117310-UN-13APR15
A - Buckle
B - Ridge Strap
Attach ridge strap buckle (A) and ridge strap (B).
Install Tarp Stops and Roll Tarp
-

N117801-UN-06MAY15
A - Nut
B - Lock Washer
C - Washer
D - Cap Screw
E - Tarp Stop
Install tarp stop (E) to spreader box using with supplied
nut (A), cap screw (D), lock washer (B), and washer (C).
-
Repeat procedure for each tarp stop.
-

N117316-UN-15APR15

N117317-UN-15APR15
A - Distance
B - Distance
C - End Caps (2 used)
D - Roll Tarp
E - Fixed Tube
F - Tarp Stop (3 used)
Ensure distances (A and B) on end caps (C) are equal.
-
Center roll tarp (D) on spreader with fixed tube (E) on tarp
stops (F) side of spreader.
-
Unroll tarp so fixed tube rests squarely in tarp stop.
-
NOTE: Ensure that tarp stop spring pins are installed towards
the rear of spreader.

N117318-UN-15APR15
A - Cotter Pin
B - Pin
Insert cotter pin (A) and pin (B) into tarp stop locking
fixed tube into tarp stop.
-
Repeat procedure for each tarp stop.
-
Ensure that tarp is square with spreader body. Unlock tarp stops
and adjust if necessary.
-

N117483-UN-15APR15
A - Middle Tarp Stop
B - Fixed Tube
C - Plastic Washer (2 used)
D - Cap Screw (2 used)
Hold plastic washers (C) along side middle tarp stop (A).
-
Using washers for guides drill two 3/16 in. holes through tarp
and into fixed tube (B).
-
Install plastic washers and cap screws (D).
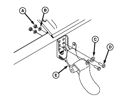
Install Cables and Ratchets
-

N117485-UN-15APR15
A - Ratchet
B - Lock Washer (2 used)
C - Nut (2 used)
D - Washer (2 used)
E - Cap Screw (2 used)
Install ratchet (A), caps screws (E), washers (D), lock washer
(B), and nuts (C). Do not tighten hardware now.
-

N117486-UN-15APR15
A - Spool (2 used)
B - Channel (2 used)
C - Stop Sleeve (2 used)
Unroll tarp to closed position.
-
Install stop sleeve end of cables (C) into channels (B) on spools
(A).
-
Pull cables forward and lock into channel.
-

N117487-UN-15APR15
A - Slot (2 used)
B - Ball End (2 used)
Wrap cables into grooves on spools, in clockwise direction,
until cables reach slot (A).
-
Install ball ends (B) of cables into ratchets.
-

N117489-UN-15APR15
A - Direction
Adjust ratchets so ball ends of cables move 6.35 mm (.25
in.) in an outward direction (A) from plumb position.
-
Tighten ratchet hardware.
-

N117488-UN-15APR15
A - Channel (2 used)
B - Ratchet (2 used)
Tighten ratchets (B) to remove slack from cable and apply
tension on roll tarp. Note position of channels (A) on front and rear
spools as initial tension is reached.
-
Tighten ratchets so channels rotate 90 degrees from original
position.
-
NOTE: Ratchets must be in locked position to hold tension. Do
not release ratchets to operate system.
Open and close tarp five or six times to allow cables to seat
in spool grooves and tarp to pull tight.
-
Check position of channels and retighten ratchet to rotate channels
90 degrees from their initial position.
Install Telescoping Crank
-

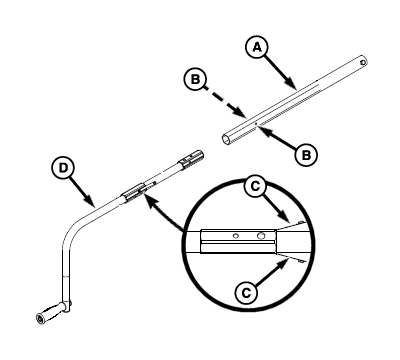
N117516-UN-16APR15
A - Cartridge Tube
B - Nut
C - Flex Arm Joint
D - Spacer
E - Cap Screw
F - Roll Tube
Attach spacer (D) onto cartridge tube (A) on rear, red end,
of roll tube (F).
-
Attach flex arm joint (C) into cartridge tube. Secure with supplied
cap screw (E) and nut (B).
Install Telescoping Crank Retainer Bracket
-

N117517-UN-16APR15
A - Telescoping Crank Retainer Bracket
B - Cap Screw
C - Telescoping Crank Retainer
D - Cap Screw (2 used)
E - Washer (2 used)
F - Nut (2 used)
G - Lock Washer (2 used)
Install telescoping crank retainer bracket (A) with supplied
nuts (F), caps screws (D), washers (E), and lock washers (G).
-
Attach telescoping crank retainers (C) using supplied cap screws
(B).
-
Repeat procedure for opposite retainer bracket.
-

N117518-UN-17APR15
A - Hex Tube
B - Handle
To change angle of handle (B) while crank is in retainer,
slide handle into hex tube (A) until it stops. Rotate handle to desired
angle, pull handle out to desired length.
Install Telescoping Crank Arm
-

N117519-UN-17APR15
A - Button (2 used)
B - Hex Tube
C - Crank Arm
Secure hex tube (B) in vise.
-
Hold in buttons (A) and pull crank arm (C) out of hex tube.
-

N117520-UN-17APR15
A - Spring Pin
B - Bearing
C - Bearing
D - Crank Handle
Remove and retain spring pin (A) and bearings (B and C) from
crank arm (D).
-

N117520-UN-17APR15

N117521-UN-17APR15
A - Spring Pin
B - Bearing
C - Bearing
D - Crank Handle
E - Holes (as required)
Install bearing (C) onto crank handle (D).
-
Install bearing (B).
-
Ensure holes (E) are aligned as shown.
-
Install spring pin (A).
-

N117551-UN-20APR15
A - Hex Tube
B - Holes (2 used)
C - Spring Clips (2 used)
D - Crank Handle
Install crank handle (D) into hex tube (A), aligning grooves
in bearings with holes in hex tube.
-
Hold spring clips (C) as shown.
-
Install bearing with spring clips into hex tube until spring
clips snap into holes (B) in hex tube.
|
|
TB90758,0001A43-19-20150511
|
|