Inspect Boots and Disk Openers

N47469-UN-12APR96
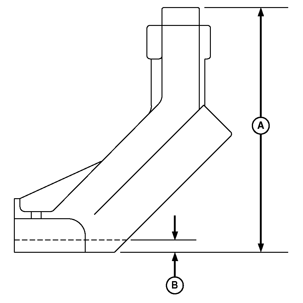
A - Overall Height
B - Bottom Edge
Poor opener penetration may be a result of worn disk openers.
Uneven seed depth may be a result of worn boots.
Measure boot and replace if bottom edge (B) is worn 12.7 mm
(0.5 in) or more or if overall height (A) is 287 mm (11.3 in) or less.
Repositioning seed boot may extend service life. Refer to Adjust
Seed Boots in Preparing Machine section.
Diameter of new disk opener is 457 mm (18 in). Replace disk
opener when uneven seeding depth due to poor penetration occurs or
if disk opener diameter is less than specification.
| Item | Measurement | Specification |
|
Disk Opener | Diameter | 406 mm (16 in) |
See Replace Disk Openers and Bearings in this section
for disk replacement.
|
|
AG,OUO1074,564-19-20160302
|
|