Adjust the Track Markers

ZX008688-UN-05FEB97
Track Marker Adjustments

ZX011340-UN-02JUN97
3 m and 4 m Machines

A63850-UN-24NOV08
6 m Machines
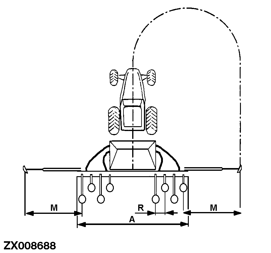
A - Working Width
B - Marker Arm
C - Marker Disk
M - Track Marker
R - Row Width
The working width of the drill and by the row width determine
the length of the track marker. Calculate marker length as follows:
Length of track marker (M) is equal to working width (A) plus
row width (R), the sum then divided by 2.
Example:
-
750A 4 m (13 ft.) machine with 24 openers
-
Working width (A) = 400 cm (13 ft.)
-
Row width (R) = 16.7 cm (6.57 in.)
Length (M) of track markers:
(400 + 16.7) ÷ 2 = 208.3 cm (82 in.)
750A 3 m and 4 m: Loosen and slide
the marker arm (B) to the calculated length. Tighten arm.
750A 6 m: Place disk (C) in one of
two positions based on row width.
Seed a short distance. Measure from the outer seed furrow to
the mark left by marker disk (C). If different from calculation, adjust
marker as needed.
Adjust incline of marker disk (C) for optimum mark. Incline
varies per tillage style and soil type.
|
|
AG,OUZXMAG,69-19-20081125
|
|