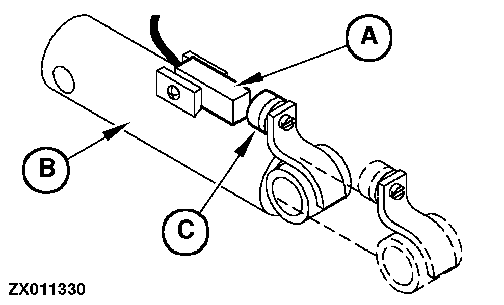
Adjusting Land Wheel Reed Switch

ZX011330-UN-02JUN97
A - Reed Switch
B - Cylinder
C - Magnet
For control of the electronic tramlining system every raising
of the land wheel is registered by a reed switch (A) located above
the cylinder (B).
NOTE: On 4 m and 6 m machines, the reed switch (B) is located
on the land wheel cylinder whereas it is located on the left-hand
opener cylinder on 3 m machine.
Adjust distance between reed switch (A) and magnet (C) to specification.
| Item | Measurement | Specification |
|
Distance Between Reed Switch and Magnet | Maximum Distance | 1.5 mm (0.06 in.) |
|
|
AG,OUZXMAG,71-19-19991006
|
|