Odd- and Even-Numbered Tramline Rhythms

ZX008695-UN-10FEB97
Even-numbered rhythm

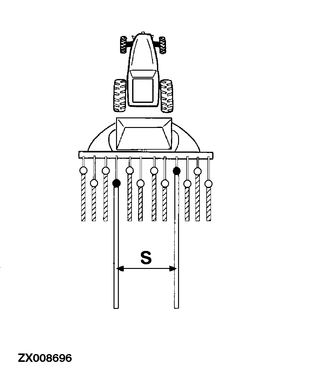
ZX008696-UN-05DEC96
Odd-numbered rhythm
The rhythm may be based on an odd or even number, or on a number
plus remainder. Each different rhythm necessitates a different tramlining
procedure.
Tramlining rhythms based on an even number necessitate travel
in two directions (outward and return). Rhythms requiring travel in
only one direction are however more accurate than those requiring
travel in two directions.
A recommended solution is the use of even-numbered symmetrical
“S” rhythms (e.g. 4S, 6S etc.) which can be used to produce
tramlines in just one direction of travel. In this case you must commence
by sowing with just half of the working width of the drill or you
must shut off the corresponding partial width of the crop sprayer
or fertilizer spreader. Then proceed as though you were working with
an odd-numbered rhythm.
Tramlining with an odd-numbered rhythm (e.g. 3, 5, 7 etc.) necessitates
travel in only one direction.
Rhythms 2, 10, 12 and any rhythm with a remainder may be produced
only with the aid of the Signus/GreenStar seed-drill control. See
Signus Seed Drill Monitor System section.
|
GreenStar is a trademark of Deere
& Company
|
NS43404,00000C7-19-20081103
|
|