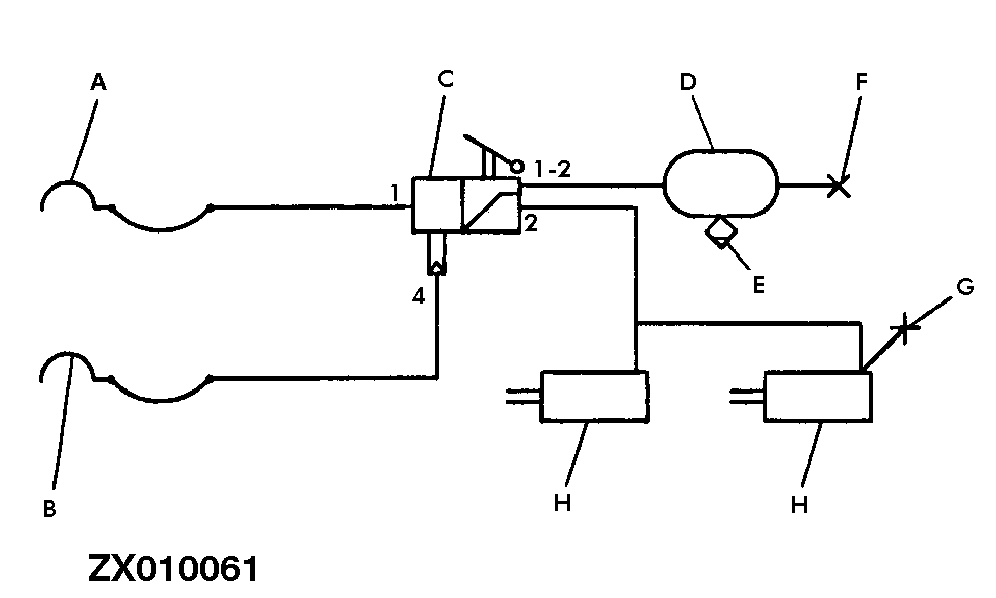
Trailer Air Brake (3, 4, and 6 m Machines)

ZX010061-UN-05DEC96
A - Coupler/Supply Line (Red Cap)
B - Coupler/Brake Line (Yellow Cap)
C - Brake Valve and Brake Force Balancer
D - Air Tank (20 L; 5.27 US Gal)
E - Moisture Drain Valve
F - Test Port
G - Test Port
H - Diaphragm-Type Brake Cylinders (2 Used)
The brake system is a dual-line, single-circuit air brake system
designed for trailers.
When connecting the compressed air hoses to the tractor, first
connect the brake hose (yellow coupler) and then the supply hose (red
coupler).
When un-coupling, disconnect the red coupler first, and then
the yellow one.
|
Operating position:..............
|
Compressed air from tractor is routed via coupling of supply
line to the trailer brake valve. The air flows via ports (1) and (1
- 2) of trailer brake valve to the air tank.
|
|
Braking position:..............
|
When operating the tractor brake valve, air is metered to trailer
brake line and trailer brake control valve (port 4). This causes trailer
brake control valve to reverse flow and compressed air now flows via
port 2 to brake cylinders.
|
|
Release position:..............
|
As trailer brake line is vented, trailer brake control valve
reverses flow and vents trailer brakes.
|
|
Function if trailer breaks..............
away or is detached:
|
By venting the trailer supply line, trailer brake control valve
reverses flow and trailer is braked automatically.
|
|
Function of brake..............
release valve:
|
To move the trailer manually after it has been detached, operate
the release valve attached to the trailer. This will cause trailer
brake control valve to reverse flow and to vent brake cylinders. If
trailer is re-attached, operating button of release valve will be
unlocked and release valve will automatically return to neutral position.
Trailer can now be braked again.
|
|
Parking brake:..............
|
The parking brake is actuated mechanically.
|
|
|
NS43404,00000E2-19-20081027
|
|