For All Tractors

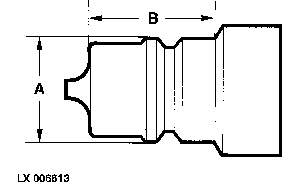
LX006613-UN-15AUG94
A - Dimension
B - Dimension
IMPORTANT: Drills are manufactured to be used with tractors
equipped with closed-center hydraulic systems. Special
bundles are available as attachments to convert machine for use on
a tractor with open-center hydraulic system or to easily switch between
each hydraulic system. See Attachments section.
Hose unions must comply with ISO standards.
| Item | Measurement | Specification |
|
Hose Union | Dimension (A) | 23.7 mm ±0.04 mm (0.933 in. ±0.002 in.) |
|
Hose Union | Dimension (B) Minimum | 24 mm (0.945 in.) |
Refer to your tractor operator's manual for recommended tire
inflation, use of hydraulic system and other information on tractor
implement usage.
Check tire pressure and install ballast, if required. See your
tractor operator's manual.
Check tractor hydraulic oil reservoir and add oil, if needed.
|
|
ZX,OM740A008459-19-20050907
|
|