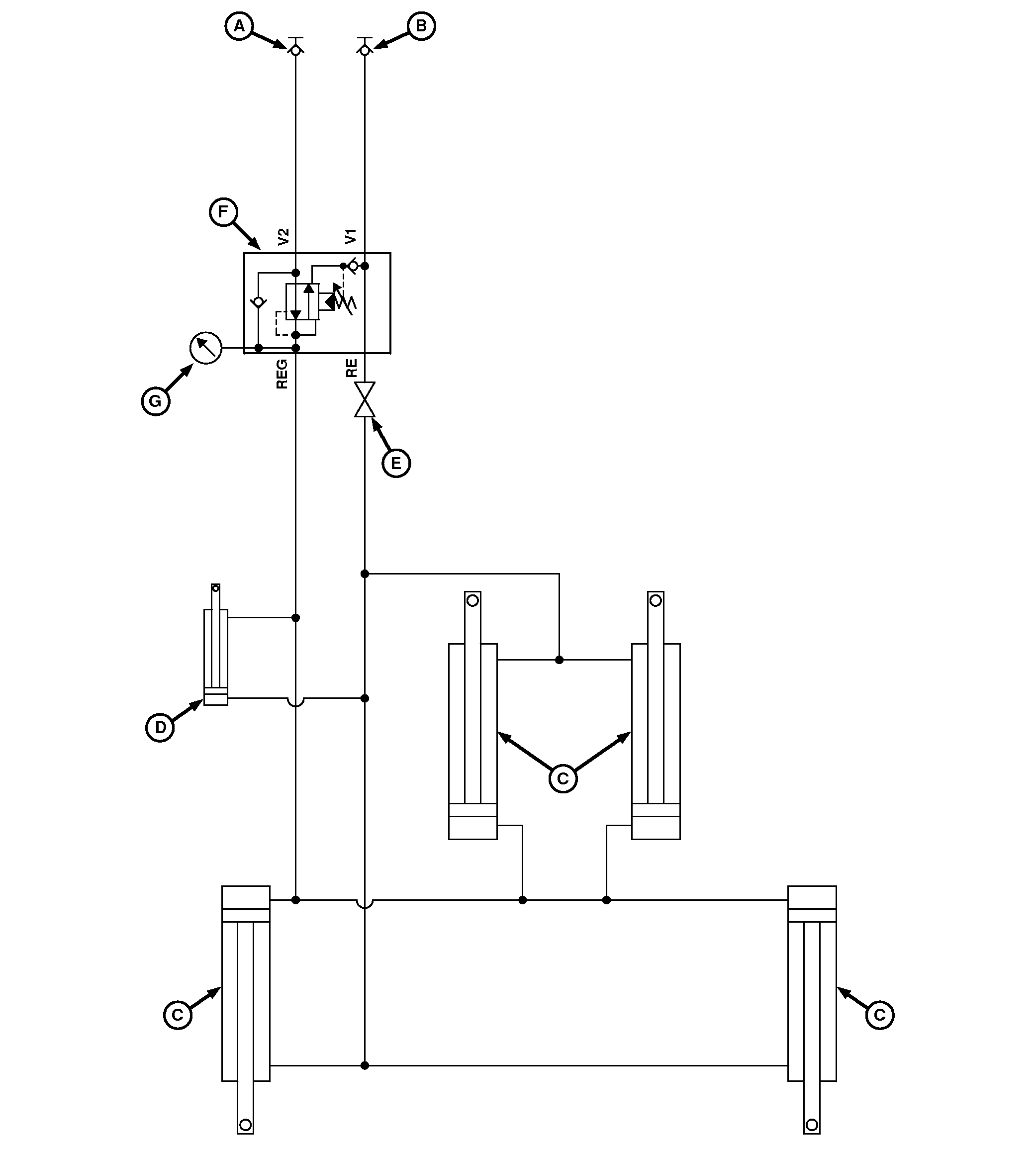
Opener Control Hydraulic Diagram (Tractor with Closed-Center
Hydraulic System)

A90467-UN-18MAY16
A - SCV Coupler (Lowering Openers)
B - SCV Coupler (Raising Openers)
C - Opener Cylinders (2 used on 3 m version, 4 used
on 4 and 6 m versions)
D - Land Wheel Cylinder
E - Lock-Up Valve
F - Pressure Control Valve
G - Down Pressure Gauge
|
|
ZX,OM750A010740-19-20160511
|
|