Tighten the Drive Chains

A70496-UN-31JAN11
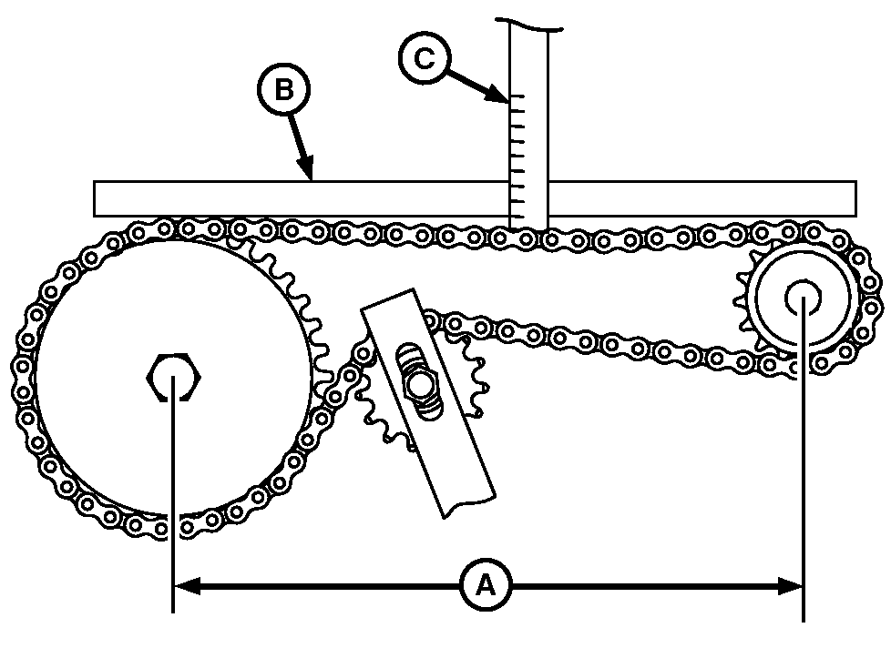
Drive Chain With Tension Idler

A70495-UN-31JAN11
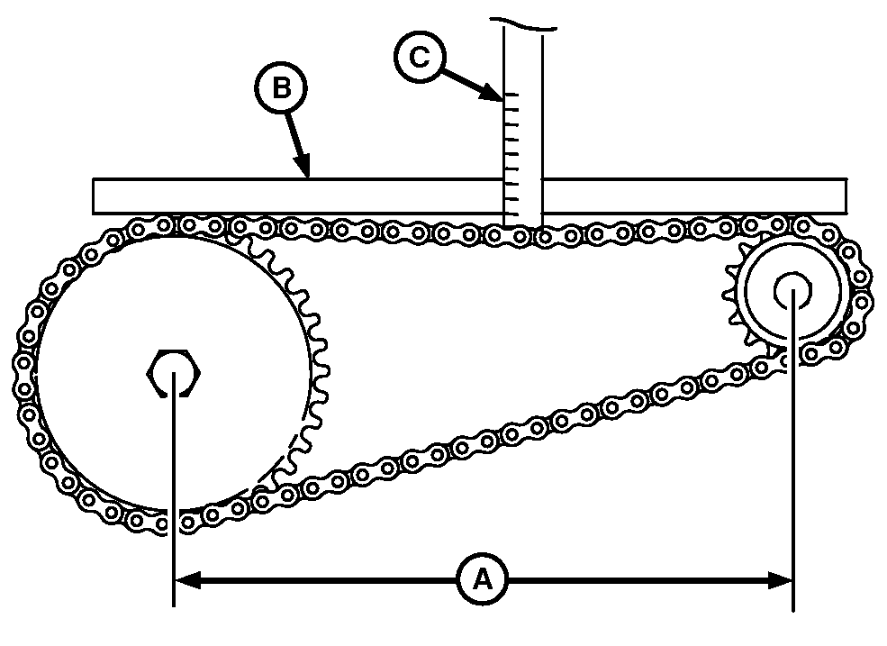
Drive Chain Without Tension Idler
A - Shaft Distance
B - Straight Edge
C - Ruler
To determine chain deflection, perform the following procedures:
-
Rotate the drive to tighten the chain.
-
Place a straight edge (B) over the slack span of the chain.
-
NOTE: Make sure that one side of the chain is taut during measurement.
At the center of the shaft distance (A), use a ruler (C) to
measure the deflection from the top of the chain to the underside
of the straight edge.
-
IMPORTANT: Do not over tighten the chains or rapid chain wear,
shaft, and bearing damage can result.
Adjust the shaft centers or chain tighteners to specification.
| Item | Measurement | Specification |
|
Chain | Deflection | 6.4 mm (1/4 in) of chain deflection per 31 cm (12 in) |
|
|
OUO6064,0000377-19-20160511
|
|