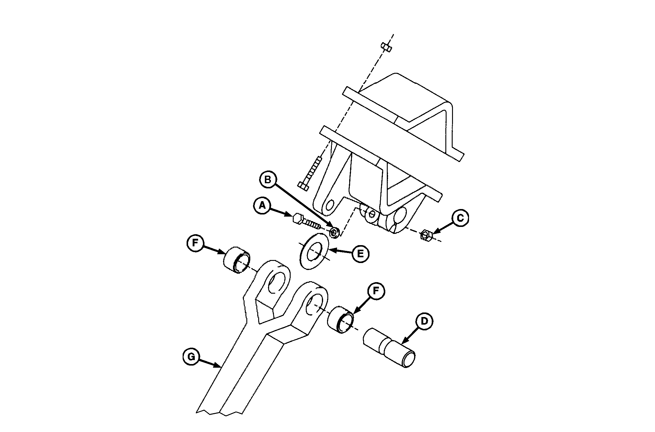
Replace Opener Arm Pivot Bushings
-
Clean dirt from parts before removal.

N49844-UN-23APR98
A - Cap Screw, 5/8 x 3 in
B - Washer
C - Lock Nut
D - Pivot Pin
E - Thrust Washer
F - Arm Pivot Bushings
G - Opener Arm
Remove hardware (A—C) and pivot pin (D) from arm. Retain
thrust washer (E).
-
Drive old bushings from arm.
-
Be careful not to damage outer edges of new bushings
when installing.
Press new bushings into arm bores, flush to 0.76 mm (0.03 in)
below outside surface.
-
Thrust washer must be installed between arm and anchor
castings, on same side of arm as disk.
Position thrust washer on disk side of arm (between arm and
anchor) and attach arm with pivot pin. Be careful not to damage bushings
when installing pin.
-
Install pin retaining hardware and tighten to specification.
| | |
|
Pin Retaining Hardware | Torque | 163 N·m (120 lb·ft) |
|
|
AG,OUO1074,566-19-20160219
|
|