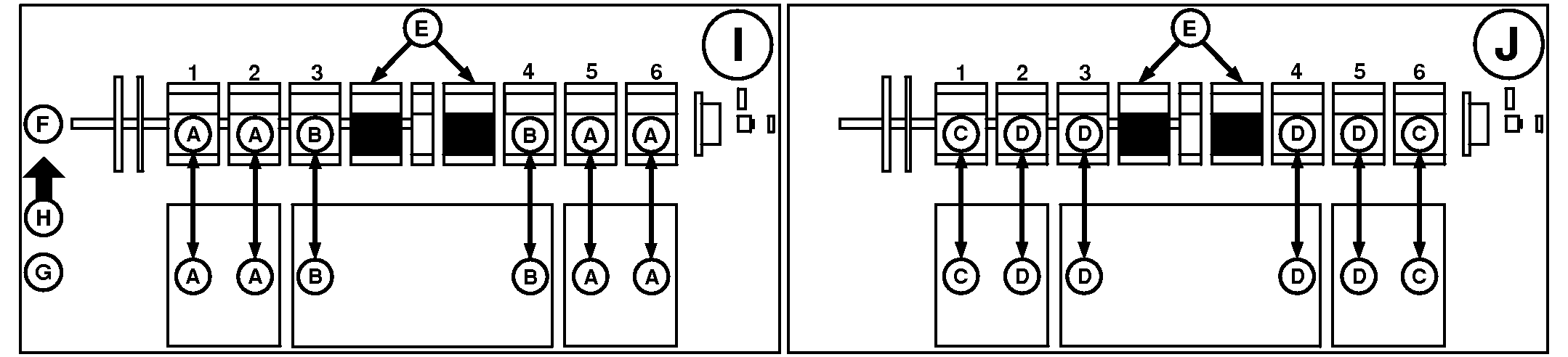
11 m (36 ft) 1890 Meter Cartridge/Seeding Tool Diagram

A67417-UN-20MAY10
A - 7 Port Header/5 Tuning Rings
B - 8 Port Header/4 Tuning Rings
C - 9 Port Header/3 Tuning Rings
D - 10 Port Header/2 Tuning Rings
E - Install Doors
F - Cart Meter Cartridge
G - Seeding Tool
H - Direction of Travel
I - 25 cm (10 in) Row Spacing
J - 19 cm (7.5 in) Row Spacing
|
|
OUO6435,00003C2-19-20170125
|
|