13 m (42 ft 6 in) 1890 Meter Cartridge/Seeding Tool Diagram

A67419-UN-20MAY10
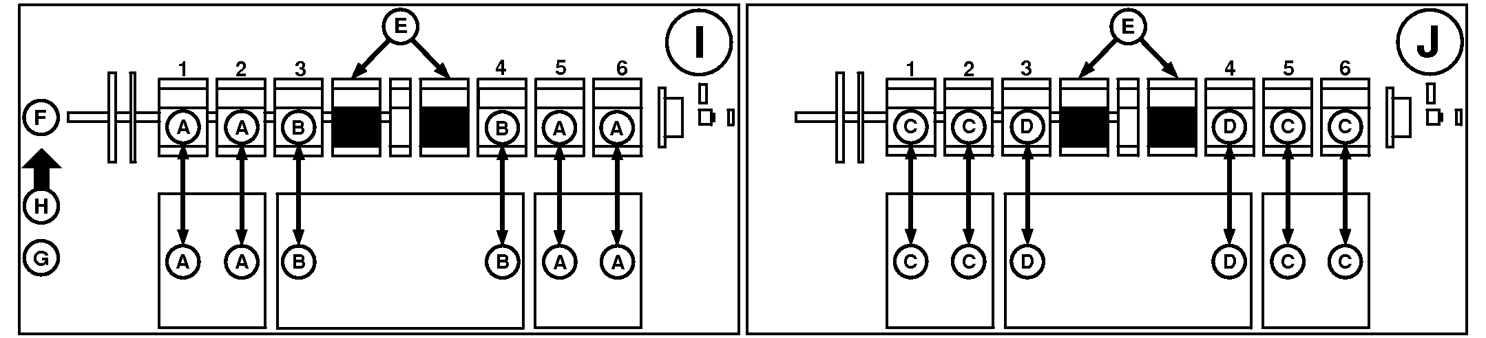
A - 8 Port Header/4 Tuning Rings
B - 9 Port Header/3 Tuning Rings
C - 11 Port Header/1 Tuning Rings
D - 12 Port Header/0 Tuning Rings
E - Install Doors
F - Cart Meter Cartridge
G - Seeding Tool
H - Direction of Travel
I - 25 cm (10 in) Row Spacing
J - 19 cm (7.5 in) Row Spacing
|
|
OUO6435,00003C4-19-20170125
|
|