Attaching Planter to Tractor

1. Position hitch pins (A) for your model tractor.

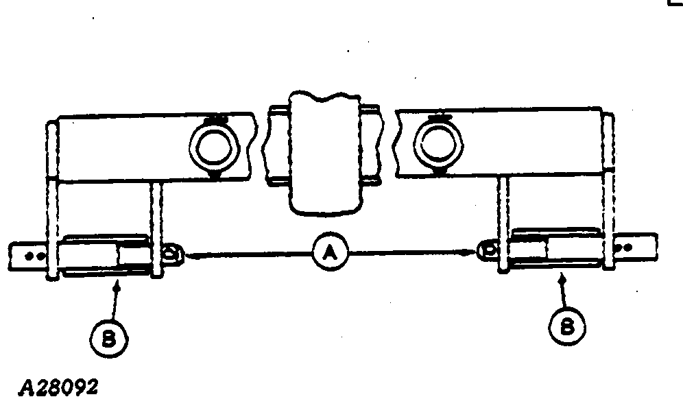
Bushings (B) (A30302) are required when attaching planter to tractors with a category 4/N with quick coupler. For parts, see your John Deere dealer.

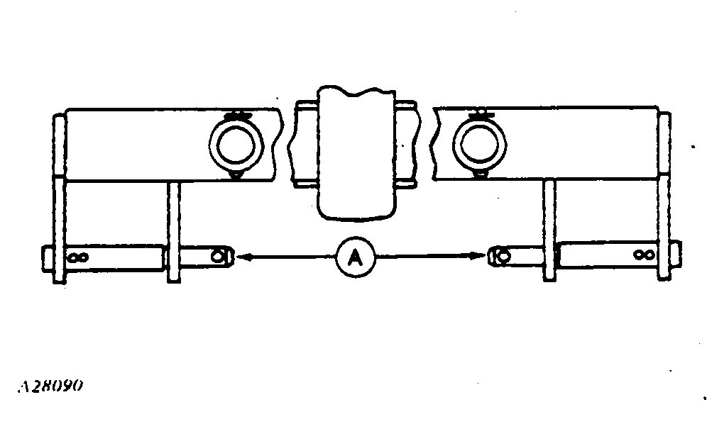
A28090

Hitch Pins (Cat.2 w/Qk-Coupler)

A28091

Hitch Pins (Cat.3A w/Qk-Coupler)

A28092

Hitch Pins/Bushings (Cat. 4N w/Quick-Coupler)

A54950,25,H -19-16MAY95-1/5


causym CAUTION: Do not stand between tractor and the planter unless the tractor transmission is in PARK.

2. Raise both latch control levers.

3. Lower the rockshaft until the quick-coupler hooks are lower than the planter hitch pins and slowly back the tractor up to the planter.

A28093

A54950,25,H -19-16MAY95-2/5


causym CAUTION: When latches are properly locked, handles will be horizontal and against coupler frame.

4. Raise the rockshaft enough to engage the planter hitch pins (A) in the quick-coupler hooks. Push both latch control levers (B) down to lock the planter to the quick-coupler.

H44403

A54950,25,H -19-16MAY95-3/5


5. After attaching planter to tractor, raise 3-point hitch. Remove spring locking pin and drilled pin (A) securing stands to hitch crossbar.

A33652

A54950,25,H -19-16MAY95-4/5


6. Raise and secure stands to hitch crossbar with drilled pin (A) and spring locking pin (B).

H44405

A54950,25,H -19-16MAY95-5/5