Single-Disk Fertilizer Openers

Single-disk fertilizer openers will perform in conventional, reduced, no-till and double crop conditions and are designed specifically for band application of liquid or granular fertilizer. The single blade and gauge wheel configuration minimizes disturbance of the seed zone in these conditions and helps preserve seedbed moisture. The gauge wheel helps in maintaining a consistent fertilizer depth.

A36451

Opener W/Liquid Cast Spout

OM56578,140,A -19-20MAY96-1/5


Operating the opener in soils containing many large rocks is not recommended since the opener's upper movement limit stop is incapable of supporting the planter frame weight as the opener rides up over large rocks.

A35164

Opener W/Dry Fertilizer Spout

A35165

Opener W/Cast Dry Fertilizer Spout

OM56578,140,A -19-20MAY96-2/5


When openers are set in the minimum setting (A), loosen jam nut (B) and adjust bolt (C) so there are no threads showing beyond jam nut. Retighten jam nut.

A39740

OM56578,140,A -19-20MAY96-3/5


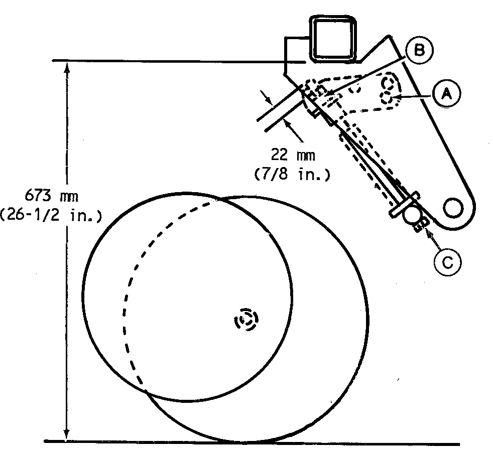
When openers are set in the maximum setting (A), loosen jam nut (B) and adjust bolt (C) so there is 22 mm (7/8 in.) of thread showing beyond jam nut. Retighten jam nut.

A39741

OM56578,140,A -19-20MAY96-4/5


IMPORTANT: Maintain 673 mm (26-1/2 in.) dimension between bottom of planter frame and bottom edge of disk opener.

The recommended placement of fertilizer is 50 to 125 mm (2 to 5 in.) to either side of planting unit double-disk seed opener (A).

To change location of fertilizer opener, loosen opener U-bolt (B), wedge bolts (D), and slide opener to right or left until disk (C) is at desired location.

To attach fertilizer opener to frame tube:

1. Snug U-bolt nuts (E) until the opener is square with and touching the bottom of the fertilizer tube.

2. Tighten wedge nuts (D) to 70 N·m (52 lb-ft).

3. Tighten U-bolt nuts (E) to 175 N·m (129 lb-ft).

4. Install pin at (F) on rows 8 and 9 with head of pin toward outside of machine. Head of pin may contact hitch during force adjustment if head is next to hitch.


A-Opener
B-U-Bolt
C-Disk
D-Wedge Nuts
E-Nuts
F-Pin

A38428
A31864

OM56578,140,A -19-20MAY96-5/5