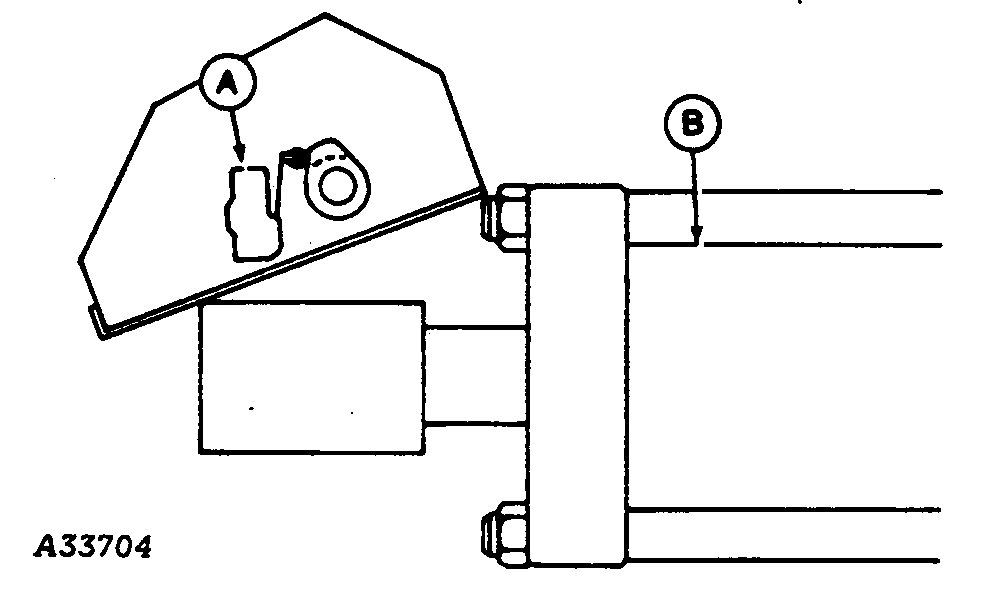
Adjusting "K" Switch

Adjust the cam so the "K" switch clicks when the master cylinder is extended to approximately 2-1/2 in. or halfway. This allows the right and left clutch solenoids to disengage the drives.


A-Switch "K"
B-Right-Hand Master Cylinder

A33704

OMA56578,140S -19-20MAY96-1/1