Planters Equipped With Pivoting Center Mast

IMPORTANT: Damage to planter may occur if planter is improperly adjusted during transport. Follow procedure below before transporting planter.

1. Position tractor and planter on level ground.

7300VFOM,TR,F -19-25JUN92-1/6


2. Raise lift-assist wheels (A) off the ground completely with tractor remote cylinder operating lever.


A-Lift-Assist Wheels

A38227

7300VFOM,TR,F -19-25JUN92-2/6


3. Adjust planter frame height to shown specifications with drive-gauge wheels (A) ( see LEVELING THE PLANTER in "Operating the Planter" section.)

Specification

Planter Frame Height -Height 510-560 mm (20-22 in.)


A-Drive Gauge Wheels

A31117

7300VFOM,TR,F -19-25JUN92-3/6


4. Level planter frame front-to-rear with tractor center link (B).

5. Lower lift-assist wheels to ground.

6. Raise FRONT of planter with tractor rockshaft control lever.

7. Raise REAR of planter with lift-assist wheels.


B-Center Link

A34520

7300VFOM,TR,F -19-25JUN92-4/6


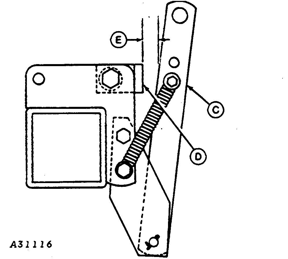
8. Check to see if distance between mast links (C) and stops (D) is at least at shown specifications-see dimension (E).

Specification

Mast Link to Stops -Distance  75 mm (3 in.)


C-Mast Link
D-Stops
E-Dimension

A31116

7300VFOM,TR,F -19-25JUN92-5/6


9. If dimension (E) in step 8 is not at least 75 mm (3 in.), proceed as follows:

Shorten tractor lift links (A) to shortest length. See your tractor operator's manual.

NOTE: When using planter with 4430, 4440 or 4450 Tractors, attach center link (B) in lower position. See your copy of the tractor operator's manual.

Lower rear of planter to ground with lift-assist wheels.

Lower front of planter to ground with rockshaft control lever.

Loosen axle collars (C) and position axles (D) UPWARD. Retighten collars.

Raise planter as explained in step 5 through 7. Check dimension (E) on pivoting center mast. Readjust as necessary.

10. Lower planter as follows:

Lower REAR of planter with lift-assist wheels.

Lower FRONT of planter with tractor rockshaft control lever.

IMPORTANT: If planter has been driven rearward in the raised position, be certain to drive forward to allow lift-assist wheels to pivot rearward before lowering planter.

Help prevent damage to planting unit seed tubes or seed openers by lowering planter only when moving forward.


A-Lift Links
B-Center Link
C-Collars
D-Axles

A34521
A36824

7300VFOM,TR,F -19-25JUN92-6/6