Pivoting Center Mast-1710

IMPORTANT: The pivoting center mast must only be used under ALL of the following conditions:

A tractor equipped with a Quick-Coupler.

A planter equipped with lift-assist wheels.

A planter with the drive-gauge wheels mounted to rear of the main frame.

When using pivoting center mast with Category 2 Hitch with Quick-Coupler, use as shown.

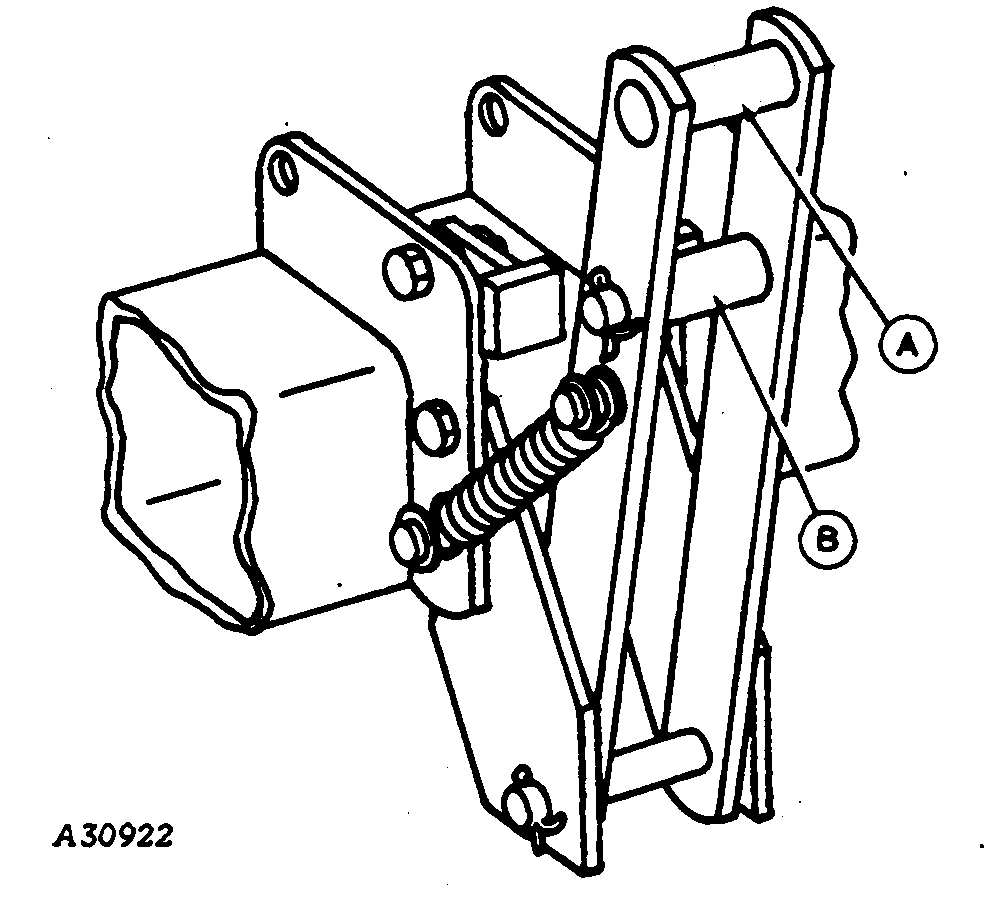
To use pivoting center mast with Category 3 or 3N Quick-Coupler, remove cotter pin, drilled pin and spacer as shown.

See your tractor operator's manual for instructions on connecting the tractor Quick-Coupler to the planter hitch pins.

Secure hitch pins with cotter pins and Quick-Lock pins.


A-Bolt and Spacer
B-Drilled Pin, Spacer and Cotter Pin

A30922
A30923

OM62502,15D -19-08MAY98-1/1