Rigid Mast Pin (Integral) (1720 8-Row Wide, 12-Row Narrow and 16 Row Narrow)

IMPORTANT: Center mast pin on a 16-Row Narrow is a high strength pin. If pin must be replaced, see your John Deere Dealer to obtain proper replacement pin.

causym CAUTION: Failure to remove mast pin while operating with lift assist wheels may result in lift assist wheel and/or frame failure.

A quick-coupler is required when planter is equipped with lift assist wheels. The quick-coupler will function the same as a pivoting center mast when pin is removed.

A35687

8-Row Wide and 12-Row Narrow

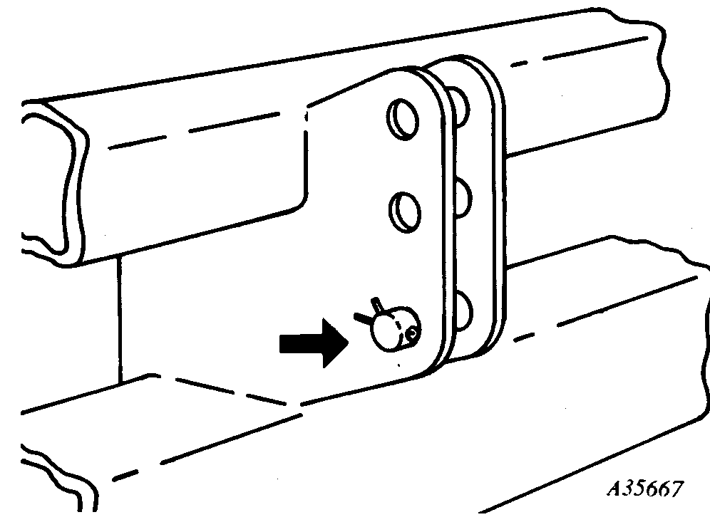
STACKOM,AD,N -19-11MAY94-1/3


Pin positioned for Category 2 with Quick-Coupler.

A35667

STACKOM,AD,N -19-11MAY94-2/3


Pin positioned for Category 3 and 3N with Quick-Coupler or Category 3N/2 Hitch without Quick-Coupler.

A35668

STACKOM,AD,N -19-11MAY94-3/3